TOP
|
特許
|
意匠
|
商標
特許ウォッチ
Twitter
他の特許を見る
10個以上の画像は省略されています。
公開番号
2025138271
公報種別
公開特許公報(A)
公開日
2025-09-25
出願番号
2024037269
出願日
2024-03-11
発明の名称
センサ素子及びその製造方法並びにセンサアレイ
出願人
株式会社リコー
代理人
個人
,
個人
主分類
G01N
27/414 20060101AFI20250917BHJP(測定;試験)
要約
【課題】センサ特性を向上させることが可能なセンサ素子を提供する。
【解決手段】センサ素子は、基材11と、前記基材11上に設けられたチャネル層14と、前記基材11上に設けられ、前記チャネル層14に電気的に接続する第1電極16と、前記基材11上に設けられ、前記チャネル層14に電気的に接続する第2電極18と、前記基材11上に設けられたゲート電極24と、前記チャネル層14上に設けられ、標的物質を捕捉可能な受容層26と、前記基材11上において、前記チャネル層14と前記ゲート電極24とを仕切る仕切り部30と、を備える。
【選択図】図1
特許請求の範囲
【請求項1】
基材と、
前記基材上に設けられたチャネル層と、
前記基材上に設けられ、前記チャネル層に電気的に接続する第1電極と、
前記基材上に設けられ、前記チャネル層に電気的に接続する第2電極と、
前記基材上に設けられたゲート電極と、
前記チャネル層上に設けられ、標的物質を捕捉可能な受容層と、
前記基材上において、前記チャネル層と前記ゲート電極とを仕切る仕切り部と、
を備える、センサ素子。
続きを表示(約 1,400 文字)
【請求項2】
前記基材上において、前記チャネル層及び前記ゲート電極を囲むダム部を備え、
前記仕切り部と前記ダム部とは、前記基材の厚さ方向から見て、前記チャネル層を含む領域と前記ゲート電極を含む領域とを形成し、
前記仕切り部の少なくとも一部の高さは前記ダム部の高さより低い、
請求項1に記載のセンサ素子。
【請求項3】
前記ダム部内において、前記仕切り部により仕切られた前記チャネル層を含む空間と前記ゲート電極を含む空間とを遮断可能な遮断部を備える、請求項2に記載のセンサ素子。
【請求項4】
前記仕切り部の少なくとも一部を開閉可能な開閉部を備える、請求項2に記載のセンサ素子。
【請求項5】
請求項1に記載のセンサ素子を複数備える、センサアレイ。
【請求項6】
前記基材上に設けられ、前記複数のセンサ素子を囲み、前記仕切り部の高さより高い高さを有するダム部を備え、
前記複数のセンサ素子のチャネル層のうち同じ種類の受容層を有する少なくとも2つのチャネル層の間は、仕切り部により仕切られていない、
請求項5に記載のセンサアレイ。
【請求項7】
前記基材上に設けられ、前記複数のセンサ素子を囲み、前記仕切り部の高さより高い高さを有するダム部と、
前記基材上に設けられ、前記仕切り部の高さより高くかつ前記ダム部の高さより低い高さを有する第2仕切り部と、
を備え、
前記複数のセンサ素子は、第1センサ素子と、前記第1センサ素子と異なる種類の受容層を有する第2センサ素子と、を含み、
前記第2仕切り部は、前記第1センサ素子のチャネル層及びゲート電極と、前記第2センサ素子のチャネル層及びゲート電極と、を仕切る、
請求項5に記載のセンサアレイ。
【請求項8】
前記基材上に設けられ、前記複数のセンサ素子を囲み、前記仕切り部の高さより高い高さを有するダム部と、
前記基材上に設けられ、前記仕切り部の高さより高い高さを有する第2仕切り部と、
を備え、
前記複数のセンサ素子は、第1センサ素子と、前記第1センサ素子と同じ種類の受容層を有する第2センサ素子と、を含み、
前記第2仕切り部は、前記第1センサ素子のチャネル層と前記第2センサ素子のチャネル層とを仕切る、
請求項5に記載のセンサアレイ。
【請求項9】
前記複数のセンサ素子のうち少なくとも2つのセンサ素子における前記ゲート電極は共通に設けられている、請求項5から8のいずれか一項に記載のセンサアレイ。
【請求項10】
基材と、前記基材上に設けられたチャネル層と、前記基材上に設けられ、前記チャネル層に電気的に接続する第1電極と、前記基材上に設けられ、前記チャネル層に電気的に接続する第2電極と、前記基材上に設けられたゲート電極と、を備えるトランジスタを準備する工程と、
前記チャネル層上に、標的物質を捕捉可能な受容層となる材料を含む溶液を接触させて、前記ゲート電極上に前記溶液を接触させずに、前記チャネル層上に前記受容層を形成す工程と、
を含む、センサ素子の製造方法。
(【請求項11】以降は省略されています)
発明の詳細な説明
【技術分野】
【0001】
本発明は、センサ素子及びその製造方法並びにセンサアレイに関する。
続きを表示(約 2,500 文字)
【背景技術】
【0002】
バイオセンサなどに用いられるセンサ素子として、グラフェンなどの原子層状のチャネル層を有する電界効果トランジスタ(FET:Field Effect Transistor)が知られている。
【0003】
センサ素子では、標的物質が、チャネル層上に設けられた受容層に補足されると、チャネル層の電位が変化する。そこで、チャネル層を流れる電流に基づき、標的物質の検出が可能となる。チャネル層に電気的に接続された電極下に凹凸を設けることが知られている(例えば特許文献1)。
【発明の概要】
【発明が解決しようとする課題】
【0004】
受容層をチャネル層上に形成するときに、ゲート電極の表面に受容層の材料の一部が付着すると、チャネル層のゲート電位が不均一になることがある。また、繰り返しの測定においてセンサ特性が劣化する、または、センサ特性が経時的に変化することがある。このように、センサ特性が劣化する。
【0005】
本開示は、センサ特性を向上させることが可能なセンサ素子及びその製造方法並びにセンサアレイを提供することを目的とする。
【課題を解決するための手段】
【0006】
本開示の実施形態によれば、センサ素子は、基材と、前記基材上に設けられたチャネル層と、前記基材上に設けられ、前記チャネル層に電気的に接続する第1電極と、前記基材上に設けられ、前記チャネル層に電気的に接続する第2電極と、前記基材上に設けられたゲート電極と、前記チャネル層上に設けられ、標的物質を捕捉可能な受容層と、前記基材上において、前記チャネル層と前記ゲート電極とを仕切る仕切り部と、を備える。
【0007】
本開示の実施形態によれば、センサ素子の製造方法は、基材と、前記基材上に設けられたチャネル層と、前記基材上に設けられ、前記チャネル層に電気的に接続する第1電極と、前記基材上に設けられ、前記チャネル層に電気的に接続する第2電極と、前記基材上に設けられたゲート電極と、を備えるトランジスタを準備する工程と、前記チャネル層上に、標的物質を捕捉可能な受容層となる材料を含む溶液を接触させて、前記ゲート電極上に前記溶液を接触させずに、前記チャネル層上に前記受容層を形成す工程と、を含む。
【発明の効果】
【0008】
本開示によれば、センサ特性を向上させることが可能なセンサ素子及びその製造方法並びにセンサアレイを提供することができる。
【図面の簡単な説明】
【0009】
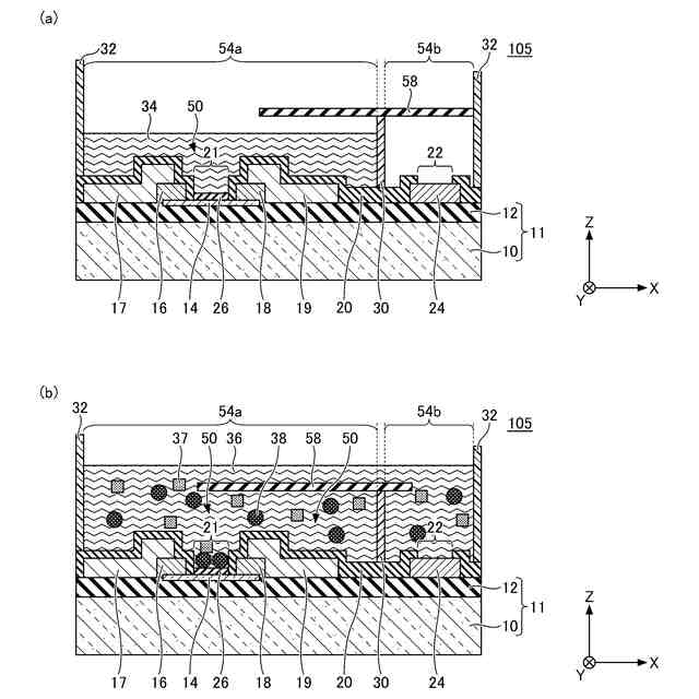
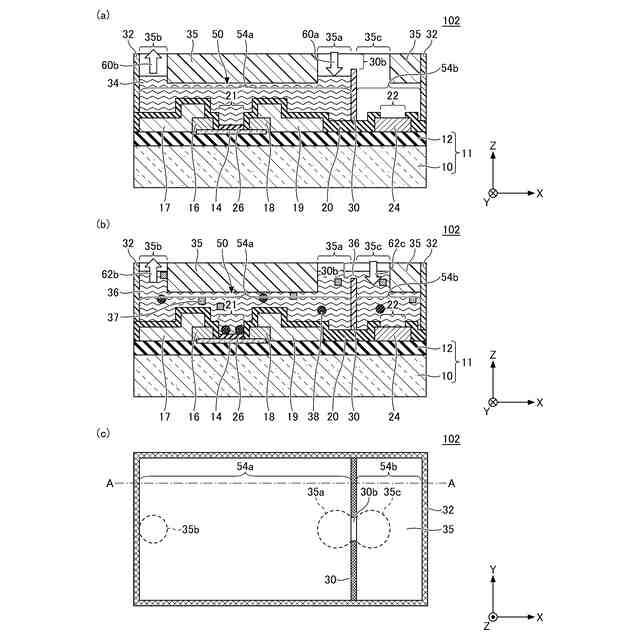
図1(a)は、本発明の第1実施形態に係るセンサ素子の製造工程を示す断面図、図1(b)は、本発明の第1実施形態に係るセンサ素子の使用状態を示す断面図、図1(c)は、本発明の第1実施形態に係るセンサ素子の平面図である。
図2は、本発明の第1実施形態に係るセンサ素子の製造方法及び使用方法を示すフローチャートである。
図3は、本発明の第1実施形態の変形例1に係るセンサ素子の断面図である。
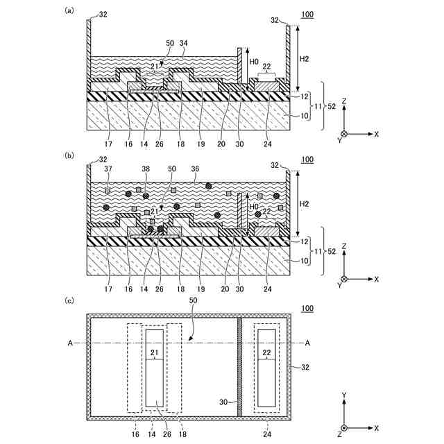
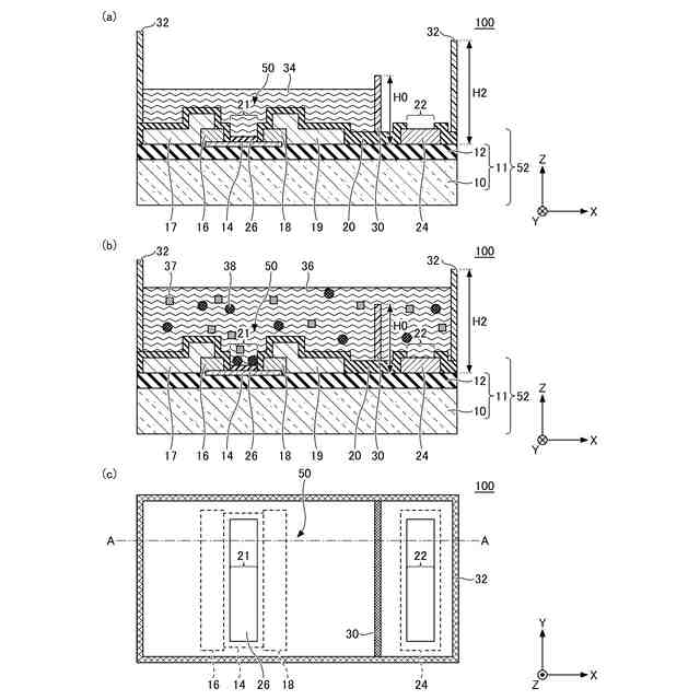
図4(a)は、本発明の第1実施形態の変形例2に係るセンサ素子の製造工程を示す断面図、図4(b)は、本発明の第1実施形態の変形例2に係るセンサ素子の使用状態を示す断面図、図4(c)は、本発明の第1実施形態の変形例2に係るセンサ素子の平面図である。
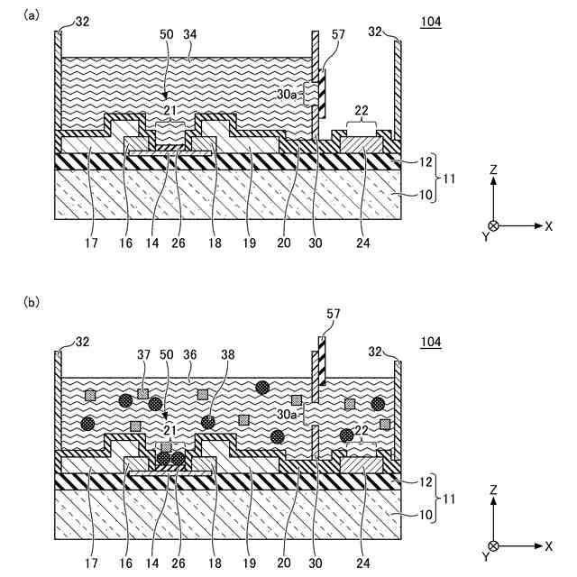
図5(a)は、本発明の第1実施形態の変形例3に係るセンサ素子の製造工程を示す断面図、図5(b)は、本発明の第1実施形態の変形例3に係るセンサ素子の使用状態を示す断面図である。
図6(a)は、本発明の第1実施形態の変形例4に係るセンサ素子の製造工程を示す断面図、図6(b)は、本発明の第1実施形態の変形例4に係るセンサ素子の使用状態を示す断面図である。
図7(a)は、本発明の第1実施形態の変形例5に係るセンサ素子の製造工程を示す断面図、図7(b)は、本発明の第1実施形態の変形例5に係るセンサ素子の使用状態を示す断面図である。
図8(a)は、本発明の第2実施形態に係るセンサ素子の使用状態を示す断面図、図8(b)は、本発明の第2実施形態に係るセンサ素子の製造方法を示す断面図である。
図9は、本発明の第2実施形態に係るセンサ素子の製造方法及び使用方法を示すフローチャートである。
図10(a)は、本発明の第2実施形態の変形例1に係るセンサ素子の製造方法を示す断面図、図10(b)は、本発明の第2実施形態の変形例1における使用状態を示す断面図である。
図11(a)は、本発明の第2実施形態の変形例2に係るセンサ素子の製造工程を示す断面図である。図11(b)は、本発明の第2実施形態の変形例3に係るセンサ素子の製造工程を示す断面図である。
図12(a)は、本発明の第3実施形態に係るセンサアレイの製造工程を示す断面図、図12(b)は、本発明の第3実施形態に係るセンサアレイの使用状態を示す断面図である。
図13は、本発明の第3実施形態の変形例1に係るセンサアレイを示す平面図である。
図14は、本発明の第3実施形態の変形例2に係るセンサアレイを示す平面図である。
図15は、本発明の第3実施形態の変形例3に係るセンサアレイを示す平面図である。
図16は、本発明の第3実施形態の変形例4に係るセンサアレイを示す平面図である。
図17は、本発明の第3実施形態の変形例5に係るセンサアレイを示す平面図である。
【発明を実施するための形態】
【0010】
以下、図面を参照して本発明を実施するための形態について詳細に説明する。下記の実施形態は、発明の技術思想を具体化するための例示であり、本発明を記載された構成や数値に限定するものではない。なお、各図面において、同一構成部分には同一符号を付し、重複した説明を適宜省略する場合がある。各図面が示す各部材の大きさ、位置関係等は、発明の理解を容易にするために誇張して描かれている場合がある。
(【0011】以降は省略されています)
この特許をJ-PlatPat(特許庁公式サイト)で参照する
関連特許
株式会社リコー
綴じ装置
1か月前
株式会社リコー
画像形成装置
6日前
株式会社リコー
映像表示装置
27日前
株式会社リコー
感熱記録媒体
3日前
株式会社リコー
印刷システム
6日前
株式会社リコー
画像形成装置
6日前
株式会社リコー
画像形成装置
2日前
株式会社リコー
画像形成装置
6日前
株式会社リコー
液体塗布装置
10日前
株式会社リコー
画像形成装置
9日前
株式会社リコー
画像形成装置
25日前
株式会社リコー
画像形成装置
24日前
株式会社リコー
画像形成装置
17日前
株式会社リコー
生体情報測定装置
3日前
株式会社リコー
拡張アンテナ装置
9日前
株式会社リコー
画像形成システム
2日前
株式会社リコー
画像投射システム
17日前
株式会社リコー
印刷応答補償機構
10日前
株式会社リコー
投薬管理システム
25日前
株式会社リコー
情報処理システム
27日前
株式会社リコー
マーキングシステム
9日前
株式会社リコー
液体を吐出する装置
3日前
株式会社リコー
電極及びその製造方法
6日前
株式会社リコー
電極及びその製造方法
4日前
株式会社リコー
測定装置および測定方法
26日前
株式会社リコー
測定装置および測定方法
26日前
株式会社リコー
測定装置および測定方法
26日前
株式会社リコー
多孔質構造体の製造方法
6日前
株式会社リコー
定着装置及び画像形成装置
10日前
株式会社リコー
定着装置及び画像形成装置
16日前
株式会社リコー
センサ素子及びセンサアレイ
16日前
株式会社リコー
センサ素子及びセンサアレイ
16日前
株式会社リコー
パルスバルブおよび塗布装置
6日前
株式会社リコー
樹脂粒子およびその製造方法
25日前
株式会社リコー
液体塗布装置および洗浄方法
6日前
株式会社リコー
塗装システム、及び塗装方法
6日前
続きを見る
他の特許を見る