TOP
|
特許
|
意匠
|
商標
特許ウォッチ
Twitter
他の特許を見る
10個以上の画像は省略されています。
公開番号
2025137492
公報種別
公開特許公報(A)
公開日
2025-09-19
出願番号
2025036664
出願日
2025-03-07
発明の名称
ファン装置、空調用室外機及び給湯ヒートポンプ用室外機
出願人
学校法人日本大学
,
国立大学法人 東京大学
代理人
個人
,
個人
,
個人
主分類
F04D
29/54 20060101AFI20250911BHJP(液体用容積形機械;液体または圧縮性流体用ポンプ)
要約
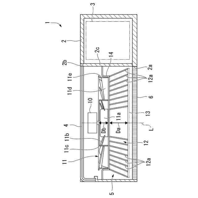
【課題】軸流ファンの下流側に通風抵抗となる部材が配置された場合の通風抵抗の増加を抑制すると共に高効率化を実現可能とする。
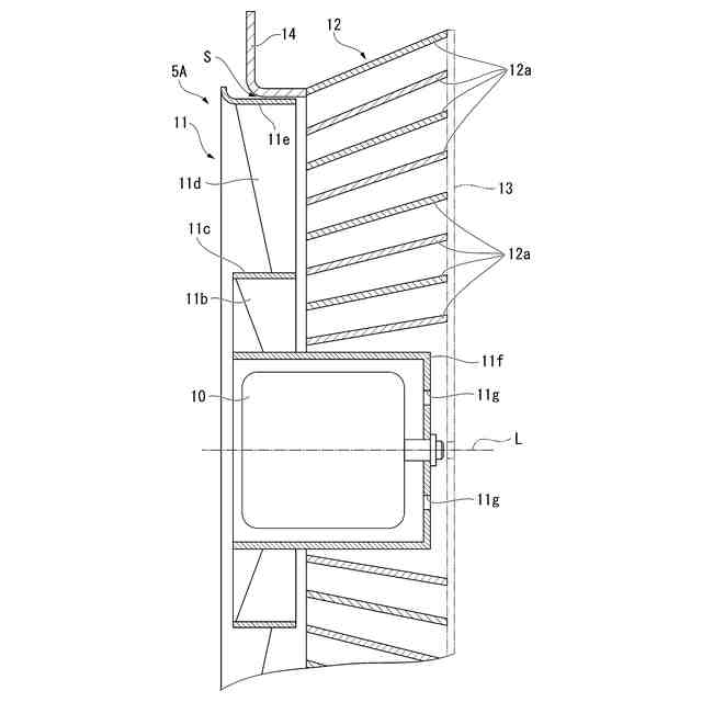
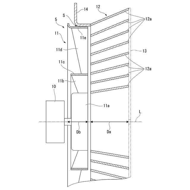
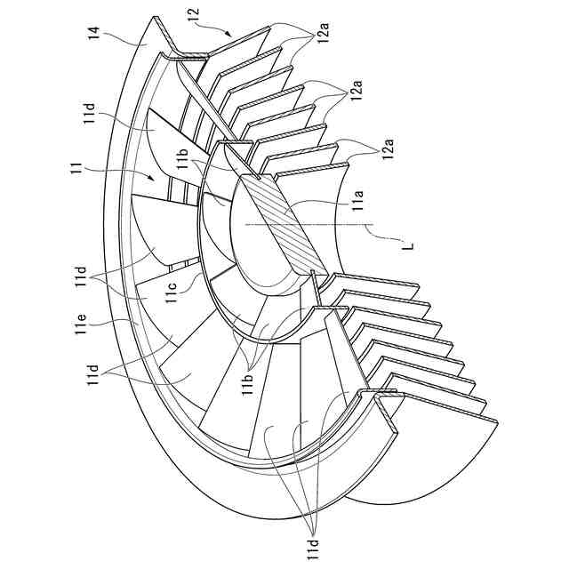
【解決手段】ファン装置5であって、軸流ファン11と、軸流ファン11の下流側に位置するディフューザ12とを備え、ディフューザ12が、互いに隙間を空けて同芯状に配置される複数の環状板12aを有し、各々の環状板12aは、上流側から下流側に向かうに連れて径方向外側に広がる切断錐形状に形成されている。
【選択図】図2
特許請求の範囲
【請求項1】
軸流ファンと、
前記軸流ファンの下流側に位置するディフューザと
を備え、
前記ディフューザは、
互いに隙間を空けて同芯状に配置される複数の環状板を有し、
各々の環状板は、上流側から下流側に向かうに連れて径方向外側に広がる切断錐形状に形成されており、
前記軸流ファンの回転軸芯に沿った方向である軸方向にて、
前記ディフューザの厚み寸法は、前記軸流ファンの厚み寸法よりも大きい
ことを特徴とするファン装置。
続きを表示(約 940 文字)
【請求項2】
前記軸流ファンは、
複数の羽根と、
複数の前記羽根の翼端同士を接続するファンリングと
を有することを特徴とする請求項1記載のファン装置。
【請求項3】
前記軸流ファンを径方向外側から囲うマウスリングを備え、
前記軸流ファンの回転軸芯に沿った方向である軸方向にて、前記ファンリングと前記マウスリングとの少なくとも一部が重ねて配置されている
ことを特徴とする請求項2記載のファン装置。
【請求項4】
前記軸流ファンは、
翼端が前記ファンリングに固定される前記羽根である外側羽根と、
前記外側羽根よりも径方向内側に配置される前記羽根である内側羽根と
を有し、
前記内側羽根は、前記外側羽根よりも数が少ない
ことを特徴とする請求項2記載のファン装置。
【請求項5】
前記軸流ファンを回転させるモータを備え、
前記軸流ファンは、前記羽根よりも前記下流側に突出する中空のボスを有し、
前記モータは、前記ボスに収容されている
ことを特徴とする請求項2記載のファン装置。
【請求項6】
前記環状板の下流端形状は、円形または四角形であることを特徴とする請求項1~5のいずれか一項に記載のファン装置。
【請求項7】
複数の前記環状板同士を接続する接続構造部材を有し、
前記接続構造部材は、静圧回収可能な翼形状に形成されている
ことを特徴とする請求項1~5のいずれか一項に記載のファン装置。
【請求項8】
前記ディフューザをファンガードとして用いる、
ことを特徴とする請求項1~5のいずれか一項に記載のファン装置。
【請求項9】
空調用室外機であって、
請求項1~5のいずれか一項に記載のファン装置を備える
ことを特徴とする空調用室外機。
【請求項10】
給湯ヒートポンプ用室外機であって、
請求項1~5のいずれか一項に記載のファン装置を備える
ことを特徴とする給湯ヒートポンプ用室外機。
発明の詳細な説明
【技術分野】
【0001】
本発明は、ファン装置、空調用室外機及び給湯ヒートポンプ用室外機に関するものである。
続きを表示(約 1,300 文字)
【背景技術】
【0002】
例えば、特許文献1には、空気調和機の室外機が開示されている。特許文献1に開示された室外機は、本体内に熱交換室と機械室とを有する。また、熱交換室には、熱交換器と、軸流ファンと、ファンモータと、ベルマウスとが設けられている。さらに、特許文献1に開示された室外機は、ベルマウスの吹出口側に位置する通気グリルを備える。
【先行技術文献】
【特許文献】
【0003】
特開平7-91687号公報
【発明の概要】
【発明が解決しようとする課題】
【0004】
特許文献1に開示されているように、室外機では、モータの軸方向(室外機の前後方向)に大きな軸流ファンが用いられている。これは、先行翼からの剥離渦が後行翼に干渉することを防ぐために、翼間の物理的な距離を離せるように翼枚数を減らし、この結果、それぞれの翼弦長が長くなったためである。ところが、このような翼弦長が長い軸流ファンは、翼端部に沿って流れる流線が長くなり、翼端からの漏れ流れ(すなわち外周部での速度欠損)が大きくなり、効率が悪い。また、軸流ファンの下流に位置するファンガードは、一般的に開口率が80%程度であり、室外機全体の通風抵抗の20~30%を占めている。このようなファンガードは、室外機の大風量化の妨げとなっている。
【0005】
本発明は、上述する問題点に鑑みてなされたもので、軸流ファンの下流側に通風抵抗となる部材が配置された場合の通風抵抗の増加を抑制すると共に高効率化を実現可能とすることを目的とする。
【課題を解決するための手段】
【0006】
本発明は、上記課題を解決するための手段として、以下の構成を採用する。
【0007】
本発明の第1の態様は、ファン装置であって、軸流ファンと、上記軸流ファンの下流側に位置するディフューザとを備え、上記ディフューザが、互いに隙間を空けて同芯状に配置される複数の環状板を有し、各々の環状板が、上流側から下流側に向かうに連れて径方向外側に広がる切断錐形状に形成されているという構成を採用する。
【0008】
本発明の第2の態様は、上記第1の態様において、上記軸流ファンの回転軸芯に沿った方向である軸方向にて、上記ディフューザの厚み寸法が、上記軸流ファンの厚み寸法よりも大きいという構成を採用する。
【0009】
本発明の第3の態様は、上記第1または第2の態様において、上記軸流ファンが、複数の羽根と、複数の上記羽根の翼端同士を接続するファンリングとを有するという構成を採用する。
【0010】
本発明の第4の態様は、上記第3の態様において、上記軸流ファンを径方向外側から囲うマウスリングを備え、上記軸流ファンの回転軸芯に沿った方向である軸方向にて、上記ファンリングと上記マウスリングとの少なくとも一部が重ねて配置されているという構成を採用する。
(【0011】以降は省略されています)
この特許をJ-PlatPat(特許庁公式サイト)で参照する
関連特許
学校法人日本大学
制振装置
2日前
学校法人日本大学
栽培システム
25日前
学校法人日本大学
骨固定プレート
2か月前
学校法人日本大学
超音波投射装置
6か月前
学校法人日本大学
睡眠時呼吸改善装置
1か月前
学校法人日本大学
骨補填材及び補綴材料
1か月前
株式会社ホタルクス
履物
2か月前
株式会社山本工作所
粒子凝集促進装置及び集塵機
6か月前
学校法人日本大学
ファン装置、空調用室外機及び給湯ヒートポンプ用室外機
2か月前
学校法人日本大学
摂食嚥下障害改善支援システムおよび摂食嚥下障害改善支援方法
4か月前
三菱電機株式会社
超音速飛翔環境模擬装置および超音速飛翔環境模擬方法
1か月前
日鉄エンジニアリング株式会社
床版劣化検出方法、及び床版劣化検出装置
7か月前
国立大学法人広島大学
AIによる事象クラスの判別方法及び判別システム
5か月前
個人
海流製造装置。
2か月前
株式会社スギノマシン
圧縮機
1か月前
株式会社ツインバード
送風装置
2か月前
株式会社ツインバード
送風装置
2か月前
カヤバ株式会社
電動ポンプ
3か月前
カヤバ株式会社
電動ポンプ
23日前
日機装株式会社
遠心ポンプ
1か月前
ビッグボーン株式会社
送風装置
3か月前
株式会社不二越
蓄圧装置
4か月前
株式会社酉島製作所
ポンプ
5か月前
株式会社ノーリツ
ロータリ圧縮機
2か月前
サンデン株式会社
スクロール圧縮機
1か月前
株式会社ノーリツ
ロータリー圧縮機
5か月前
小倉クラッチ株式会社
ルーツブロア
4か月前
樫山工業株式会社
真空ポンプ
1か月前
サンデン株式会社
スクロール圧縮機
1か月前
サンデン株式会社
可変容量型圧縮機
1か月前
株式会社坂製作所
スクロール圧縮機
5か月前
サンデン株式会社
スクロール圧縮機
1か月前
株式会社不二越
ベーンポンプ
4か月前
株式会社チロル
送風機、送風機付衣服
3か月前
株式会社クボタ
作業機
24日前
株式会社島津製作所
真空ポンプ
3か月前
続きを見る
他の特許を見る