TOP
|
特許
|
意匠
|
商標
特許ウォッチ
Twitter
他の特許を見る
10個以上の画像は省略されています。
公開番号
2025137479
公報種別
公開特許公報(A)
公開日
2025-09-19
出願番号
2025035573
出願日
2025-03-06
発明の名称
分析サンプル容器の分類
出願人
ロッシュ ダイアグノスティクス インターナショナル アクチェンゲゼルシャフト
代理人
弁理士法人朝日奈特許事務所
主分類
G01N
35/02 20060101AFI20250911BHJP(測定;試験)
要約
【課題】サンプル容器に付与された視覚的識別子の欠陥または問題について分析システムに受け入れる前に評価する。
【解決手段】サンプル容器(1)に関連付けられた視覚的識別子(3A)のデジタル表現を取得することと、前記サンプル容器(1)を使用して少なくとも1つの分析検査を実行するように意図された分析システムに含まれ、光学識別子リーダを備えている少なくとも1つの装置を識別することと、前記光学識別子リーダについて、前記サンプル容器(1)に関連付けられた前記視覚的識別子(3A)を復号する能力を特徴付けることによって、前記視覚的識別子(3A)が関連付けられた前記サンプル容器(1)を分類することにより、前記視覚的識別子(3A)が関連付けられた前記サンプル容器(1)を特徴付ける対応する分類結果を生成することと、前記分類結果を定義するメッセージを出力することと、を含む、コンピュータ実装方法。
【選択図】図1
特許請求の範囲
【請求項1】
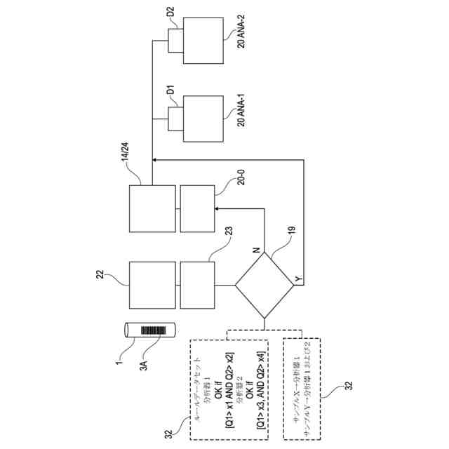
分析サンプル容器の分類のためのコンピュータ実装方法(80)であって、
サンプル容器(1)に関連付けられた視覚的識別子(3A)のデジタル表現を取得すること(82)と、
前記サンプル容器(1)を使用して少なくとも1つの分析検査を実行するように意図された分析システム(20)に含まれ、光学識別子リーダを備えている少なくとも1つの装置(20PRE-1)を識別すること(84)と、
前記分析システム(20)に含まれる前記少なくとも1つの装置(20PRE-1)の前記光学識別子リーダおよび/またはカメラについて、前記サンプル容器(1)に関連付けられた前記視覚的識別子(3A)を復号する能力を特徴付けることによって、前記視覚的識別子(3A)が関連付けられた前記サンプル容器(1)を分類することにより、前記視覚的識別子(3A)が関連付けられた前記サンプル容器(1)を特徴付ける対応する分類結果を生成すること(86)と、
前記分類結果を定義するメッセージを出力すること(88)と
を含む、コンピュータ実装方法(80)。
続きを表示(約 3,800 文字)
【請求項2】
前記分析システム(20)に含まれる前記少なくとも1つの装置(20PRE-1)の前記光学識別子リーダおよび/またはカメラについて、少なくとも1つの視覚的識別子(3A)を復号するための前記少なくとも1つの装置(20PRE-1)の前記光学識別子リーダの少なくとも1つの態様を特徴付ける能力定義(32)を取得すること
をさらに含み、
前記視覚的識別子(3A)を分類することは、前記少なくとも1つの装置(20PRE-1)の前記光学識別子リーダの前記能力定義(32)を、前記サンプル容器(1)に関連付けられた前記視覚的識別子(3A)の前記デジタル表現と比較することを含む、請求項1に記載のコンピュータ実装方法(80)。
【請求項3】
前記分析システム(20)に含まれる前記少なくとも1つの装置(20PRE-1)を識別することは、
前記サンプル容器(1)を使用して分析システム(20)によって実行される少なくとも1つの分析検査および/または前記分析システム(20)内の前記サンプル容器(1)の少なくとも1つの移送アクションの第1の識別子を含むオーダデータを取得することをさらに含み、前記オーダデータは、任意に、前記少なくとも1つの分析検査を実行するために使用される特定の分析システム(20)を識別するための第2の識別子を含む、請求項1または2に記載のコンピュータ実装方法(80)。
【請求項4】
前記サンプル容器(1)および/または前記サンプル容器(1)に関連付けられた視覚的識別子(3A)が、前記少なくとも1つの装置(20PRE-1)の否定的な分類結果で分類される場合に、
前記サンプル容器(1)に関連付けられた前記視覚的識別子(3A)が前記少なくとも1つの装置(20PRE-1)に関して否定的な分類を受けた旨を定義するメッセージを出力すること、および/または
前記少なくとも1つの分析システム(20)に関連する検査室情報システムに、前記少なくとも1つの分析システム(20)に含まれる前記少なくとも1つの装置(20PRE-1)に関して否定的な分類を受けた前記視覚的識別子(3A)を備えるサンプル容器(1)の識別コードを含むメッセージを出力すること
をさらに含む、請求項1~3のいずれか一項に記載のコンピュータ実装方法(80)。
【請求項5】
前記少なくとも1つの分析システム(20)は、前記オーダデータ(34)の前記第1の識別子によって識別される前記分析検査によって定められた所定のシーケンスで前記少なくとも1つの分析検査を実行するために使用される一式の装置を備え、
前記オーダデータ(34)によって定められた前記一式の装置の各装置(20PRE-1)にそれぞれ対応する複数の能力定義(32)を、前記視覚的識別子(3A)の前記デジタル表現と比較することと、
前記サンプル容器(1)に関連付けられた前記視覚的識別子(3A)が、前記一式の装置に含まれる少なくとも1つの装置(20PRE-1)の前記能力定義(32)を満たさない場合に、
前記サンプル容器(1)に関連付けられた前記視覚的識別子(3A)が前記一式の装置に含まれる前記少なくとも1つの装置(20PRE-1)に関して否定的な分類を受けた旨を定義するメッセージを出力することであって、前記メッセージは、任意に、前記一式の装置に含まれる、前記否定的な分類を生じさせた各装置(20PRE-1)を特定する、メッセージを出力することと
をさらに含む、請求項3または4に記載のコンピュータ実装方法(80)。
【請求項6】
前記第2の識別子によって識別される前記少なくとも1つの分析システム(20)は、前記第1の識別子によって識別される前記分析検査によって定められた所定のシーケンスで前記少なくとも1つの分析検査を実行するために使用される一式の装置を備え、
前記一式の装置の各装置(20PRE-1)にそれぞれ対応する複数の能力定義(32)を、前記視覚的識別子(3A)の前記デジタル表現と比較することと、
前記サンプル容器(1)に関連付けられた前記視覚的識別子(3A)が、前記一式の装置に含まれる少なくとも1つの装置(20PRE-1)の光学能力定義(32)を満たさない場合に、
前記第2の識別子によって識別される前記少なくとも1つの分析システム(20)において、代替装置(20PRE-2)による前記視覚的識別子(3A)の読み取りを可能にする光学能力定義(32)を有する前記代替装置(20PRE-2)を識別することと、
前記少なくとも1つの分析システム(20)の前記代替装置(20PRE-2)を使用して、前記第1の識別子によって定められた前記サンプル容器(1)を使用して実行される前記少なくとも1つの分析検査を実行することと
をさらに含む、請求項3~5のいずれか一項に記載のコンピュータ実装方法(80)。
【請求項7】
前記分析システム(20)の前記少なくとも1つの装置(20PRE-1)が前記サンプル容器(1)に関連付けられた前記視覚的識別子(3A)を復号できない場合に、
前記少なくとも1つの装置の能力定義(32)と前記視覚的識別子(3A)の前記デジタル表現との比較に基づいて、ユーザアドバイスを生成すること、ならびに
ユーザ装置(150)のユーザインターフェース(151)によって前記ユーザアドバイスを表示すること、および/または
ラベルプリンタ(10Print、20Print)を使用して前記サンプル容器(1)に関連付けられた前記視覚的識別子(3A)を含むさらなるラベルを印刷すること
をさらに含む、請求項1~6のいずれか一項に記載のコンピュータ実装方法(80)。
【請求項8】
前記少なくとも1つの装置の前記能力定義(32)を前記視覚的識別子(3A)の前記デジタル表現と比較することは、
前記少なくとも1つの分析システム(20)に含まれる前記少なくとも1つの装置について、サンプル容器(1)に関連付けられた視覚的識別子(3A)が満足すべき、前記少なくとも1つの装置に関する前記能力定義(32)の少なくとも1つのルールを定めるルールセットを取得すること、および
サンプル容器(1)に関連付けられた前記視覚的識別子(3A)が前記ルールセットの前記ルールのすべてまたは所定のサブセットを満足する場合に、前記視覚的識別子(3A)が前記少なくとも1つの分析システム(20)に含まれる前記少なくとも1つの装置に適合することを示し、または、サンプル容器(1)に関連付けられた前記視覚的識別子(3A)が前記ルールセットの前記ルールのすべてまたは前記所定のサブセットを満足しない場合に、前記視覚的識別子(3A)が前記少なくとも1つの分析システム(20)に含まれる前記少なくとも1つの装置に適合しないことを示すこと
をさらに含む、請求項2~7のいずれか一項に記載のコンピュータ実装方法(80)。
【請求項9】
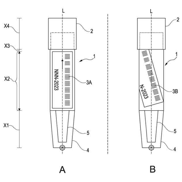
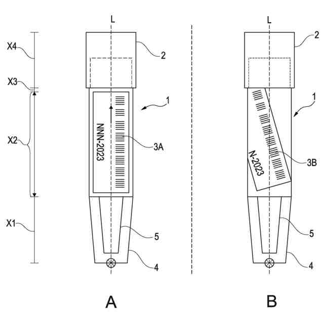
前記少なくとも1つの装置の前記光学識別子リーダの前記能力定義(32)は、サンプル容器の長手軸に対する前記視覚的識別子の許容可能な位置合わせのずれの範囲、前記視覚的識別子の許容可能な閉塞の範囲、前記視覚的識別子の許容可能な垂直方向および/もしくは水平方向の寸法の範囲、前記視覚的識別子の許容可能なぼやけもしくは解像度アーチファクトの範囲、前記視覚的識別子の許容可能なコントラストもしくは輝度比の範囲、ならびに/または前記視覚的識別子の許容可能なアーチファクトの範囲、の少なくとも1つまたは任意の組み合わせを特徴付け、さらには/あるいは
前記少なくとも1つの装置の前記光学識別子リーダの前記能力定義(32)は、バーコードエッジ判定メトリック、バーコード最低反射率メトリック、バーコード最小エッジコントラストメトリック、バーコードシンボルコントラストメトリック、バーコード変調グレード、バーコード欠陥グレード、および/またはバーコード可読性グレード、の少なくとも1つまたは任意の組み合わせをさらに特徴付ける、請求項2~8のいずれか一項に記載のコンピュータ実装方法(80)。
【請求項10】
対応する複数のサンプル容器に関連付けられた視覚的識別子(3A)の複数のデジタル表現を記憶することと、
それぞれのサンプル容器に関連付けられた視覚的識別子(3A)の記憶した各々のデジタル表現について、
前記第1の識別子による前記少なくとも1つの分析検査の実行に使用される、前記第2の識別子による前記少なくとも1つの分析システム(20)に含まれる少なくとも1つの装置の代替であって、代替装置は所定の光学能力定義(32)を有する、代替をモデル化することと、任意に、
否定的な分類を受ける視覚的識別子(3A)を備える1つまたは複数のサンプル容器の対応する識別子を出力することと
をさらに含む、請求項3~9のいずれか一項に記載のコンピュータ実装方法(80)。
(【請求項11】以降は省略されています)
発明の詳細な説明
【技術分野】
【0001】
本開示は、分析サンプル容器の分類のためのコンピュータ実装方法、ならびに視覚的識別子を備える分析サンプル容器の分類器を訓練するための関連のシステム、装置、コンピュータ実装方法、コンピュータプログラム要素、およびコンピュータプログラム製品に関する。
続きを表示(約 3,000 文字)
【背景技術】
【0002】
インビトロ診断(IVD)分析検査室は、多数の患者サンプルを分析することができる。各々のサンプルは、IVD検査室へと入る前に分析サンプル容器に単離される。サンプルは、潜在的に、例えば分子、イオン、タンパク質、代謝産物、病原体、などの少なくとも1つの関心の被検物質を含むことができる。典型的には、サンプルにおける1つまたは複数の被検物質の有無および/または濃度を検出することが、IVD検査のタスクの1つである。より一般的には、IVD検査は、サンプルの生物学的特性を明らかにすることを指すことができる。IVD検査は、サンプルについて少なくとも1つの分析検査を実施することを含むことができ、分析検査は、サンプルの生物学的特性に関する結論を引き出すことを可能にできる。分析検査は、例えば、サンプルへの試薬の添加、生じ得るサンプルと試薬との検出可能な反応、ならびに/あるいはこの反応の検出または非検出を含むことができる。反応の検出は、例えば、サンプル(または、サンプルを使用することによって得られた複合体)によって反射され、さらには/あるいはサンプル(または、サンプルを使用することによって得られた複合体)を透過した放射のスペクトルおよび/または強度など、サンプル(または、サンプル-試薬混合物などのサンプルを使用することによって得られた複合体)の物理的な値を測定することを含むことができる。
【0003】
IVD検査室は、複雑であり、各々の検査室の要件に基づいて注文設計されている。典型的なIVD検査室が1日に処理する分析サンプル容器の数は、数千または数万に及ぶこともある。したがって、分析サンプル容器の識別は、バーコードまたはQRコードなどの視覚的識別子をサンプル容器に取り付けるなどの自動化された手段を使用しない限り、効果的に実行することができない。バーコードおよびQRコードは、エラー訂正手段を有するが、依然として不適切な適用や輸送中の損傷を受けやすい。IVD検査室に入るサンプル容器の視覚的識別子が損傷していると、手作業でなければ対処することができないさまざまなエラーが発生する可能性がある。したがって、サンプル容器の識別の手法をさらに改善する余地がある。
【発明の概要】
【0004】
第1の態様によれば、分析サンプル容器の分類のためのコンピュータ実装方法が提供される。本方法は、
-サンプル容器に関連付けられた視覚的識別子のデジタル表現を取得することと、
-サンプル容器を使用して少なくとも1つの分析検査を実行するように意図された分析システムに含まれ、光学識別子リーダおよび/またはカメラを備えている少なくとも1つの装置を識別することと、
-分析システムに含まれる少なくとも1つの装置の光学識別子リーダおよび/またはカメラについて、サンプル容器に関連付けられた視覚的識別子を読み取る能力を特徴付けることによって、視覚的識別子が関連付けられたサンプル容器を分類することにより、視覚的識別子が関連付けられたサンプル容器を特徴付ける対応する分類結果を生成することと、
-分類結果を定義するメッセージを出力することと
を含む。
【0005】
効果は、視覚的識別子が関連付けられたサンプル容器を、サンプル容器を識別するために使用される視覚的識別子の欠陥または問題について、分析システムに受け入れる前に評価できることである。分析システムは、さまざまな分析設備を含んでもよく、サンプル容器に対してワークフローの一部としての検査を実行する前に、サンプル容器を識別する必要がある。視覚的識別子が損傷していたり、印刷が不良であったり、あるいはサンプル容器に不適切に適用されていたりする場合、分析システムに含まれる少なくとも1つの装置が、視覚的識別子を正しく復号することができないおそれがある。
【0006】
現状、サンプル容器が、関連の検査オーダを実行するために必要な分析システムに含まれる少なくとも1つの装置によって復号することができない視覚的識別子を有する場合、分析システムへのサンプル容器の受入によって著しい生産性の問題が生じる。現状、最良の場合のシナリオは、識別不可能なサンプル容器を分析システム内で保持ステーションへと経路変更し、そこで分析システムの熟練のオペレータがサンプル容器を人手で検査し、新しい視覚的識別子を提供することである。しかしながら、分析システムの搬送サブシステムにおいて識別不可能なサンプル容器の経路を変更するプロセスは、それ自体が、分析システムによって実行中の他のワークフローに非効率を引き起こす可能性がある。識別不可能なサンプル容器に関する検査がSTAT検査、すなわちきわめて緊急の検査である場合、経路変更された識別不可能なサンプル容器への対処に要した時間のために、STAT検査の結果が遅すぎて使用できない可能性がある。さらに、大規模なシステムは、損傷または識別不可能な視覚的識別子のために多くの非効率を招く可能性があり、識別不可能なサンプル容器に対処するために多数の追加のスタッフが必要となる。最悪の場合のシナリオでは、分析システム内の分析装置に識別不可能なサンプル容器が存在すると、識別不可能なサンプル容器を取り除く間、分析システム全体を一時停止させる必要が生じるおそれがある。
【0007】
したがって、第1の態様による分析サンプル容器の分類を実行することにより、各々のサンプル容器に関連付けられた視覚的識別子を、サンプル容器が送られる分析システム内に含まれる1つまたは複数の分析装置の能力と、前もって比較することが可能になる。
【0008】
一例においては、欠陥のある視覚的識別子を、サンプル容器が患者から得られたサンプルで最初に満たされる収集場所で検出することができる。収集場所は、例えばGPまたは家庭環境および臨床現場などの遠方の環境を含む。これは、サンプル容器が分析システムを備える中央検査室へと送られる前に、臨床医または検査室の技師が視覚的識別子の問題を修正できることを意味する。例えば、携帯電話アプリケーションを使用して、視覚的識別子を備えるサンプル容器をスキャンすることができ、携帯電話アプリケーションは、例えば携帯電話機のカメラによって得られた視覚的識別子の視覚的分析に基づいて、選択された中央検査室が所望の検査オーダを処理できるかどうかに関するフィードバックを臨床医に提供することができる。
【0009】
一例においては、患者サンプルが取得される収集場所のラベルプリンタに欠陥があり、サンプル容器に関連付けられる視覚的識別子を、特定の検査オーダに必要な視覚的識別子へと生成することができない可能性がある。この場合、この事実を事前に発見することができ、分析システムを含む中央検査室に到着したときに再ラベリングを行うようにサンプル容器にマーキングすることができる。
【0010】
別の例では、欠陥のある視覚的識別子を、分析システムへのサンプルの受入時に検出することができる。例えば、サンプル容器に関連付けられた視覚的識別子が、診療所を出るときには良好な状態であるが、輸送中に損傷する可能性がある。
(【0011】以降は省略されています)
この特許をJ-PlatPat(特許庁公式サイト)で参照する
関連特許
個人
計量スプーン
25日前
個人
微小振動検出装置
1か月前
株式会社イシダ
X線検査装置
1か月前
日本精機株式会社
位置検出装置
3日前
日本精機株式会社
位置検出装置
3日前
日本精機株式会社
位置検出装置
3日前
大和製衡株式会社
組合せ秤
8日前
大和製衡株式会社
組合せ秤
8日前
アズビル株式会社
圧力センサ
2日前
エイブリック株式会社
磁気センサ回路
2日前
アンリツ株式会社
分光器
1か月前
ダイハツ工業株式会社
測定用具
29日前
アンリツ株式会社
分光器
1か月前
株式会社東芝
センサ
8日前
株式会社ユーシン
操作検出装置
5日前
トヨタ自動車株式会社
表示装置
17日前
株式会社東芝
センサ
8日前
トヨタ自動車株式会社
検査装置
5日前
株式会社東芝
センサ
1か月前
TDK株式会社
磁気センサ
25日前
個人
粘塑性を用いた有限要素法の定式化
17日前
TDK株式会社
ガスセンサ
2日前
TDK株式会社
ガスセンサ
1日前
株式会社東芝
重量測定装置
1日前
株式会社精工技研
光電圧プローブ
1か月前
東レエンジニアリング株式会社
計量装置
5日前
TDK株式会社
磁気センサ
1か月前
株式会社ナリス化粧品
角層細胞採取用具
15日前
株式会社ヨコオ
コンタクタ
29日前
三菱マテリアル株式会社
温度センサ
15日前
中国電力株式会社
異常箇所検出装置
16日前
TDK株式会社
磁気計測装置
16日前
富士電機株式会社
エンコーダ
2日前
大陽日酸株式会社
液面センサ
1か月前
成田空港給油施設株式会社
保持治具
16日前
国立大学法人京都大学
バイオセンサ
1か月前
続きを見る
他の特許を見る