TOP
|
特許
|
意匠
|
商標
特許ウォッチ
Twitter
他の特許を見る
10個以上の画像は省略されています。
公開番号
2025136798
公報種別
公開特許公報(A)
公開日
2025-09-19
出願番号
2024035652
出願日
2024-03-08
発明の名称
二次電池用充放電装置
出願人
株式会社北電子
,
株式会社ソフトエナジーコントロールズ
代理人
弁理士法人平和国際特許事務所
主分類
H01M
10/46 20060101AFI20250911BHJP(基本的電気素子)
要約
【課題】二次電池用充放電装置を構成する電源ユニットの電源ボードの着脱・組立を容易・迅速かつ安全に行え、メンテナンス等の作業性・安全性を大幅に向上させる。
【解決手段】検査対象となる複数の電池60を収容した電池容器50の上方に配置される電源ユニット1を備え、電源ユニット1により、電池60に対して充放電を実行可能な二次電池用充放電装置であって、電源ユニット1は、電池容器50内の各電池60に上方から接触して所定の充放電を実行する複数の電源ボード20と、複数の電源ボード20を、電池容器50内の各電池60に対応する所定位置に吊下げ状態で収容可能な電源ケース10と、複数の電源ボード20を、電源ケース10内に吊下げ状態で着脱可能にガイドするガイド手段30を備え、ガイド手段30により、複数の各電源ボード20が、電源ケース10内に吊下げ状態で、着脱可能かつ脱落不能に保持される構成としてある。
【選択図】図7
特許請求の範囲
【請求項1】
検査対象となる複数の二次電池を収容した電池容器の上方に配置される電源ユニットを備え、当該電源ユニットにより、前記二次電池に対して所定の充放電を実行可能な二次電池用充放電装置であって、
前記電源ユニットは、
前記電池容器内の各二次電池に上方から接触し、所定の充放電を実行する複数の電源ボードと、
前記複数の電源ボードを、前記電池容器内の各二次電池に対応する所定位置に吊下げ状態で収容可能な電源ケースと、
前記複数の電源ボードを、前記電源ケース内に吊下げ状態で着脱可能にガイドするガイド手段と、を備え、
前記ガイド手段により、前記複数の各電源ボードが、前記電源ケース内に吊下げ状態で、着脱可能かつ脱落不能に保持される
ことを特徴とする二次電池用充放電装置。
続きを表示(約 510 文字)
【請求項2】
前記ガイド手段が、
前記複数の各電源ボードの上縁側と、前記複数の各電源ボードに対応して前記電源ケースの内側に備えられる、互いに係合可能なら係合構造からなる
ことを特徴とする請求項1記載の二次電池用充放電装置。
【請求項3】
前記係合構造が、
前記複数の各電源ボードの、上縁側の長手方向に沿って延設された、当該電源ボードの両側に突出する突出部と、
前記電源ケースの内側天井面に備えられる、前記突出部が係合可能なレール部と、からなる
ことを特徴とする請求項2記載の二次電池用充放電装置。
【請求項4】
前記係合構造が、
前記複数の各電源ボードが、前記電源ケース内において、所定の位置で吊下げ状態に保持される位置決め手段を備える
ことを特徴とする請求項3に記載の二次電池用充放電装置。
【請求項5】
前記位置決め手段は、
前記複数の各電源ボードに備えられる、前記電源ケース内において、所定の位置で前記レール部に当接する凸部からなる
ことを特徴とする請求項4に記載の二次電池用充放電装置。
発明の詳細な説明
【技術分野】
【0001】
本発明は、例えばスマートフォン等のIT機器や電気自動車などに使用される二次電池の活性化や品質検査のための充放電を行う二次電池用充放電装置に関する。
続きを表示(約 2,400 文字)
【背景技術】
【0002】
今日において、スマートフォン等のIT機器や電気自動車などに使用される二次電池の需要が急速に増大している。
この種の二次電池の量産工場の最終工程では、生産された二次電池の活性化と品質検査のための充放電を行う充放電装置が広く用いられている。
このような充放電装置を用いることにより、それまで人力で行われていた二次電池の活性化と品質検査を機械化することが可能となり、二次電池の大量生産の実現に寄与している。
【0003】
ここで、上記のような充放電装置は、一般に、検査対象となる二次電池に対して、複数の二次電池に対応する複数の電源ボードを備える電源ユニットを介して、所定の充放電が行われるようになっている。
充放電装置の電源ユニットは、多数の二次電池に上方から接触して充放電を実行する複数の電源ボードが、筐体となる電源ケース内に収容され、電源ボードの底面側の接触ピンが、二次電池の上方から接触することで充放電検査が実行される。
【0004】
電源ケースの収容された複数の電源ボードは、充放電装置の製造・導入の際に電源ボードの内部空間に収納されるが、その後の使用状況や使用期間等に応じてメンテナンスが行われる場合には、電源ケース内から取り外されて必要な点検や修理等が行えるようになっている。
このような二次電池用充放電装置の電源ユニットに関する技術としては、例えば特許文献1に開示されている「コンタクト機能付きマルチチャンネル充放電電源」などが知られている。
【先行技術文献】
【特許文献】
【0005】
特許第6470804号公報
【発明の概要】
【発明が解決しようとする課題】
【0006】
このようなこれまでの二次電池用の充放電装置には、特に電源ユニットの電源ボードのメンテナンス等の際の着脱・組立の作業性において、改良の余地があった。
【0007】
本発明は、上記のような課題を解決するために提案されたものであり、二次電池用充放電装置を構成する電源ユニットの電源ボードの着脱・組立を容易・迅速かつ安全に行え、メンテナンス等の作業性・安全性を大幅に向上させることができる、特に検査対象となる二次電池に対して電源ボードの接触ピンを直接接触されることができる所謂ケーブルレス方式/フィクスチャ一体型等と呼ばれる電源ユニットに好適な二次電池用充放電装置を提供することを目的とする。
【課題を解決するための手段】
【0008】
上記目的を達成するため、本発明は、検査対象となる複数の二次電池を収容した電池容器の上方に配置される電源ユニットを備え、当該電源ユニットにより、前記二次電池に対して所定の充放電を実行可能な二次電池用充放電装置であって、前記電源ユニットは、前記電池容器内の各二次電池に上方から接触し、所定の充放電を実行する複数の電源ボードと、前記複数の電源ボードを、前記電池容器内の各二次電池に対応する所定位置に吊下げ状態で収容可能な電源ケースと、前記複数の電源ボードを、前記電源ケース内に吊下げ状態で着脱可能にガイドするガイド手段と、を備え、前記ガイド手段により、前記複数の各電源ボードが、前記電源ケース内に吊下げ状態で、着脱可能かつ脱落不能に保持される構成としてある。
【発明の効果】
【0009】
本発明に係る二次電池用充放電装置によれば、二次電池用充放電装置を構成する電源ユニットの電源ボードの着脱・組立を容易・迅速かつ安全に行え、メンテナンス等の作業性・安全性を大幅に向上させることが可能となる。
このため、特に検査対象となる二次電池に対して電源ボードの接触ピンを直接接触されることができる所謂ケーブルレス方式/フィクスチャ一体型等と呼ばれる電源ユニットに好適な二次電池用充放電装置を提供することができるようになる。
【図面の簡単な説明】
【0010】
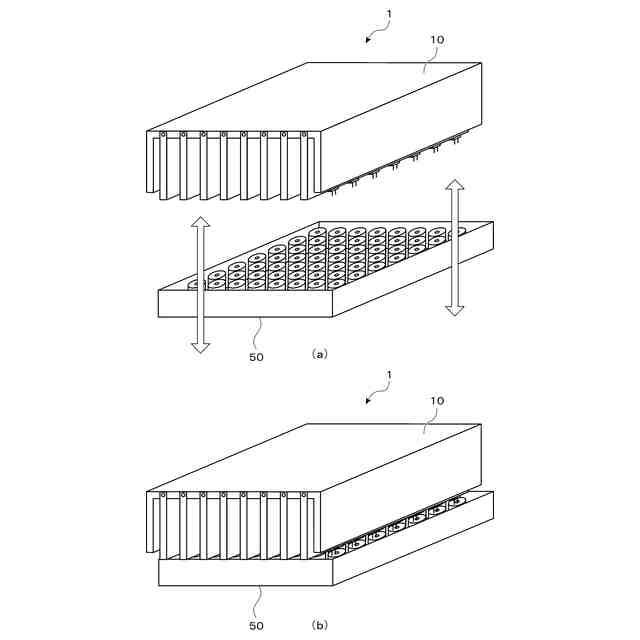
本発明の前提となる二次電池用充放電装置の電源ケース・電源ボード・電池容器の分解状態の全体構成を模式的に示す概略斜視図である。
図1に示す二次電池用充放電装置の電源ケース及び電源ボードの全体構成を模式的に示す、(a)は組立状態の概略斜視図、(b)はその透視図である。
図1に示す二次電池用充放電装置の電源ケース・電源ボード・電池容器の全体構成を模式的に示す、(a)は電源ボードが電池に接触する前の状態の概略斜視図、(b)は同じく接触した状態の概略斜視図である。
本発明の検査対象となる二次電池となる円筒電池の全体構成を模式的に示す概略平面図及び正面図である。
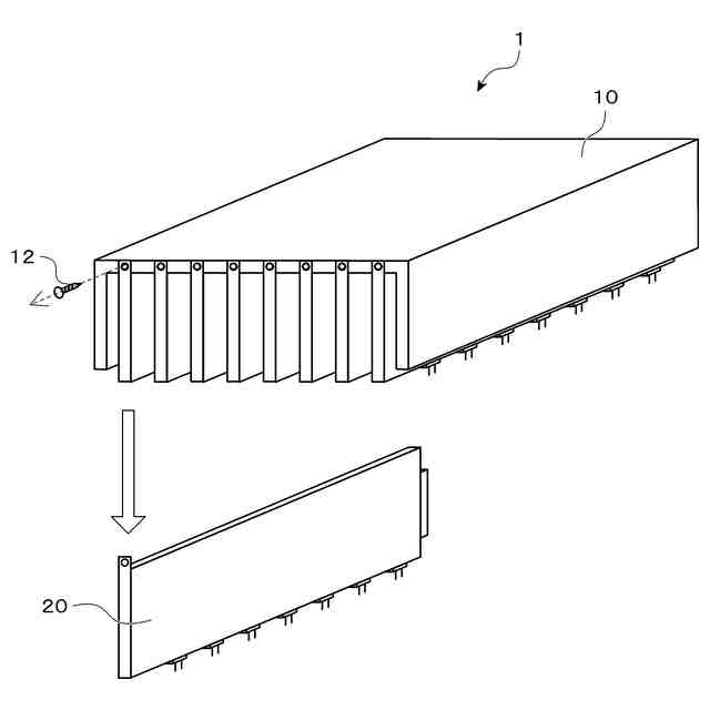
図1に示す二次電池用充放電装置の電源ケースと電源ボードの組立工程を模式的に示す概略斜視図である。
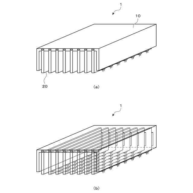
図1に示す二次電池用充放電装置の電源ケースから電源ボードが脱落する状態を模式的に示す概略斜視図である。
本発明の一実施の形態に係る二次電池用充放電装置の電源ケース及び電源ボードの全体構成を模式的に示す概略斜視図である。
図7に示す本発明の一実施の形態に係る二次電池用充放電装置の電源ボードを模式的に示す概略斜視図である。
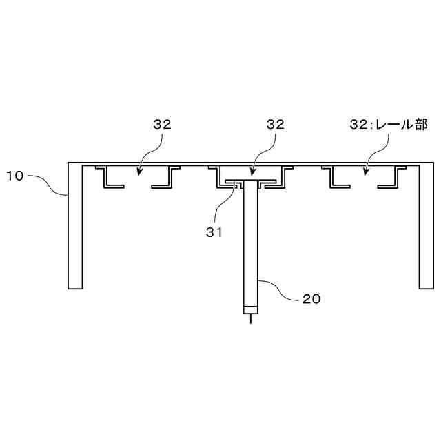
図7に示す本発明の一実施の形態に係る二次電池用充放電装置の電源ケース及び電源ボードを模式的に示す概略正面図である。
図7に示す本発明の一実施の形態に係る二次電池用充放電装置の電源ボードを模式的に示す、(a)は概略正面図、(b)は同じく側面図である。
【発明を実施するための形態】
(【0011】以降は省略されています)
この特許をJ-PlatPat(特許庁公式サイト)で参照する
関連特許
株式会社北電子
遊技機
1日前
株式会社北電子
遊技機
21日前
株式会社北電子
遊技機
22日前
株式会社北電子
遊技機
1か月前
株式会社北電子
遊技機
1か月前
株式会社北電子
遊技機
1か月前
株式会社北電子
遊技機
1か月前
株式会社北電子
二次電池用充放電装置
13日前
株式会社北電子
遊技場用表示システム
1か月前
株式会社北電子
遊技機
21日前
株式会社北電子
遊技機
1か月前
株式会社北電子
二次電池用充放電装置
13日前
個人
安全なNAS電池
27日前
個人
フリー型プラグ安全カバー
1か月前
東レ株式会社
多孔質炭素シート
22日前
日本発條株式会社
積層体
3日前
ローム株式会社
半導体装置
1日前
キヤノン株式会社
電子機器
22日前
ローム株式会社
半導体装置
22日前
エイブリック株式会社
半導体装置
24日前
エイブリック株式会社
半導体装置
24日前
ローム株式会社
半導体装置
1日前
個人
防雪防塵カバー
3日前
ローム株式会社
半導体装置
1日前
株式会社GSユアサ
蓄電装置
3日前
株式会社ティラド
面接触型熱交換器
14日前
株式会社GSユアサ
蓄電装置
1か月前
オムロン株式会社
電磁継電器
1か月前
沖電気工業株式会社
アンテナ
1か月前
ニチコン株式会社
コンデンサ
15日前
ニチコン株式会社
コンデンサ
15日前
株式会社GSユアサ
蓄電装置
1か月前
東レ株式会社
ガス拡散層の製造方法
22日前
個人
半導体パッケージ用ガラス基板
2日前
株式会社GSユアサ
蓄電装置
1か月前
株式会社カネカ
二次電池
1か月前
続きを見る
他の特許を見る