TOP
|
特許
|
意匠
|
商標
特許ウォッチ
Twitter
他の特許を見る
公開番号
2025135138
公報種別
公開特許公報(A)
公開日
2025-09-18
出願番号
2024032776
出願日
2024-03-05
発明の名称
電池パックの固定構造
出願人
三菱自動車工業株式会社
代理人
ケー・ティー・アンド・エス弁理士法人
主分類
B60K
1/04 20190101AFI20250910BHJP(車両一般)
要約
【課題】電池パックの固定構造としての自由度を高めること。
【解決手段】 本開示に係る固定構造は、車体裏面に取り付けられた第1ブラケットと、電池パック上面に取り付けられた第2ブラケットと、を備え、第2ブラケットは、前記電池パックの上面領域のうち、該電池パックを車体裏面に沿った規定位置に配置した状態で前記第1ブラケットと対向する領域に取り付けられており、前記電池パックを前記規定位置にまで変位させる過程で前記第1ブラケットと嵌合することによって、前記電池パック上面を車体裏面に固定する。
【選択図】 図3
特許請求の範囲
【請求項1】
車体裏面に取り付けられた第1ブラケットと、
電池パック上面に取り付けられた第2ブラケットと、を備え、
前記第2ブラケットは、
前記電池パックの上面領域のうち、該電池パックを車体裏面に沿った規定位置に配置した状態で前記第1ブラケットと対向する領域に取り付けられており、
前記電池パックを前記規定位置にまで変位させる過程で前記第1ブラケットと嵌合することによって、前記電池パック上面を車体裏面に固定する、
電池パックの固定構造。
続きを表示(約 1,000 文字)
【請求項2】
前記第1ブラケットは、
車体裏面に沿って前後に延びる部材であり、該車体裏面に取り付けられた第1本体部と、
前記第1本体部から下方へ延びる第1支持部と、
前記第1支持部の下端側から前記第1本体部に沿って前後一方に延びる第1嵌合部と、を備え、
前記第1嵌合部のうち、前記第1本体部と対向する面が、前記第1支持部に近づくほど上方へ向かう傾斜面となっており、
前記第2ブラケットは、
前記電池パック上面に沿って前後に延びる部材であり、該電池パック上面に取り付けられた第2本体部と、
前記第2本体部から上方へと前記第1支持部以上の高さにわたって延びる第2支持部と、
前記第2支持部の上端側から前記第2本体部に沿って前後他方に前記第1嵌合部以上の長さにわたって延びる第2嵌合部と、を備え、
前記第2嵌合部のうち、前記第2本体部と対向する面が、前記第1嵌合部における傾斜面と同じ傾斜角または所定角度だけ大きい傾斜角で、前記第2支持部に近づくほど下方へ向かう傾斜面となっており、
前記電池パックを前後一方から他方に向けて前記規定位置にまで変位させることにより、前記第1嵌合部の傾斜面に前記第2嵌合部の傾斜面が接触し、かつ、前記第1本体部に前記第2嵌合部の上面が接触する、
請求項1に記載の電池パックの固定構造。
【請求項3】
前記第1嵌合部における傾斜面および前記第2嵌合部における傾斜面のいずれか一方または両方をなす領域が弾性材料で構成されている、
請求項2に記載の電池パックの固定構造。
【請求項4】
前記第2支持部は、前記第2本体部から上方へと前記第1支持部超の長さにわたって延びる、
請求項2に記載の電池パックの固定構造。
【請求項5】
前記第2本体部は、前記電池パックの上面領域のうち、電池モジュールそれぞれの収容領域を区画するフレームと対向する領域が、上下方向に延びるネジ部材によって前記フレームと連結されている、
請求項2に記載の電池パックの固定構造。
【請求項6】
前記第1本体部は、車体の裏面領域のうち、該車体における クロスメンバと対向する領域に取り付けられている、
請求項2に記載の電池パックの固定構造。
発明の詳細な説明
【技術分野】
【0001】
本開示は、車体に電池パックを固定するための固定構造に関する。
続きを表示(約 1,500 文字)
【背景技術】
【0002】
電気自動車やハイブリッド車などに搭載される電池パックは、車体の裏面側において一対のサイドシルなどの構造体により左右から挟んで保持される。この種の電池パックは、走行時の振動などにより上下に撓んでしまうことを抑制すべく、その下方から上方へと貫通するネジ部材で車体裏面側と固定することが行われている(特許文献1参照)。
【先行技術文献】
【特許文献】
【0003】
特開2022-103590号公報
【発明の概要】
【発明が解決しようとする課題】
【0004】
ただ、上述した固定構造では、ネジ部材による固定位置の制約が大きく、固定構造としての自由度が低いという課題がある。
【0005】
なぜなら、電池パックを下方から上方へと貫通するネジ部材は、電池パック内で個々の電池モジュールが配置されていない領域を上下に貫通させる必要があるからである。さらに、電池パックの撓みを抑制する観点では、電池パックを車体のクロスメンバなど強度のある構造体に固定することが求められるが、この構造体直下に電池パックを固定しようとすると、構造体や個々の電池モジュールとの位置関係まで考慮しなければならない。
【0006】
本開示はこのような課題を解決するためになされたものであり、その目的は、電池パックの固定構造としての自由度を高めることである。
【課題を解決するための手段】
【0007】
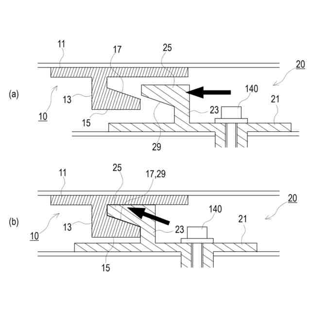
本開示は、車体裏面に取り付けられた第1ブラケットと、電池パック上面に取り付けられた第2ブラケットと、を備え、第2ブラケットは、前記電池パックの上面領域のうち、該電池パックを車体裏面に沿った規定位置に配置した状態で前記第1ブラケットと対向する領域に取り付けられており、前記電池パックを前記規定位置にまで変位させる過程で前記第1ブラケットと嵌合することによって、前記電池パック上面を車体裏面に固定する、電池パックの固定構造である。
【発明の効果】
【0008】
本開示の固定構造は、電池パックをネジ部材で上下に貫通させることなく、車体裏面に固定できるため、個々の電池モジュールの配置と無関係に電池パックの固定位置を決めることができる。これにより、電池パック上面において第1ブラケットと嵌合可能な任意の領域に第2ブラケットを取付けておけばよいため、ブラケットそれぞれによる固定位置の制約が小さく、固定構造としての自由度が高い。
【図面の簡単な説明】
【0009】
本開示の一実施形態に係る電池パックの固定構造を示す正面図。
本開示の一実施形態に係る電池パックの固定構造を示す要部断面図。(図1のA-A矢視図)
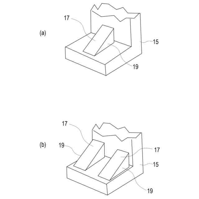
本開示の一実施形態に係る第1嵌合部を示す斜視図。
本開示の一実施形態に係る電池パックを固定する様子を示す要部断面図。
【発明を実施するための形態】
【0010】
以下、本開示の一実施形態について、図面を参照しながら説明する。
(1)全体構成
本実施形態では、図1に示すように、電気自動車やハイブリッド車などに搭載される電池パック100の固定構造について説明する。ここでいうハイブリッド車には、外部充電や外部給電を可能とするプラグインハイブリッド自動車が含まれる。この電池パック100は、車体裏面において、一対のサイドシル210で左右から挟まれた状態で規定位置に保持される。
(【0011】以降は省略されています)
この特許をJ-PlatPat(特許庁公式サイト)で参照する
関連特許
個人
タイヤレバー
2か月前
個人
前輪キャスター
1か月前
個人
上部一体型自動車
11日前
個人
ホイルのボルト締結
3か月前
個人
タイヤ脱落防止構造
1か月前
個人
ルーフ付きトライク
2か月前
日本精機株式会社
表示装置
2か月前
個人
キャンピングトライク
4か月前
日本精機株式会社
表示装置
2か月前
日本精機株式会社
表示装置
1か月前
個人
車両通過構造物
2か月前
日本精機株式会社
表示装置
2か月前
個人
マスタシリンダ
18日前
個人
車両用スリップ防止装置
3か月前
個人
アクセルのソフトウェア
3か月前
個人
乗合路線バスの客室装置
2か月前
個人
キャンピングトレーラー
4か月前
日本精機株式会社
車載表示装置
3か月前
日本精機株式会社
画像投映装置
7日前
日本精機株式会社
車載表示装置
26日前
株式会社ニフコ
照明装置
1か月前
株式会社ニフコ
収納装置
1か月前
個人
音声ガイド、音声サービス
2か月前
個人
円湾曲ホイール及び球体輪
2か月前
株式会社ニフコ
保持装置
3か月前
個人
車載小物入れ兼雨傘収納具
3か月前
日本精機株式会社
車室演出装置
1か月前
株式会社豊田自動織機
産業車両
2か月前
日本精機株式会社
車両用表示装置
2か月前
日本精機株式会社
車両用表示装置
7日前
極東開発工業株式会社
車両
2か月前
井関農機株式会社
作業車両
25日前
株式会社SUBARU
車両
5日前
井関農機株式会社
作業車両
3か月前
日本精機株式会社
車両用投射装置
12日前
井関農機株式会社
作業車両
3か月前
続きを見る
他の特許を見る