TOP
|
特許
|
意匠
|
商標
特許ウォッチ
Twitter
他の特許を見る
10個以上の画像は省略されています。
公開番号
2025132692
公報種別
公開特許公報(A)
公開日
2025-09-10
出願番号
2024030431
出願日
2024-02-29
発明の名称
反射装置、反射装置の製造方法、移相器、及び、フェーズドアレイアンテナ
出願人
大日本印刷株式会社
,
国立大学法人東北大学
代理人
個人
,
個人
,
個人
主分類
H01Q
15/14 20060101AFI20250903BHJP(基本的電気素子)
要約
【課題】液晶層の応答性を改善できる反射装置を提供する。
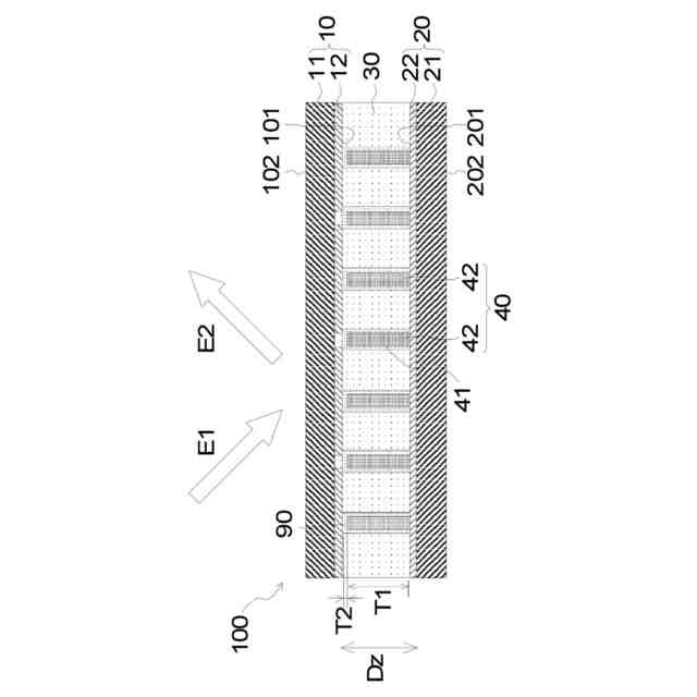
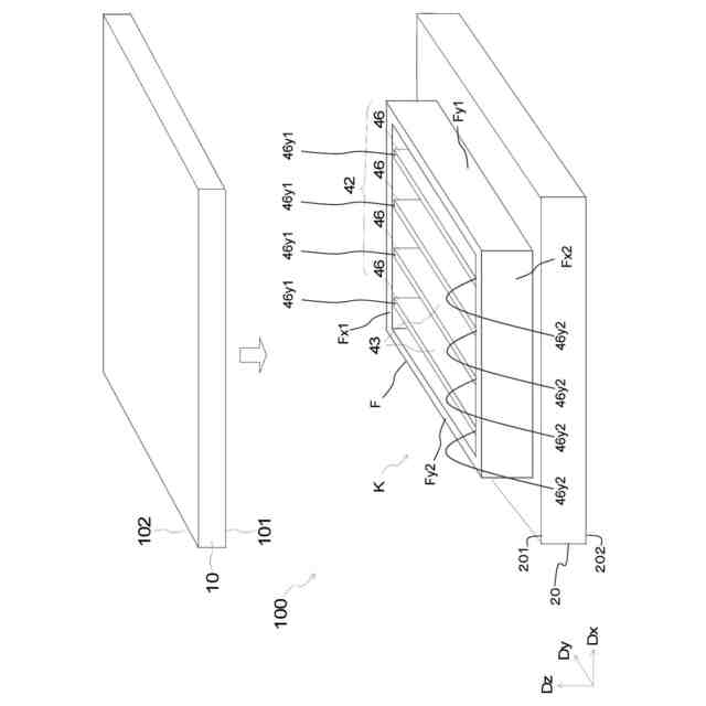
【解決手段】反射装置100は、第1表面101及び第1表面101の反対側に位置する第1裏面102を含む第1導体層基板10と、第1表面101に対向する第2表面201及び第2表面の反対側に位置する第2裏面202を含む第2導体層基板20と、第2表面201の法線方向に沿って第2表面201から突出し且つy方向に延びる複数の壁部42と、第2表面201上において複数の壁部の少なくとも両端に位置する封止部と、第1導体層基板10の第1表面101と第2導体層基板20の第2表面201との間に位置する液晶層30と、を備える。
【選択図】図1
特許請求の範囲
【請求項1】
反射装置であって、
第1表面及び前記第1表面の反対側に位置する第1裏面を含む第1導体層基板と、
前記第1表面に対向する第2表面及び前記第2表面の反対側に位置する第2裏面を含む第2導体層基板と、
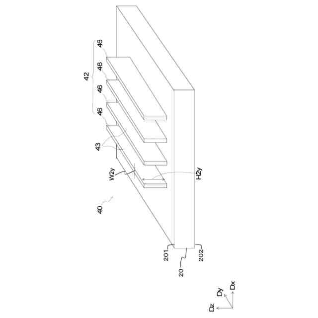
前記第2表面の法線方向に沿って前記第2表面から突出し且つy方向に延びる複数の壁部と、
前記第2表面上において前記複数の壁部の少なくとも両端に位置する封止部と、
前記第1導体層基板の前記第1表面と前記第2導体層基板の前記第2表面との間に位置する液晶層と、を備え、
前記第1導体層基板は、前記第1表面に位置する第1導体と、前記第1導体を支持する第1支持基板と、を含み、
前記第2導体層基板は、前記第2表面に位置する第2導体と、前記第2導体を支持する第2支持基板と、を含み、
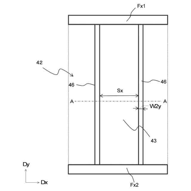
前記封止部は、平面視においてx方向に延び且つ前記複数の壁部の前記y方向における第1終端に当接する第1x封止部と、平面視においてx方向に延び且つ前記複数の壁部の前記y方向における第2終端に当接する第2x封止部と、を含み、
複数の前記壁部、前記第1x封止部、及び、前記第2x封止部によって区画された複数のセルが構成された空間に、前記液晶層が位置している、反射装置。
続きを表示(約 670 文字)
【請求項2】
前記第2導体は、前記第2表面の前記壁部が位置する領域において、連続的に配置されている、請求項1に記載の反射装置。
【請求項3】
前記第2導体は、前記第2表面の前記壁部が位置する領域において、断続的に複数のバターン導体として配置されている、請求項1に記載の反射装置。
【請求項4】
前記壁部は、平面視においてy方向に延びる複数の第1y壁部と、前記y方向において隣り合う2つの前記第1y壁部の間に位置する第1y開口部と、を含む、請求項1に記載の反射装置。
【請求項5】
前記x方向に並ぶ複数の前記第1y開口部は、前記x方向の一直線上に並ぶように位置している、請求項4に記載の反射装置。
【請求項6】
前記x方向に並ぶ複数の前記第1y開口部は、前記x方向の一直線上に並ばないように位置している、請求項5に記載の反射装置。
【請求項7】
前記第1y開口部の前記y方向における幅が、1.0μm以上である、請求項5に記載の反射装置。
【請求項8】
前記壁部の表面に位置する第1配向膜を備える、請求項1に記載の反射装置。
【請求項9】
前記第1導体層基板の前記第1表面に位置する第3配向膜を備える、請求項1に記載の反射装置。
【請求項10】
前記第2導体層基板の前記第2表面において、前記第2導体の表面に位置する第2配向膜を備える、請求項2に記載の反射装置。
(【請求項11】以降は省略されています)
発明の詳細な説明
【技術分野】
【0001】
本開示の実施形態は、反射装置、反射装置の製造方法、移相器、及び、フェーズドアレイアンテナに関する。
続きを表示(約 1,600 文字)
【背景技術】
【0002】
無線通信においては、電波を反射する反射板が用いられている。近年、電波の反射方向を任意な方向に変更可能な反射板の開発が進められている。本願においては、このような反射板が、反射装置とも称される。反射装置は、液晶材料を含む液晶層を備える。液晶層にバイアス電圧が印加されると、液晶層における分子配向が変化する。電波の反射方向は、液晶層における分子配向に応じて変化する。液晶層に印加するバイアス電圧を制御することにより、電波の反射方向が制御される。
【0003】
無線通信においては、液晶材料を利用して信号の位相を変調する移相器も知られている。このような移相器は、例えばフェーズドアレイアンテナに用いられている。特許文献1には、マイクロストリップ線路と、接地導体層と、液晶層と、を備える移相器が開示されている。特許文献1には、上記移相器を有するフェーズドアレイアンテナも開示されている。
【先行技術文献】
【特許文献】
【0004】
特開2021-101511号公報
【発明の概要】
【発明が解決しようとする課題】
【0005】
電波を制御するための液晶層の厚みは、ディスプレイなどに用いられる液晶層の厚みに比べて大きい。厚みが大きくなるほど、液晶層の応答性が低下する。
【0006】
本開示の実施形態は、このような課題を効果的に解決し得る反射装置及び反射装置の製造方法を提供することを目的とする。
【課題を解決するための手段】
【0007】
本開示の実施形態は、以下の[1]~[30]に関する。
[1] 反射装置であって、
第1表面及び前記第1表面の反対側に位置する第1裏面を含む第1導体層基板と、
前記第1表面に対向する第2表面及び前記第2表面の反対側に位置する第2裏面を含む第2導体層基板と、
前記第2表面の法線方向に沿って前記第2表面から突出し且つy方向に延びる複数の壁部と、
前記第2表面上において前記複数の壁部の少なくとも両端に位置する封止部と、
前記第1導体層基板の前記第1表面と前記第2導体層基板の前記第2表面との間に位置する液晶層と、を備え、
前記第1導体層基板は、前記第1表面に位置する第1導体と、前記第1導体を支持する第1支持基板と、を含み、
前記第2導体層基板は、前記第2表面に位置する第2導体と、前記第2導体を支持する第2支持基板と、を含み、
前記封止部は、平面視においてx方向に延び且つ前記複数の壁部の前記y方向における第1終端に当接する第1x封止部と、平面視においてx方向に延び且つ前記複数の壁部の前記y方向における第2終端に当接する第2x封止部と、を含み、
複数の前記壁部、前記第1x封止部、及び、前記第2x封止部によって区画された複数のセルが構成された空間に、前記液晶層が位置している、反射装置。
【0008】
[2] [1]に記載の反射装置において、
前記第2導体は、前記第2表面の前記壁部が位置する領域において、連続的に配置されているようにしてもよい。
【0009】
[3] [1]に記載の反射装置において、
前記第2導体は、前記第2表面の前記壁部が位置する領域において、断続的に複数のバターン導体として配置されているようにしてもよい。
【0010】
[4] [1]に記載の反射装置において、
前記壁部は、平面視においてy方向に延びる複数の第1y壁部と、前記y方向において隣り合う2つの前記第1y壁部の間に位置する第1y開口部と、を含むようにしてもよい。
(【0011】以降は省略されています)
特許ウォッチbot のツイートを見る
この特許をJ-PlatPat(特許庁公式サイト)で参照する
関連特許
大日本印刷株式会社
移動体
23日前
大日本印刷株式会社
移動体
23日前
大日本印刷株式会社
床構成体
4日前
大日本印刷株式会社
積層シート
2日前
大日本印刷株式会社
写真撮影装置
24日前
大日本印刷株式会社
発電モジュール
13日前
大日本印刷株式会社
パネルの固定方法
10日前
大日本印刷株式会社
積層体及び包装容器
11日前
大日本印刷株式会社
積層体および包装容器
13日前
大日本印刷株式会社
積層体および包装容器
2日前
大日本印刷株式会社
積層体および包装容器
13日前
大日本印刷株式会社
積層体および包装容器
13日前
大日本印刷株式会社
積層体および包装容器
13日前
大日本印刷株式会社
情報処理装置及びプログラム
13日前
大日本印刷株式会社
学習支援装置及びプログラム
4日前
大日本印刷株式会社
情報処理装置及びプログラム
3日前
大日本印刷株式会社
リードフレーム及びその製造方法
25日前
大日本印刷株式会社
クランプ装置及びウェブ搬送装置
13日前
大日本印刷株式会社
ポリエステルフィルム及び積層体
23日前
大日本印刷株式会社
水素センサおよび水素検知システム
3日前
大日本印刷株式会社
作業装置、作業システム、作業方法
9日前
大日本印刷株式会社
ウェブ搬送装置及びウェブ搬送方法
9日前
大日本除蟲菊株式会社
薬剤揮散装置
5日前
大日本印刷株式会社
熱転写シートと中間転写媒体との組合せ
2日前
大日本印刷株式会社
バリア性フィルム、積層体および包装容器
13日前
大日本印刷株式会社
バリア性フィルム、積層体および包装容器
13日前
大日本印刷株式会社
バリア性フィルム、積層体および包装容器
13日前
大日本印刷株式会社
サーバ装置、動画配信方法及びプログラム
13日前
大日本印刷株式会社
情報処理装置、情報処理方法及びプログラム
3日前
大日本印刷株式会社
転写シート、成形品の製造方法および成形品
9日前
大日本印刷株式会社
サーバ装置、注目度算出方法及びプログラム
23日前
大日本印刷株式会社
情報処理装置、情報処理方法及びプログラム
3日前
大日本印刷株式会社
サーバ装置、仮想空間制御方法及びプログラム
23日前
大日本印刷株式会社
プログラム、情報処理方法、及び情報処理装置
5日前
大日本印刷株式会社
加飾シート、外装部材の製造方法および外装部材
2日前
大日本印刷株式会社
加飾積層体、転写シート、加飾部材、及び移動体
2日前
続きを見る
他の特許を見る