TOP
|
特許
|
意匠
|
商標
特許ウォッチ
Twitter
他の特許を見る
公開番号
2025132599
公報種別
公開特許公報(A)
公開日
2025-09-10
出願番号
2024030271
出願日
2024-02-29
発明の名称
換気装置
出願人
ダイキン工業株式会社
代理人
個人
,
個人
主分類
F24F
7/00 20210101AFI20250903BHJP(加熱;レンジ;換気)
要約
【課題】本開示は、本体ケーシング(1)の底壁(1e)の結露を抑制可能な換気装置(HRV)を提供する。
【解決手段】本体ケーシング(1)と、全熱交換器(4)と、水受皿(6)と、を備える換気装置(HRV)。全熱交換器(4)は、本体ケーシング(1)の内部の給気通路(16)及び排気通路(15)の途中に設置される。水受皿(6)は、本体ケーシング(1)の壁面(1ei)に取り付けられて全熱交換器(4)から滴下する水を貯留する。水受皿(6)は、室外側貯水部(61)と、室内側貯水部(62)とを有する。室外側貯水部(61)の底部である室外側底壁(61b)の熱貫流率は、室内側貯水部(62)の底部である室内側底壁(62b)の熱貫流率よりも低い。
【選択図】図1
特許請求の範囲
【請求項1】
本体ケーシング(1)と、
前記本体ケーシング(1)の内部の給気通路(16)及び排気通路(15)の途中に設置される全熱交換器(4)と、
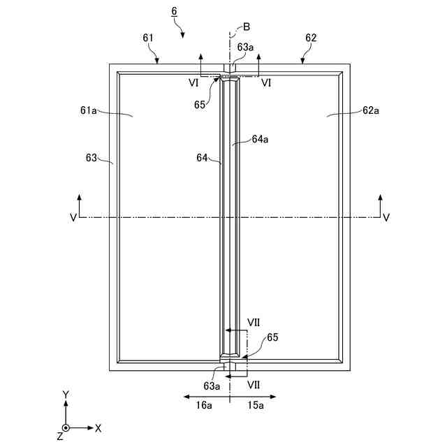
前記本体ケーシング(1)の壁面(1ei)に取り付けられて前記全熱交換器(4)から滴下する水を貯留する水受皿(6)と、を備え、
前記水受皿(6)は、前記本体ケーシング(1)の室外側端面(1b)の給気入口(13)に接続される前記給気通路(16)の給気上流部(16a)に配置される室外側貯水部(61)と、前記本体ケーシング(1)の室内側端面(1a)の排気入口(11)に接続される前記排気通路(15)の排気上流部(15a)に配置される室内側貯水部(62)と、を有し、
前記室外側貯水部(61)の底部の室外側底壁(61b)の熱貫流率は、前記室内側貯水部(62)の底部の室内側底壁(62b)の熱貫流率よりも低い、
換気装置(HRV)。
続きを表示(約 750 文字)
【請求項2】
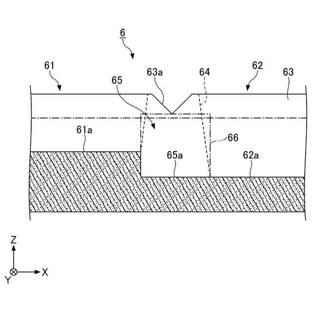
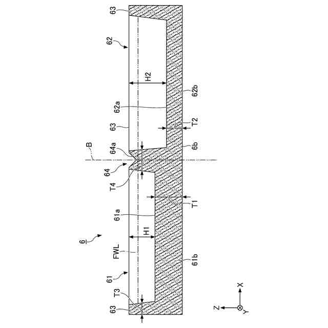
前記水受皿(6)の底面(6b)と前記室外側貯水部(61)の底面(61a)との間の前記室外側底壁(61b)の厚さ(T1)は、前記水受皿(6)の底面(6b)と前記室内側貯水部(62)の底面(62a)との間の前記室内側底壁(62b)の厚さ(T2)よりも大きい、
請求項1に記載の換気装置(HRV)。
【請求項3】
前記水受皿(6)の材質は、発泡樹脂である、
請求項1又は請求項2に記載の換気装置。
【請求項4】
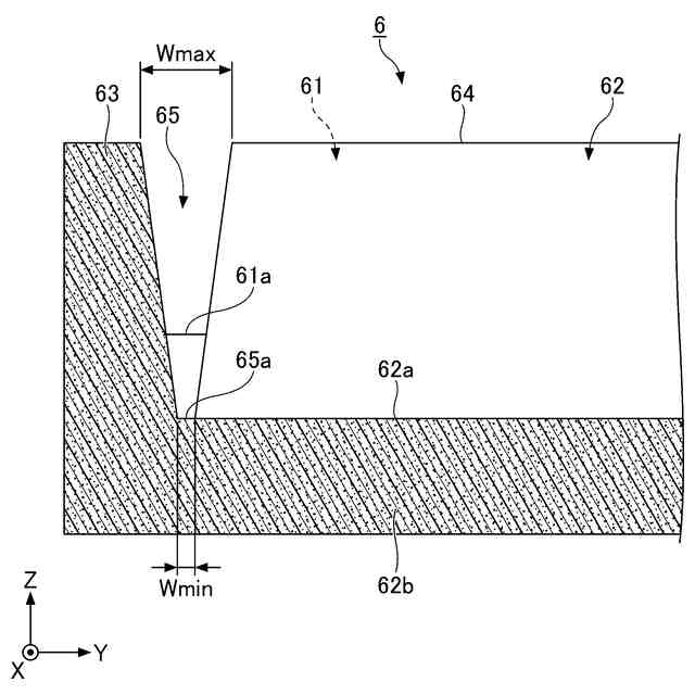
前記水受皿(6)は、前記室外側貯水部(61)と前記室内側貯水部(62)とを接続する水路(65)を有する、
請求項1又は請求項2に記載の換気装置。
【請求項5】
前記水受皿(6)は、前記室外側貯水部(61)と前記室内側貯水部(62)とを接続する水路(65)を有する発泡樹脂成形品であり、
前記水路(65)は、前記発泡樹脂成形品で成形可能な最小幅(Wmin)の溝である、
請求項1又は請求項2に記載の換気装置。
【請求項6】
前記室外側底壁(61b)の厚さ(T1)は、前記室内側底壁(62b)の厚さ(T2)の1.1倍以上かつ1.5倍以下である、
請求項2に記載の換気装置。
【請求項7】
前記本体ケーシング(1)の前記室内側端面(1a)の給気出口(14)に接続される前記給気通路(16)の給気下流部(16b)に設置される給気ファン(3)と、
前記本体ケーシング(1)の前記室外側端面(1b)の排気出口(12)に接続される前記排気通路(15)の排気下流部(15b)に設置される排気ファン(2)と、をさらに備える、
請求項1に記載の換気装置。
発明の詳細な説明
【技術分野】
【0001】
本開示は、換気装置に関する。
続きを表示(約 1,500 文字)
【背景技術】
【0002】
従来、空気調和装置の室内機が知られている(例えば、特許文献1を参照)。この室内機は、ケーシングの内部でケーシングの底板の上方に配置され、ケーシング内に設けられる熱交換器で発生するドレン水を受けるドレンパンを備えている。
【0003】
また、室内と室外との間で空気の入替えを行う換気装置が知られている(例えば、特許文献2を参照)。この換気装置は、直方体形状に形成された箱形のケーシングを有し、ケーシング内には、全熱交換器と、給気ファンと、排気ファンとが収容されている。
【先行技術文献】
【特許文献】
【0004】
特開2020-085403号公報
特開2022-75246号公報
【発明の概要】
【発明が解決しようとする課題】
【0005】
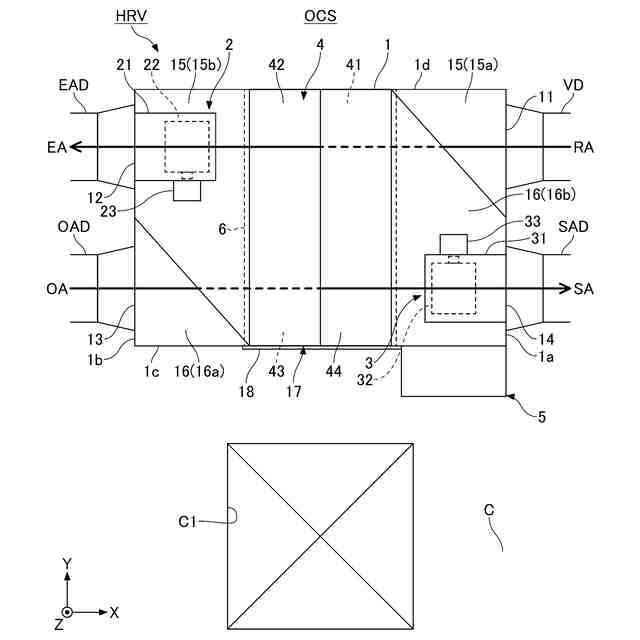
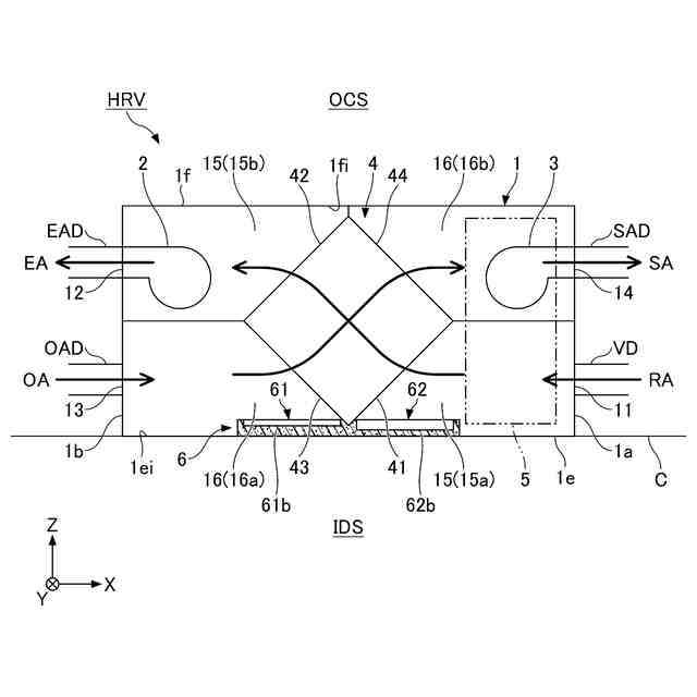
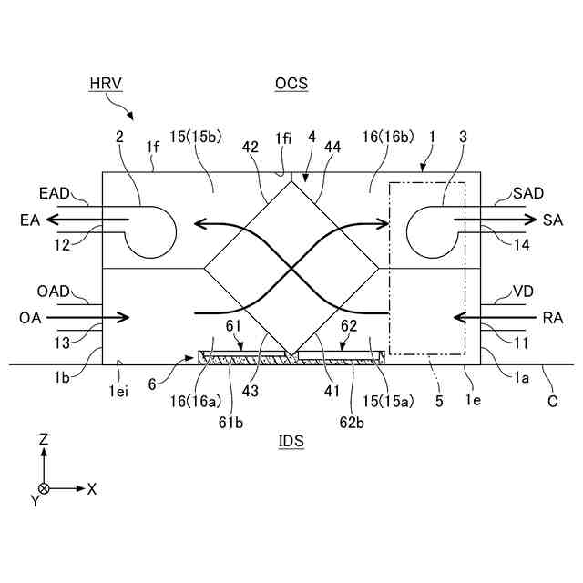
前述の特許文献2に記載された換気装置が天井に据え付けられる場合、ケーシング内の全熱交換器によって区画された室内側の領域と室外側の領域に跨って、全熱交換器から滴下する水滴を受ける水受皿が配置される。このような換気装置において、水受皿の底壁の厚さは、ケーシングの高さや全熱交換器の高さの制限を考慮しつつ、水受皿に必要な貯水量を確保するように決定される。
【0006】
そのため、前述の特許文献1に記載された室内機のドレンパンとは異なり、換気装置の水受皿の底壁は、厚さが一様にされてケーシングの底壁の上面に接する。このような場合、水受皿の底壁に必要な断熱性能が確保できず、水受皿に貯留された水や水受皿の上を通過する空気によってケーシングの底壁が冷却されて結露が発生するおそれがある。
【0007】
本開示は、ケーシングの底壁の結露を抑制可能な換気装置を提供する。
【課題を解決するための手段】
【0008】
本開示の一つの態様は、本体ケーシング(1)と、前記本体ケーシング(1)の内部の給気通路(16)及び排気通路(15)の途中に設置される全熱交換器(4)と、前記本体ケーシング(1)の壁面(1ei)に取り付けられて前記全熱交換器(4)から滴下する水を貯留する水受皿(6)と、を備え、前記水受皿(6)は、前記本体ケーシング(1)の室外側端面(1b)の給気入口(13)に接続される前記給気通路(16)の給気上流部(16a)に配置される室外側貯水部(61)と、前記本体ケーシング(1)の室内側端面(1a)の排気入口(11)に接続される前記排気通路(15)の排気上流部(15a)に配置される室内側貯水部(62)と、を有し、前記室外側貯水部(61)の底部である室外側底壁(61b)の熱貫流率は、前記室内側貯水部(62)の底部である室内側底壁(62b)の熱貫流率よりも低い、換気装置(HRV)を提供する。
【0009】
上記の態様によれば、本体ケーシング(1)の底壁(1e)の結露を抑制可能な換気装置(HRV)を提供することができる。
【0010】
上記の態様の換気装置(HRV)において、前記水受皿(6)の底面(6b)と前記室外側貯水部(61)の底面(61a)との間の前記室外側底壁(61b)の厚さ(T1)は、前記水受皿(6)の底面(6b)と前記室内側貯水部(62)の底面(62a)との間の前記室内側底壁(62b)の厚さ(T2)よりも大きくてもよい。この構成により、水受皿(6)において、室外側底壁(61b)の熱貫流率を、室内側底壁(62b)の熱貫流率よりも、低くすることができる。
(【0011】以降は省略されています)
この特許をJ-PlatPat(特許庁公式サイト)で参照する
関連特許
ダイキン工業株式会社
冷凍装置
4日前
ダイキン工業株式会社
冷凍装置
4日前
ダイキン工業株式会社
固体冷凍装置
今日
ダイキン工業株式会社
空気調和装置
今日
ダイキン工業株式会社
発電システム
4日前
ダイキン工業株式会社
熱交換器及び冷凍装置
2日前
ダイキン工業株式会社
冷凍サイクル装置および冷凍機油
7日前
ダイキン工業株式会社
冷凍サイクル装置および冷凍機油
7日前
ダイキン工業株式会社
スクロール圧縮機、及び冷凍装置
今日
ダイキン工業株式会社
金属カーバイドおよび炭化水素の製造方法
4日前
ダイキン工業株式会社
固定子コア、回転電機、圧縮機、および、冷凍装置
4日前
ダイキン工業株式会社
冷媒を含む組成物、その使用、並びにそれを有する冷凍機及びその冷凍機の運転方法
2日前
ダイキン工業株式会社
故障診断システム、冷凍サイクルシステム、故障診断方法、故障診断プログラム及び空調機
4日前
ダイキン工業株式会社
フルオロポリマーの製造方法、ポリテトラフルオロエチレンの製造方法および組成物
3日前
ダイキン工業株式会社
環境推定装置、表示システム、空気調和システム、環境推定方法、プログラム、環境推定システム、および学習済みモデルの製造方法
今日
ダイキン工業株式会社
フッ素系ポリマー組成物、電気化学デバイス用バインダー、電極合剤、電極、及び、二次電池
今日
ダイキン工業株式会社
フルオロポリマーの製造方法、ポリテトラフルオロエチレンの製造方法、パーフルオロエラストマーの製造方法および組成物
今日
個人
エアコン室内機
3か月前
株式会社コロナ
空調装置
1か月前
株式会社コロナ
空調装置
23日前
株式会社コロナ
空調装置
4日前
株式会社コロナ
給湯装置
2か月前
株式会社コロナ
空調装置
3か月前
株式会社コロナ
加湿装置
14日前
株式会社コロナ
空気調和機
1か月前
株式会社コロナ
空気調和機
2か月前
個人
住宅換気空調システム
1か月前
株式会社コロナ
風呂給湯機
22日前
株式会社パロマ
給湯器
2か月前
株式会社コロナ
貯湯式給湯機
今日
株式会社コロナ
直圧式給湯機
2か月前
株式会社コロナ
貯湯式給湯機
8日前
株式会社コロナ
暖房システム
4日前
株式会社コロナ
直圧式給湯機
1か月前
ホーコス株式会社
排気フード
2か月前
株式会社コロナ
貯湯式給湯装置
2か月前
続きを見る
他の特許を見る