TOP
|
特許
|
意匠
|
商標
特許ウォッチ
Twitter
他の特許を見る
10個以上の画像は省略されています。
公開番号
2025131823
公報種別
公開特許公報(A)
公開日
2025-09-09
出願番号
2025099113,2021552366
出願日
2025-06-13,2020-10-09
発明の名称
窒化物半導体基板
出願人
住友化学株式会社
代理人
個人
,
個人
主分類
C30B
29/38 20060101AFI20250902BHJP(結晶成長)
要約
【課題】窒化物半導体基板の結晶品質を向上させる窒化物半導体基板、積層構造体、および窒化物半導体基板の製造方法を提供する。
【解決手段】窒化物半導体基板が、2インチ以上の直径を有し、最も近い低指数の結晶面が(0001)面である主面を有する窒化物半導体基板であって、FWHM1
{10-12}
に対するFWHM2
{10-12}
の比率は、80%以上である。
【選択図】図1
特許請求の範囲
【請求項1】
2インチ以上の直径を有し、最も近い低指数の結晶面が(0001)面である主面を有する窒化物半導体基板であって、
FWHM1
{10-12}
に対するFWHM2
{10-12}
の比率は、80%以上である
窒化物半導体基板。
ただし、FWHM1
{10-12}
およびFWHM2
{10-12}
は、それぞれ、X線ロッキングカーブ測定により測定した{10-12}面回折の半値幅であり、
FWHM1
{10-12}
を測定するときの入射条件では、CuのX線源から、X線を平行光とするX線ミラー、Ge(220)の2回反射のモノクロメータ、およびゴニオメータの回転軸周りの回転角方向としてのω方向の幅が1.4mmであり且つ前記回転軸に平行な方向の長さが12mmである入射側開口をこの順で介して、前記主面の中心に対してCuのKα1のX線を照射し、
FWHM1
{10-12}
を測定するときの受光条件では、受光側スリットをオープンとし且つアナライザ結晶を介さずに、前記ω方向の幅が14.025mmである開口を有するディテクタによりX線を受光し、
FWHM2
{10-12}
を測定するときの入射条件は、FWHM1
{10-12}
を測定するときの入射条件と同様とし、
FWHM2
{10-12}
を測定するときの受光条件では、前記ω方向の幅が6.54mmである入口開口を有するGe(220)の3回反射のアナライザ結晶を介して、前記ディテクタによりX線を受光する。
続きを表示(約 1,300 文字)
【請求項2】
FWHM1
{10-12}
に対するFWHM2
{10-12}
の前記比率は、100%以下である
請求項1に記載の窒化物半導体基板。
【請求項3】
前記主面の中心の法線を軸として周方向に60°ずつ回転させた3つの方向から、{10-12}面で表される等価な結晶面の回折を測定したFWHM1
{10-12}
の最大最小差は、9arcsec以下である
請求項1又は2に記載の窒化物半導体基板。
【請求項4】
2インチ以上の直径を有し、最も近い低指数の結晶面が(0001)面である主面を有する窒化物半導体基板であって、
前記主面の中心の法線を軸として周方向に60°ずつ回転させた3つの方向から、{10-12}面で表される等価な結晶面の回折を測定したFWHM1
{10-12}
の最大最小差は、9arcsec以下である
窒化物半導体基板。
ただし、FWHM1
{10-12}
は、X線ロッキングカーブ測定により測定した{10-12}面回折の半値幅であり、
FWHM1
{10-12}
を測定するときの入射条件では、CuのX線源から、X線を平行光とするX線ミラー、Ge(220)の2回反射のモノクロメータ、およびゴニオメータの回転軸周りの回転角方向としてのω方向の幅が1.4mmであり且つ前記回転軸に平行な方向の長さが12mmである入射側開口をこの順で介して、前記主面の中心に対してCuのKα1のX線を照射し、
FWHM1
{10-12}
を測定するときの受光条件では、受光側スリットをオープンとし且つアナライザ結晶を介さずに、前記ω方向の幅が14.025mmである開口を有するディテクタによりX線を受光する。
【請求項5】
FWHM1
{10-12}
は、50arcsec以下である
請求項1~4のいずれか1項に記載の窒化物半導体基板。
【請求項6】
2インチ以上の直径を有し、最も近い低指数の結晶面が(0001)面である主面を有する窒化物半導体基板であって、
FWHM1
{10-12}
は、50arcsec以下である
窒化物半導体基板。
ただし、FWHM1
{10-12}
は、X線ロッキングカーブ測定により測定した{10-12}面回折の半値幅であり、
FWHM1
{10-12}
を測定するときの入射条件では、CuのX線源から、X線を平行光とするX線ミラー、Ge(220)の2回反射のモノクロメータ、およびゴニオメータの回転軸周りの回転角方向としてのω方向の幅が1.4mmであり且つ前記回転軸に平行な方向の長さが12mmである入射側開口をこの順で介して、前記主面の中心に対してCuのKα1のX線を照射し、
FWHM1
{10-12}
を測定するときの受光条件では、受光側スリットをオープンとし且つアナライザ結晶を介さずに、前記ω方向の幅が14.025mmである開口を有するディテクタによりX線を受光する。
発明の詳細な説明
【技術分野】
【0001】
本発明は、窒化物半導体基板、積層構造体、および窒化物半導体基板の製造方法に関する。
続きを表示(約 2,400 文字)
【背景技術】
【0002】
III族窒化物半導体の単結晶からなる基板を下地基板(種基板)として用い、当該下地基板のうち最も近い低指数の結晶面が(0001)面である主面上に、III族窒化物半導体の単結晶からなる結晶層をさらに成長させる手法が知られている。この手法によれば、所定の厚さで成長させた結晶層をスライスすることで、少なくとも1つの窒化物半導体基板を得ることができる(例えば特許文献1)。
【先行技術文献】
【特許文献】
【0003】
特開2013-60349号公報
【発明の概要】
【発明が解決しようとする課題】
【0004】
本発明の目的は、窒化物半導体基板の結晶品質を向上させることにある。
【課題を解決するための手段】
【0005】
本発明の一態様によれば、
2インチ以上の直径を有し、最も近い低指数の結晶面が(0001)面である主面を有する窒化物半導体基板であって、
FWHM1
{10-12}
に対するFWHM2
{10-12}
の比率は、80%以上である
窒化物半導体基板が提供される。
ただし、FWHM1
{10-12}
およびFWHM2
{10-12}
は、それぞれ、X線ロッキングカーブ測定により測定した{10-12}面回折の半値幅であり、
FWHM1
{10-12}
を測定するときの入射条件では、CuのX線源から、X線を平行光とするX線ミラー、Ge(220)の2回反射のモノクロメータ、およびゴニオメータの回転軸周りの回転角方向としてのω方向の幅が1.4mmであり且つ前記回転軸に平行な方向の長さが12mmである入射側開口をこの順で介して、前記主面の中心に対してCuのKα1のX線を照射し、
FWHM1
{10-12}
を測定するときの受光条件では、受光側スリットをオープンとし且つアナライザ結晶を介さずに、前記ω方向の幅が14.025mmである開口を有するディテクタによりX線を受光し、
FWHM2
{10-12}
を測定するときの入射条件は、FWHM1
{10-12}
を測定するときの入射条件と同様とし、
FWHM2
{10-12}
を測定するときの受光条件では、前記ω方向の幅が6.54mmである入口開口を有するGe(220)の3回反射のアナライザ結晶を介して、前記ディテクタによりX線を受光する。
【0006】
本発明の他の態様によれば、
2インチ以上の直径を有し、最も近い低指数の結晶面が(0001)面である主面を有する窒化物半導体基板であって、
前記主面の中心の法線を軸として周方向に60°ずつ回転させた3つの方向から、{10-12}面で表される等価な結晶面の回折を測定したFWHM1
{10-12}
の最大最小差は、9arcsec以下である
窒化物半導体基板が提供される。
【0007】
本発明の更に他の態様によれば、
2インチ以上の直径を有し、最も近い低指数の結晶面が(0001)面である主面を有する窒化物半導体基板であって、
FWHM1
{10-12}
は、50arcsec以下である
窒化物半導体基板が提供される。
【0008】
本発明の更に他の態様によれば、
III族窒化物半導体の単結晶からなり、鏡面化された主面を有し、前記主面に対して最も近い低指数の結晶面が(0001)面である下地基板と、
前記下地基板の前記主面の上方に設けられ、III族窒化物半導体の単結晶からなる低酸素濃度領域と、前記低酸素濃度領域上に設けられ、III族窒化物半導体の単結晶からなる高酸素濃度領域と、を有する積層ユニットと、
前記積層ユニットよりも上方に設けられ、III族窒化物半導体の単結晶からなる最上低酸素濃度領域と、
を備え、
前記高酸素濃度領域の酸素濃度は、前記低酸素濃度領域および前記最上低酸素濃度領域のそれぞれの酸素濃度よりも高く、
前記積層ユニットは、前記下地基板と前記最上低酸素濃度領域との間で、厚さ方向に繰り返し複数設けられている
積層構造体が提供される。
【0009】
本発明の更に他の態様によれば、
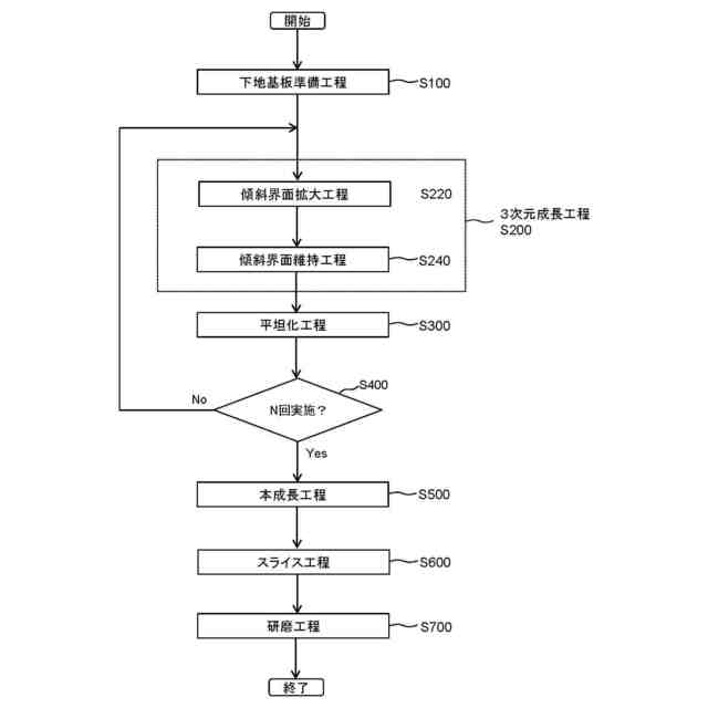
気相成長法を用いた窒化物半導体基板の製造方法であって、
(a)III族窒化物半導体の単結晶からなり、鏡面化された主面を有し、前記主面に対して最も近い低指数の結晶面が(0001)面である下地基板を準備する工程と、
(b)前記主面の上方にIII族窒化物半導体の単結晶を平坦にホモエピタキシャル成長させる工程と、
(c)平坦なホモエピタキシャル成長結晶の表面に、(0001)面以外の傾斜界面で構成される複数の凹部を生じさせ、結晶成長の進行にしたがって該傾斜界面を徐々に拡大させて、結晶成長界面から(0001)面を少なくとも一度消失させることを特徴とする3次元成長層を成長させる工程と、
(d)前記3次元成長層上にIII族窒化物半導体の単結晶を更にエピタキシャル成長させることで、傾斜界面を消失させ、(0001)面からなる鏡面化された表面を有する平坦化層を成長させる工程と、
を有し、
前記(c)と前記(d)とを含むサイクルを複数回行う
窒化物半導体基板の製造方法が提供される。
【発明の効果】
【0010】
本発明によれば、窒化物半導体基板の結晶品質を向上させることができる。
【図面の簡単な説明】
(【0011】以降は省略されています)
この特許をJ-PlatPat(特許庁公式サイト)で参照する
関連特許
住友化学株式会社
積層体
1日前
住友化学株式会社
積層体および表示装置
1日前
住友化学株式会社
膜エレメントの製造方法
2日前
住友化学株式会社
装置、方法及びプログラム
2日前
住友化学株式会社
粘着剤組成物および粘着剤層
2日前
住友化学株式会社
リサイクル正極活物質の製造方法
2日前
住友化学株式会社
リサイクル正極活物質の製造方法
2日前
住友化学株式会社
リサイクル正極活物質の製造方法
2日前
住友化学株式会社
リサイクル正極活物質の製造方法
2日前
住友化学株式会社
リサイクル正極活物質の製造方法
2日前
住友化学株式会社
リサイクル正極活物質の製造方法
2日前
住友化学株式会社
リサイクル正極活物質の製造方法
2日前
住友化学株式会社
リサイクル正極活物質の製造方法
2日前
住友化学株式会社
リサイクル正極活物質の製造方法
2日前
住友化学株式会社
偏光板およびこれを含む円偏光板
3日前
住友化学株式会社
リサイクル正極活物質の製造方法
2日前
住友化学株式会社
リサイクル正極活物質の製造方法
2日前
住友化学株式会社
リサイクル正極活物質の製造方法
2日前
住友化学株式会社
リサイクル正極活物質の製造方法
2日前
住友化学株式会社
リサイクル正極活物質の製造方法
1日前
住友化学株式会社
液晶性高分子膜及びその製造方法
1日前
住友化学株式会社
アルミニウム加工材およびその製造方法
2日前
住友化学株式会社
化合物、組成物、インク、光電変換素子、及び光センサー
1日前
住友化学株式会社
着色剤分散液、着色硬化性組成物、カラーフィルタ、及び表示装置
2日前
住友化学株式会社
偏光板、偏光板を備える円偏光板、および偏光板若しくは円偏光板を備える表示装置
3日前
住友化学株式会社
カーボンナノチューブ集合体、カーボンナノチューブ分散液、導電材料、電極、二次電池、平面状集合体、フィルター、電磁波シールド及び極端紫外線用ペリクル
1日前
住友化学株式会社
カーボンナノチューブ集合体、カーボンナノチューブ分散液、導電材料、電極、二次電池、平面状集合体、フィルター、電磁波シールド及び極端紫外線用ペリクル
1日前
住友化学株式会社
カーボンナノチューブ集合体、カーボンナノチューブ分散液、導電材料、電極、二次電池、平面状集合体、フィルター、電磁波シールド及び極端紫外線用ペリクル
1日前
住友化学株式会社
カーボンナノチューブ集合体、カーボンナノチューブ分散液、導電材料、電極、二次電池、平面状集合体、フィルター、電磁波シールド及び極端紫外線用ペリクル
1日前
SECカーボン株式会社
坩堝
6か月前
SECカーボン株式会社
結晶成長装置
5か月前
株式会社CUSIC
SiC積層体の製造方法
4か月前
住友金属鉱山株式会社
結晶育成装置
1か月前
学校法人 東洋大学
マルチカラー結晶の結晶成長方法
4か月前
株式会社FLOSFIA
構造体および構造体の製造方法
1か月前
株式会社SUMCO
単結晶の製造方法
3か月前
続きを見る
他の特許を見る