TOP
|
特許
|
意匠
|
商標
特許ウォッチ
Twitter
他の特許を見る
10個以上の画像は省略されています。
公開番号
2025131340
公報種別
公開特許公報(A)
公開日
2025-09-09
出願番号
2024029025
出願日
2024-02-28
発明の名称
静電チャック
出願人
TOTO株式会社
代理人
個人
,
個人
,
個人
,
個人
主分類
H01L
21/683 20060101AFI20250902BHJP(基本的電気素子)
要約
【課題】処理中における基板の面内温度分布のばらつきを抑制することのできる静電チャック、を提供する。
【解決手段】静電チャック10は、誘電体基板100と、誘電体基板100の内部に設けられたRF電極140と、金属により形成され、誘電体基板100に接合されたベースプレート200と、RF電極140とベースプレート200との間を電気的に接続する接続部材400と、を備える。誘電体基板100には複数のガス穴114が形成されている。ベースプレート200には、複数のガス穴114にガスを分配するための分配流路240が形成されている。上面視において、接続部材400は、その少なくとも一部が分配流路240と重ならない位置に配置されている。
【選択図】図8
特許請求の範囲
【請求項1】
被吸着物が載置される載置面を有する誘電体基板と、
前記誘電体基板の内部に設けられたRF電極と、
金属により形成され、前記誘電体基板に接合されたベースプレートと、
前記RF電極と前記ベースプレートとの間を電気的に接続する接続部材と、を備え、
前記誘電体基板には複数のガス穴が形成されており、
前記ベースプレートには、複数の前記ガス穴にガスを分配するための分配流路が形成されており、
前記載置面に対し垂直な方向から見た場合において、
前記接続部材は、その少なくとも一部が前記分配流路と重ならない位置に配置されていることを特徴とする静電チャック。
続きを表示(約 850 文字)
【請求項2】
前記載置面に対し垂直な方向から見た場合において、
前記接続部材は、その中心が前記分配流路と重ならない位置に配置されていることを特徴とする、請求項1に記載の静電チャック。
【請求項3】
前記載置面に対し垂直な方向から見た場合において、
前記接続部材は、その全体が前記分配流路と重ならない位置に配置されていることを特徴とする、請求項2に記載の静電チャック。
【請求項4】
前記載置面に対し垂直な方向から見た場合において、
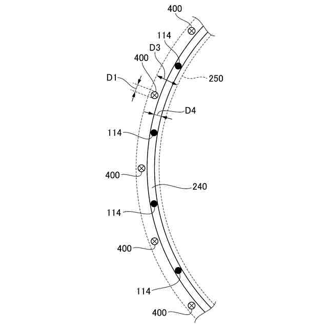
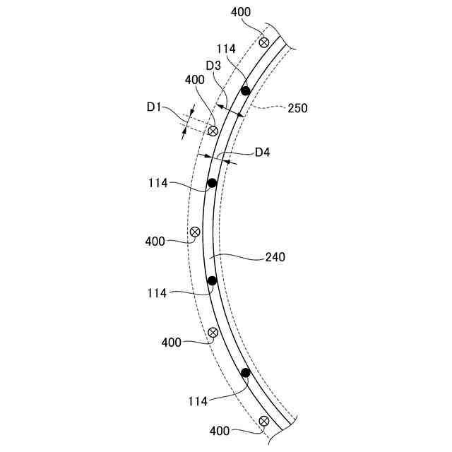
複数の前記接続部材が、前記分配流路に沿って環状に並ぶように配置されていることを特徴とする、請求項1に記載の静電チャック。
【請求項5】
前記ベースプレートの内部には、冷媒の通る冷媒流路が形成されており、
前記載置面に対し垂直な方向から見た場合において、
前記分配流路が、前記冷媒流路と重なる位置に設けられていることを特徴とする、請求項1に記載の静電チャック。
【請求項6】
前記ベースプレートの内部には、冷媒の通る冷媒流路が形成されており、
前記載置面に対し垂直な方向から見た場合において、
前記接続部材は、その少なくとも一部が前記冷媒流路と重なる位置に配置されていることを特徴とする、請求項1に記載の静電チャック。
【請求項7】
前記載置面に対し垂直な方向から見た場合において、
前記接続部材の形状は円形であり、
前記接続部材の直径が前記分配流路の幅よりも小さいことを特徴とする、請求項1に記載の静電チャック。
【請求項8】
前記ベースプレートの内部には、冷媒の通る冷媒流路が形成されており、
前記載置面に対し垂直な方向から見た場合において、
前記接続部材の形状は円形であり、
前記接続部材の直径が前記冷媒流路の幅よりも小さいことを特徴とする、請求項1に記載の静電チャック。
発明の詳細な説明
【技術分野】
【0001】
本発明は静電チャックに関する。
続きを表示(約 1,500 文字)
【背景技術】
【0002】
例えばエッチング装置等の半導体製造装置には、処理の対象となるシリコンウェハ等の基板を吸着し保持するための装置として、静電チャックが設けられる。静電チャックは、吸着電極が設けられた誘電体基板と、誘電体基板を支持するベースプレートと、を備え、これらが互いに接合された構成を有する。吸着電極に電圧が印加されると静電力が生じ、誘電体基板上に載置された基板が吸着され保持される。
【0003】
下記特許文献1に記載されているように、誘電体基板には、半導体製造装置においてプラズマを発生させるための一対の対向電極のうちの1つ、であるRF電極が内蔵されることもある。この場合、RF電極とベースプレートとの間は、導電性を有する接続部材を介して電気的に接続される。これにより、基板の処理中におけるRF電極の電位は、ベースプレートの電位(例えば接地電位)に保たれる。
【先行技術文献】
【特許文献】
【0004】
国際公開第2022/255118号
【発明の概要】
【発明が解決しようとする課題】
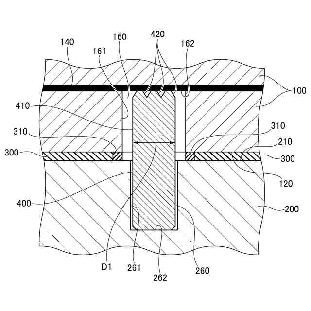
【0005】
上記の接続部材とRF電極との間を電気的に接続するためには、例えば、誘電体基板のうちベースプレート側の面に凹部を形成し、その底面においてRF電極を露出させた上で、凹部の内側に接続部材を収容すればよい。当該接続部材を介してRF電極とベースプレートとの間を電気的に接続するためには、例えば、ベースプレートのうち誘電体基板側の面にも凹部を形成し、当該凹部の内側に接続部材を収容すればよい。接続部材は、誘電体基板とベースプレートとの間に挟み込まれた状態となる。
【0006】
ところで、半導体製造装置で基板の処理が行われているときには、RF電極に対する交流電圧の印可に伴って、接続部材ではジュール熱が生じる。接続部材の発熱量によっては、誘電体基板のうち接続部材の直上の部分が、接続部材からの熱によって局所的に加熱され過ぎてしまう可能性がある。
【0007】
このように、接続部材は、誘電体基板や被吸着物に対する加熱源となり得る。従って、接続部材の位置によっては、処理中における基板の面内温度分布のばらつきが大きくなり過ぎてしまう可能性がある。
【0008】
本発明はこのような課題に鑑みてなされたものであり、その目的は、処理中における基板の面内温度分布のばらつきを抑制することのできる静電チャック、を提供することにある。
【課題を解決するための手段】
【0009】
上記課題を解決するために、本発明に係る静電チャックは、被吸着物が載置される載置面を有する誘電体基板と、誘電体基板の内部に設けられたRF電極と、金属により形成され、誘電体基板に接合されたベースプレートと、RF電極とベースプレートとの間を電気的に接続する接続部材と、を備える。誘電体基板には複数のガス穴が形成されている。ベースプレートには、複数のガス穴にガスを分配するための分配流路が形成されている。載置面に対し垂直な方向から見た場合において、接続部材は、その少なくとも一部が分配流路と重ならない位置に配置されている。
【0010】
上記構成の静電チャックでは、接続部材のうち少なくとも一部の直下となる位置に、熱抵抗となり得る分配流路が存在しない。このような構成においては、接続部材で生じた熱がベースプレートによって効率的に回収されるため、処理中における基板の面内温度分布のばらつきを抑制することができる。
【発明の効果】
(【0011】以降は省略されています)
この特許をJ-PlatPat(特許庁公式サイト)で参照する
関連特許
TOTO株式会社
浴室
29日前
TOTO株式会社
浴室
29日前
TOTO株式会社
洗面器
6日前
TOTO株式会社
浴室床
2か月前
TOTO株式会社
洗面器
6日前
TOTO株式会社
水栓装置
20日前
TOTO株式会社
水栓装置
20日前
TOTO株式会社
水栓装置
20日前
TOTO株式会社
複合材料
21日前
TOTO株式会社
水栓装置
20日前
TOTO株式会社
水栓装置
20日前
TOTO株式会社
浴槽装置
2か月前
TOTO株式会社
便座装置
29日前
TOTO株式会社
水栓装置
20日前
TOTO株式会社
水栓装置
20日前
TOTO株式会社
浴槽装置
2か月前
TOTO株式会社
水栓装置
20日前
TOTO株式会社
水栓装置
20日前
TOTO株式会社
便器装置
29日前
TOTO株式会社
浴槽装置
2か月前
TOTO株式会社
パッキン
2か月前
TOTO株式会社
衛生陶器
1か月前
TOTO株式会社
衛生陶器
1か月前
TOTO株式会社
洗い場床
2か月前
TOTO株式会社
水洗大便器
29日前
TOTO株式会社
水洗大便器
2か月前
TOTO株式会社
水洗大便器
2か月前
TOTO株式会社
水洗大便器
2か月前
TOTO株式会社
水洗大便器
29日前
TOTO株式会社
水洗大便器
2か月前
TOTO株式会社
水洗大便器
2か月前
TOTO株式会社
水洗大便器
29日前
TOTO株式会社
トイレ装置
2か月前
TOTO株式会社
水洗大便器
29日前
TOTO株式会社
トイレ装置
2日前
TOTO株式会社
トイレ装置
2か月前
続きを見る
他の特許を見る