TOP
|
特許
|
意匠
|
商標
特許ウォッチ
Twitter
他の特許を見る
10個以上の画像は省略されています。
公開番号
2025131037
公報種別
公開特許公報(A)
公開日
2025-09-09
出願番号
2024028523
出願日
2024-02-28
発明の名称
誘導体イメージ線路アンテナ及びアンテナ装置
出願人
株式会社NTTドコモ
,
国立大学法人横浜国立大学
代理人
個人
,
個人
主分類
H01Q
13/24 20060101AFI20250902BHJP(基本的電気素子)
要約
【課題】小型化に寄与し、垂直偏波と水平偏波との両偏波に対応可能な誘導体イメージ線路アンテナ及びアンテナ装置を提供する。
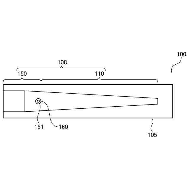
【解決手段】誘導体イメージ線路アンテナ100は、導体によって構成された平板状の地板105と、地板105上において、地板105と接して設けられるアンテナ素子108とを備える。アンテナ素子108は、電波を伝搬する導波部110と、電波を放射する素子を含む励振部150とを有する。導波部110は、誘電体によって構成され、アンテナ素子108の上面視において少なくとも一部がテーパ状であり、励振部150は、導波部110と接して設けられる、または導波部110に含まれるように設けられる。
【選択図】図1
特許請求の範囲
【請求項1】
導体によって構成された平板状の地板と、
前記地板上において、前記地板と接して設けられるアンテナ素子と
を備え、
前記アンテナ素子は、
電波を伝搬する導波部と、
前記電波を放射する素子を含む励振部と
を有し、
前記導波部は、誘電体によって構成され、前記アンテナ素子の上面視において少なくとも一部がテーパ状であり、
前記励振部は、前記導波部と接して設けられる、または前記導波部に含まれるように設けられる誘導体イメージ線路アンテナ。
続きを表示(約 660 文字)
【請求項2】
前記励振部は、水平偏波用のダイポールアンテナによって構成される請求項1に記載の誘導体イメージ線路アンテナ。
【請求項3】
前記励振部は、垂直偏波用のモノポールアンテナによって構成される請求項1に記載の誘導体イメージ線路アンテナ。
【請求項4】
前記アンテナ素子は、垂直方向において傾けて配置される請求項1に記載の誘導体イメージ線路アンテナ。
【請求項5】
前記導波部は、前記誘電体と導体板との積層構造を有する請求項1に記載の誘導体イメージ線路アンテナ。
【請求項6】
請求項1乃至5の何れかの誘導体イメージ線路アンテナを放射状に複数配置したアンテナ装置。
【請求項7】
請求項2の誘導体イメージ線路アンテナと、請求項3の誘導体イメージ線路アンテナとを側面方向において並べて配置したアンテナ装置。
【請求項8】
請求項2の誘導体イメージ線路アンテナと、請求項3の誘導体イメージ線路アンテナとを放射状に交互に配置したアンテナ装置。
【請求項9】
請求項2の誘導体イメージ線路アンテナの励振部と、請求項3の誘導体イメージ線路アンテナの励振部とを同心円上に配置した請求項8に記載のアンテナ装置。
【請求項10】
請求項2の誘導体イメージ線路アンテナの励振部と、請求項3の誘導体イメージ線路アンテナの励振部とを、半径方向において異なる位置に配置した請求項8に記載のアンテナ装置。
発明の詳細な説明
【技術分野】
【0001】
本開示は、移動体通信用の基地局アンテナなどとして用いることができる誘導体イメージ線路アンテナ及びアンテナ装置に関する。
続きを表示(約 2,100 文字)
【背景技術】
【0002】
従来、垂直偏波用の指向性アンテナ素子と、水平偏波用の指向性アンテナ素子とを同一基板上に配置し、水平面内において全方向(360度)へのビーム照射が可能なアンテナ装置が提案されている(特許文献1)。
【0003】
また、誘導体ロッド(誘導体イメージ線路)を用いて利得や半値幅を制御でき、水平面内に複数セクタのビーム照射が可能なマルチビーム誘導体ロッドアンテナシステムも提案されている(非特許文献1)。
【先行技術文献】
【特許文献】
【0004】
特開2023-034234号公報
【非特許文献】
【0005】
佐藤他、“マルチビーム誘電体ロッドアンテナシステム”、電子情報通信学会論文誌B Vol.J106-B No.12 pp.797-804、2023年12月
【発明の概要】
【発明が解決しようとする課題】
【0006】
特許文献1に開示されているアンテナ装置は、八木・宇田アンテナを用いており、基板(地板)からの一定の距離を確保する必要があるため、どうしても高さ方向のサイズが大きくなる課題がある。
【0007】
また、非特許文献1に開示されているマルチビーム誘導体ロッドアンテナシステムは、片方の偏波のみにしか対応できない。
【0008】
そこで、以下の開示は、このような状況に鑑みてなされたものであり、小型化に寄与し、垂直偏波と水平偏波との両偏波に対応可能な誘導体イメージ線路アンテナ及びアンテナ装置の提供を目的とする。
【課題を解決するための手段】
【0009】
本開示の一態様は、導体によって構成された平板状の地板(例えば、地板105, 地板205)と、前記地板上において、前記地板と接して設けられるアンテナ素子(アンテナ素子108, アンテナ素子208)とを備え、前記アンテナ素子は、電波を伝搬する導波部(導波部110, 導波部210)と、前記電波を放射する素子を含む励振部(励振部150, 励振部250)とを有し、前記導波部は、誘電体によって構成され、前記アンテナ素子の上面視において少なくとも一部がテーパ状であり、前記励振部は、前記導波部と接して設けられる、または前記導波部に含まれるように設けられる誘導体イメージ線路アンテナ(誘導体イメージ線路アンテナ100, 誘導体イメージ線路アンテナ200)である。
【図面の簡単な説明】
【0010】
図1は、誘導体イメージ線路アンテナ100の平面図である。
図2Aは、実施例1に係るアンテナ装置10の平面図である。
図2Bは、実施例1に係るアンテナ装置10の斜視図である。
図3は、誘導体イメージ線路アンテナ200の平面図(寸法を含む)である。
図4は、誘導体イメージ線路アンテナ200の側面図である。
図5は、誘導体イメージ線路アンテナ100の平面図(寸法を含む)である。
図6は、誘導体イメージ線路アンテナ100の側面図である。
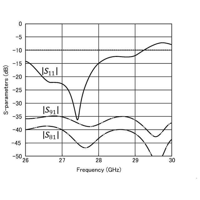
図7は、主に水平偏波を放射する実施例1の指向性アンテナ素子のSパラメータを示す図である。
図8は、主に垂直偏波を放射する実施例1の指向性アンテナ素子のSパラメータを示す図である。
図9は、実施例1に係る指向性アンテナ素子の水平面内指向性を示す図である。
図10は、実施例1に係る指向性アンテナ素子の垂直面内指向性を示す図である。
図11は、実施例2に係るアンテナ装置10Aの平面図である。
図12は、主に水平偏波を放射する実施例2の指向性アンテナ素子のSパラメータを示す図である。
図13は、主に垂直偏波を放射する実施例2の指向性アンテナ素子のSパラメータを示す図である。
図14は、実施例2に係る指向性アンテナ素子の水平面内指向性を示す図である。
図15は、実施例2に係る指向性アンテナ素子の垂直面内指向性を示す図である。
図16は、実施例3に係るアンテナ装置10Bの平面図である。
図17は、実施例4に係るアンテナ装置10Cの斜視図である。
図18は、実施例4に係る誘導体イメージ線路アンテナ200Aのチルト状態を模式的に示す図である。
図19は、実施例4に係る指向性アンテナ素子のSパラメータを示す図である。
図20は、実施例4に係る指向性アンテナ素子の指向性を示す図である。
図21は、実施例5に係る指向性アンテナ素子の指向性を示す図である。
図22は、実施例6に係る指向性アンテナ素子の指向性を示す図である。
図23は、実施例7に係る指向性アンテナ素子のSパラメータを示す図である。
図24は、実施例8に係る指向性アンテナ素子のSパラメータを示す図である。
【発明を実施するための形態】
(【0011】以降は省略されています)
この特許をJ-PlatPat(特許庁公式サイト)で参照する
関連特許
株式会社NTTドコモ
端末及び通信方法
18日前
株式会社NTTドコモ
端末及び通信方法
23日前
株式会社NTTドコモ
端末及び通信方法
20日前
株式会社NTTドコモ
端末及び通信方法
20日前
株式会社NTTドコモ
端末及び測位方法
10日前
株式会社NTTドコモ
端末及び通信方法
10日前
株式会社NTTドコモ
端末及び通信方法
19日前
株式会社NTTドコモ
管理装置及び管理方法
23日前
株式会社NTTドコモ
情報処理装置及び方法
17日前
株式会社NTTドコモ
管理装置及び管理方法
23日前
株式会社NTTドコモ
生成装置及び生成方法
11日前
株式会社NTTドコモ
管理装置及び管理方法
23日前
株式会社NTTドコモ
生成システム及び生成方法
1か月前
株式会社NTTドコモ
端末、無線通信方法及び基地局
10日前
株式会社NTTドコモ
測位支援装置及び測位支援方法
25日前
株式会社NTTドコモ
人物同定装置、及び人物同定方法
9日前
株式会社NTTドコモ
電力監視装置、及び、電力監視方法
25日前
株式会社NTTドコモ
情報処理装置及びナビゲーション方法
9日前
株式会社NTTドコモ
端末
19日前
株式会社NTTドコモ
端末
25日前
株式会社NTTドコモ
太陽電池の配置支援装置及び太陽電池の配置支援方法
23日前
株式会社NTTドコモ
端末、及び基地局
4日前
株式会社NTTドコモ
端末及び通信方法
9日前
株式会社NTTドコモ
端末及び無線通信方法
4日前
株式会社NTTドコモ
通信制御方法、端末、通信制御装置、通信制御システム、通信制御プログラム
1か月前
株式会社NTTドコモ
端末、無線通信システム及び無線通信方法
25日前
株式会社NTTドコモ
端末、無線通信システム及び無線通信方法
19日前
APB株式会社
蓄電セル
1か月前
東ソー株式会社
絶縁電線
1か月前
日機装株式会社
加圧装置
2日前
日新イオン機器株式会社
イオン源
2日前
マクセル株式会社
電源装置
1か月前
ローム株式会社
半導体装置
1か月前
株式会社東芝
端子台
1か月前
株式会社ホロン
冷陰極電子源
1か月前
株式会社GSユアサ
蓄電装置
1か月前
続きを見る
他の特許を見る