TOP
|
特許
|
意匠
|
商標
特許ウォッチ
Twitter
他の特許を見る
公開番号
2025131025
公報種別
公開特許公報(A)
公開日
2025-09-09
出願番号
2024028504
出願日
2024-02-28
発明の名称
学習プログラム、学習方法及び学習装置
出願人
住友電気工業株式会社
代理人
個人
,
個人
,
個人
,
個人
主分類
G06T
7/00 20170101AFI20250902BHJP(計算;計数)
要約
【課題】疑似画像を用いた機械学習によって生成した学習済みモデルの精度の向上が図れる学習プログラム、学習方法及び学習装置を提供する。
【解決手段】学習プログラムは、撮影された良品画像、及び、擬似的に生成され且つ不良部分を含む不良画像を取得する画像取得ステップと、良品画像の第一特徴、及び、不良画像において不良部分以外の領域の第二特徴を取得する特徴取得ステップと、特徴取得ステップにおいて取得された第一特徴と第二特徴とが類似するか否かを判定する判定ステップと、判定ステップにおいて第一特徴と第二特徴とが類似すると判定された場合、当該第二特徴を有する不良画像を用いて、学習モデルの機械学習を行う学習ステップと、をコンピュータに実行させる。
【選択図】図2
特許請求の範囲
【請求項1】
少なくとも一つのプロセッサにおいて実行され、学習モデルの機械学習を行う学習プログラムであって、
撮影された良品画像、及び、擬似的に生成され且つ不良部分を含む不良画像を取得する画像取得ステップと、
前記良品画像の第一特徴、及び、前記不良画像において前記不良部分以外の領域の第二特徴を取得する特徴取得ステップと、
前記特徴取得ステップにおいて取得された前記第一特徴と前記第二特徴とが類似するか否かを判定する判定ステップと、
前記判定ステップにおいて前記第一特徴と前記第二特徴とが類似すると判定された場合、当該第二特徴を有する前記不良画像を用いて、前記学習モデルの機械学習を行う学習ステップと、
をコンピュータに実行させる、学習プログラム。
続きを表示(約 1,000 文字)
【請求項2】
前記特徴取得ステップでは、前記不良画像の前記不良部分をマスクし、前記不良画像において前記不良部分以外の領域の特徴を取得する、請求項1に記載の学習プログラム。
【請求項3】
前記特徴取得ステップでは、入力層、1層以上の中間層及び出力層を含んで構成されるニューラルネットワークの前記入力層に前記良品画像及び前記不良画像のそれぞれを入力し、前記第一特徴及び前記第二特徴を取得する、請求項1又は請求項2に記載の学習プログラム。
【請求項4】
前記特徴取得ステップでは、前記中間層又は前記出力層の出力を前記第一特徴及び前記第二特徴として取得する、請求項3に記載の学習プログラム。
【請求項5】
前記特徴取得ステップでは、前記良品画像及び前記不良画像に画像処理を行い、前記第一特徴及び前記第二特徴を取得する、請求項1又は請求項2に記載の学習プログラム。
【請求項6】
少なくとも一つのプロセッサにおいて実行され、学習モデルの機械学習を行う学習方法であって、
撮影された良品画像、及び、擬似的に生成され且つ不良部分を含む不良画像を取得する画像取得ステップと、
前記良品画像の第一特徴、及び、前記不良画像において前記不良部分以外の領域の第二特徴を取得する特徴取得ステップと、
前記特徴取得ステップにおいて取得された前記第一特徴と前記第二特徴とが類似するか否かを判定する判定ステップと、
前記判定ステップにおいて前記第一特徴と前記第二特徴とが類似すると判定された場合、当該第二特徴を有する前記不良画像を用いて、前記学習モデルの機械学習を行う学習ステップと、を含む、学習方法。
【請求項7】
少なくとも一つのプロセッサを備え、学習モデルの機械学習を行う学習装置であって、
撮影された良品画像、及び、擬似的に生成され且つ不良部分を含む不良画像を取得する画像取得部と、
前記良品画像の第一特徴、及び、前記不良画像において前記不良部分以外の領域の第二特徴を取得する特徴取得部と、
前記特徴取得部において取得された前記第一特徴と前記第二特徴とが類似するか否かを判定する判定部と、
前記判定部において前記第一特徴と前記第二特徴とが類似すると判定された場合、当該第二特徴を有する前記不良画像を用いて、前記学習モデルの機械学習を行う学習部と、を備える、学習装置。
発明の詳細な説明
【技術分野】
【0001】
本開示は、学習プログラム、学習方法及び学習装置に関する。
続きを表示(約 1,700 文字)
【背景技術】
【0002】
特許文献1には、不良部画像の画像データである不良部データを記憶する不良部データ記憶部と、良品画像の画像データである良品データを記憶する良品データ記憶部と、不良部データ、良品データ、及び生成パラメータに基づいて、良品画像に不良部画像を合成した学習画像の画像データである学習データを生成する学習データ生成部と、学習データを記憶する学習データ記憶部と、生成パラメータを設定する生成パラメータ設定部と、を備える学習データ生成装置が開示されている。
【先行技術文献】
【特許文献】
【0003】
特開2020-27424号公報
【発明の概要】
【発明が解決しようとする課題】
【0004】
物品の検査方法として、機械学習によって生成された学習済みモデルに物品を含む画像を入力して、学習済みモデルから出力される予測結果に応じて物品を検査する方法がある。予測精度を向上させるためには、多くの教師データを用いて学習済みモデルを生成することが好ましい。しかしながら、実際の検査工程においては、不良品の発生は多くないため、不良品に関する不良画像(実画像)を多く得ることは困難である。そのため、多くの不良画像を得るために時間を要するため、学習済みモデルの生成に時間を要する。そこで、上記のように、不良画像の疑似画像を生成し、疑似画像を教師データとして用いて学習モデルの機械学習を行っている。
【0005】
しかしながら、生成された疑似画像の品質(特徴)は、実際に撮影された実画像の品質と同等であるとは限らない。疑似画像の品質と実画像の品質とが異なる場合、その疑似画像を用いて学習モデルの機械学習を行ったとしても、学習済みモデルの精度は向上しない。
【0006】
本開示は、疑似画像を用いた機械学習によって生成した学習済みモデルの精度の向上が図れる学習プログラム、学習方法及び学習装置を提供することを目的とする。
【課題を解決するための手段】
【0007】
本開示の一実施形態に係る学習プログラムは、少なくとも一つのプロセッサにおいて実行され、学習モデルの機械学習を行う学習プログラムであって、撮影された良品画像、及び、擬似的に生成され且つ不良部分を含む不良画像を取得する画像取得ステップと、良品画像の第一特徴、及び、不良画像において不良部分以外の領域の第二特徴を取得する特徴取得ステップと、特徴取得ステップにおいて取得された第一特徴と第二特徴とが類似するか否かを判定する判定ステップと、判定ステップにおいて第一特徴と第二特徴とが類似すると判定された場合、当該第二特徴を有する不良画像を用いて、学習モデルの機械学習を行う学習ステップと、をコンピュータに実行させる。
【発明の効果】
【0008】
本開示によれば、疑似画像を用いた機械学習によって生成した学習済みモデルの精度の向上が図れる。
【図面の簡単な説明】
【0009】
図1は、一実施形態に係る予測システムで用いられるコンピュータのハードウェア構成の一例を示す図である。
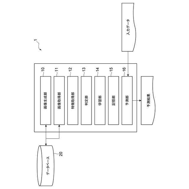
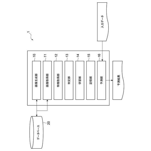
図2は、予測システムの機能構成の一例を示す図である。
図3は、特徴取得部における特徴取得処理の一例を示す図である。
図4は、ニューラルネットワークの一例を示す図である。
図5は、特徴空間における分布の一例を示す図である。
図6は、学習方法、及び、学習済みモデルの生成の一例を処理フローとして示すフローチャートである。
図7は、予測方法の一例を処理フローとして示すフローチャートである。
【発明を実施するための形態】
【0010】
[本開示の実施形態の説明]
最初に、本開示の実施形態の内容を列記して説明する。以下に記載する実施形態の少なくとも一部を任意に組み合わせてもよい。
(【0011】以降は省略されています)
この特許をJ-PlatPat(特許庁公式サイト)で参照する
関連特許
住友電気工業株式会社
空気ばね
3日前
住友電気工業株式会社
受光素子
1日前
住友電気工業株式会社
半導体装置
3日前
住友電気工業株式会社
半導体装置およびその製造方法
今日
住友電気工業株式会社
受光素子、および受光素子の製造方法
3日前
住友電気工業株式会社
蓄電システム、電力供給システムおよび制御方法
3日前
株式会社オートネットワーク技術研究所
追加外装部品
3日前
株式会社オートネットワーク技術研究所
車載機器の支持装置
3日前
株式会社オートネットワーク技術研究所
追加配線部材の配索構造
3日前
株式会社オートネットワーク技術研究所
配策構造及び配線ユニット
3日前
株式会社オートネットワーク技術研究所
ワイヤハーネスの配索構造
3日前
株式会社オートネットワーク技術研究所
外装部品ユニットおよびカバー部材
3日前
株式会社オートネットワーク技術研究所
車載機器の支持装置および被ガイド体
3日前
株式会社オートネットワーク技術研究所
車両用ドア及び車両用ドアの交換用内装
3日前
株式会社オートネットワーク技術研究所
配線部材組付体及び追加配線部材組付モジュール
3日前
株式会社オートネットワーク技術研究所
配線部材組付体及び追加配線部材組付モジュール
3日前
株式会社オートネットワーク技術研究所
ワイヤーハーネス
2日前
住友電気工業株式会社
炭化珪素基板、炭化珪素基板の製造方法、炭化珪素エピタキシャル基板の製造方法、炭化珪素エピタキシャル基板、炭化珪素半導体装置の製造方法、および炭化珪素半導体装置
3日前
個人
裁判のAI化
2か月前
個人
工程設計支援装置
1か月前
個人
地球保全システム
1日前
個人
フラワーコートA
1か月前
個人
介護情報提供システム
2か月前
個人
冷凍食品輸出支援構造
28日前
個人
為替ポイント伊達夢貯
28日前
個人
設計支援システム
2か月前
個人
表変換編集支援システム
21日前
個人
設計支援システム
2か月前
個人
携帯情報端末装置
1か月前
個人
結婚相手紹介支援システム
1か月前
個人
知財出願支援AIシステム
28日前
個人
AIによる情報の売買の仲介
1か月前
個人
行動時間管理システム
23日前
株式会社カクシン
支援装置
2か月前
個人
パスワード管理支援システム
21日前
株式会社キーエンス
受発注システム
今日
続きを見る
他の特許を見る