TOP
|
特許
|
意匠
|
商標
特許ウォッチ
Twitter
他の特許を見る
公開番号
2025130374
公報種別
公開特許公報(A)
公開日
2025-09-08
出願番号
2024027502
出願日
2024-02-27
発明の名称
情報処理装置、情報処理方法、およびプログラム
出願人
沖電気工業株式会社
代理人
個人
,
個人
,
個人
主分類
G06Q
40/02 20230101AFI20250901BHJP(計算;計数)
要約
【課題】エントリデータの滞留を軽減することを可能とする。
【解決手段】帳票のエントリを行ったオペレータの情報と、ベリファイが可能なオペレータの情報と、に基づいて、エントリデータのベリファイを行うオペレータとして、前記エントリデータのエントリを行ったオペレータ以外のオペレータの有無を判定する判定部と、前記判定の結果に応じて前記帳票のエントリデータの送信先を制御する送信制御部と、を備える、情報処理装置。
【選択図】図1
特許請求の範囲
【請求項1】
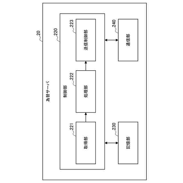
帳票のエントリを行ったオペレータの情報と、ベリファイが可能なオペレータの情報と、に基づいて、エントリデータのベリファイを行うオペレータとして、前記エントリデータのエントリを行ったオペレータ以外のオペレータの有無を判定する判定部と、
前記判定の結果に応じて前記帳票のエントリデータの送信先を制御する送信制御部と、
を備える、情報処理装置。
続きを表示(約 1,300 文字)
【請求項2】
前記送信制御部は、前記判定部により、ベリファイが可能なオペレータが、前記エントリを行ったオペレータのみであり、当該オペレータ以外のオペレータがいないと判定された場合、前記エントリデータを、前記エントリを行ったオペレータの端末に送信する制御を行う、請求項1に記載の情報処理装置。
【請求項3】
前記エントリを行ったオペレータにより前記エントリデータのべリファイが行われた場合、前記送信制御部は、前記オペレータによる前記エントリデータのベリファイの結果であるベリファイデータを承認者の端末に送信する制御を行う、請求項2に記載の情報処理装置。
【請求項4】
前記送信制御部は、前記承認者により承認が得られた場合、前記ベリファイデータを含んだ仕向電文をホストに送信する制御を行う、請求項3に記載の情報処理装置。
【請求項5】
前記送信制御部は、前記判定部により、ベリファイが可能なオペレータが、前記エントリを行ったオペレータのみであり、当該オペレータ以外のオペレータがいないと判定された場合、前記エントリデータを、承認者の端末に送信する制御を行う、請求項1に記載の情報処理装置。
【請求項6】
前記情報処理装置は、前記承認者の端末から、前記承認者による前記エントリデータのベリファイの結果として、ベリファイデータを受信する、請求項5に記載の情報処理装置。
【請求項7】
前記送信制御部は、前記判定部により、ベリファイが可能なオペレータが、前記エントリを行ったオペレータのみであり、当該オペレータ以外のオペレータがいないと判定された場合、承認者の端末に、前記オペレータ以外の者をベリファイ者にするよう指示する注意メッセージを送信する制御を行う、請求項1に記載の情報処理装置。
【請求項8】
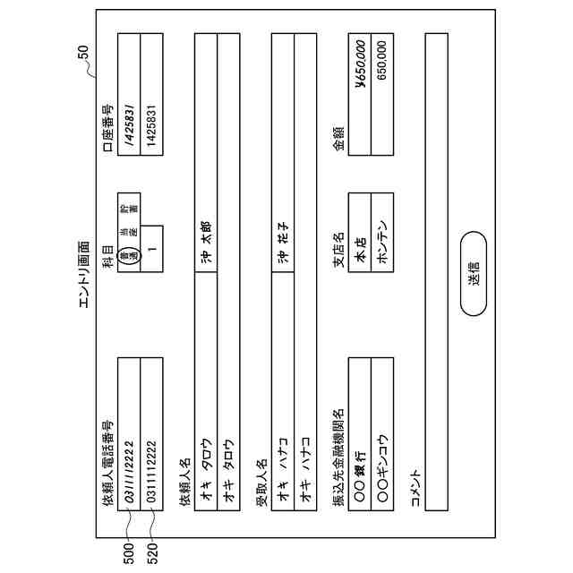
前記帳票は、振込依頼書であって、
前記エントリデータは、前記振込依頼に係る複数の項目それぞれに対応するエントリデータである、
請求項1~7のいずれか1項に記載の情報処理装置。
【請求項9】
プロセッサが、
帳票のエントリを行ったオペレータの情報と、ベリファイが可能なオペレータの情報と、に基づいて、エントリデータのベリファイを行うオペレータとして、前記エントリデータのエントリを行ったオペレータ以外のオペレータの有無を判定することと、
前記判定の結果に応じて前記帳票のエントリデータの送信先を制御することと、
を含む、
情報処理方法。
【請求項10】
コンピュータを、
帳票のエントリを行ったオペレータの情報と、ベリファイが可能なオペレータの情報と、に基づいて、エントリデータのベリファイを行うオペレータとして、前記エントリデータのエントリを行ったオペレータ以外のオペレータの有無を判定する判定部と、
前記判定の結果に応じて前記帳票のエントリデータの送信先を制御する送信制御部と、
として機能させる、プログラム。
発明の詳細な説明
【技術分野】
【0001】
本発明は、情報処理装置、情報処理方法、およびプログラムに関する。
続きを表示(約 1,500 文字)
【背景技術】
【0002】
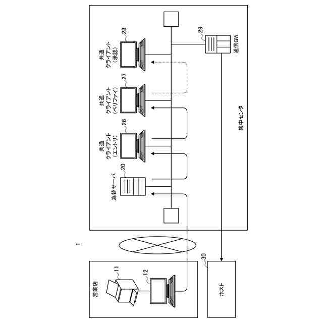
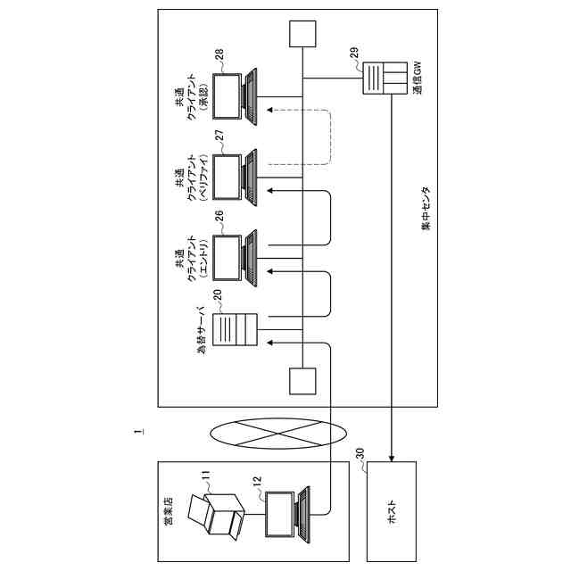
金融機関では、営業店と集中センタが連携することで振込処理が行われる。例えば、依頼人が金融機関の営業店を訪れ、所定の振込依頼書に必要事項を記入して当該振込依頼書を窓口に提出すると、窓口の受付端末のスキャナにより振込依頼書が読み取られ、当該読み取りにより得られた振込データが集中センタに送信される。そして、集中センタにおいて振込データに基づいて仕向電文が生成され、当該仕向電文がホストに送信されることで、振込が実行される。
【0003】
受付端末における振込依頼書のスキャンでは、振込依頼書のイメージデータに対して文字認識が施されることによって、振込依頼書に含まれる複数の項目それぞれに対応する文字認識結果が得られる。かかる文字認識結果も含まれた振込データが窓口の受付端末から集中センタに送信される。
【0004】
集中センタでは、1人目のオペレータが、複数の項目それぞれのイメージを目視しながら、複数の項目それぞれに対応する文字認識結果を必要に応じて修正する。文字認識結果または文字認識結果の修正結果は、エントリデータとして為替サーバに送信される。そして、2人目のオペレータが、項目に対応するデータをエントリデータとは別に入力する。あるいは、2人目のオペレータは、項目に対応するエントリデータを修正する。2人目のオペレータによって入力されたデータまたはエントリデータの修正結果は、ベリファイデータとして為替サーバに送信される。
【0005】
為替サーバにおいては、エントリデータとベリファイデータとが一致するか否かを判定する。そして、エントリデータと不一致であるベリファイデータがある場合には、3人目のオペレータによってエントリデータと不一致であるベリファイデータに対する承認または差し戻しがなされる。
【0006】
特許文献1には、エントリ処理やベリファイ処理といった各業務の未処理件数等の進捗状況を把握し、未処理量が所定の閾値に達した際にアラーム出力を行うシステムが開示されている。かかる技術により、業務効率化が図られる。
【先行技術文献】
【特許文献】
【0007】
特開2004-102389号公報
【発明の概要】
【発明が解決しようとする課題】
【0008】
振込処理におけるデータ等の帳票データの確認においては、不正防止のために、エントリを行ったオペレータとは別のオペレータにエントリデータを送信し、ベリファイ処理を行わせる。しかしながら、あるデータのエントリを行ったオペレータが後にベリファイ者に変わり、ベリファイ者が当該オペレータ一人しかいない場合、エントリデータをベリファイ者に送信できず、データが滞留してしまう。
【0009】
そこで、本発明は、上記問題に鑑みてなされたものであり、本発明の目的とするところは、エントリデータの滞留を軽減することが可能な、新規かつ改良された情報処理装置、情報処理方法、およびプログラムを提供することにある。
【課題を解決するための手段】
【0010】
上記課題を解決するために、本発明のある観点によれば、帳票のエントリを行ったオペレータの情報と、ベリファイが可能なオペレータの情報と、に基づいて、エントリデータのベリファイを行うオペレータとして、前記エントリデータのエントリを行ったオペレータ以外のオペレータの有無を判定する判定部と、前記判定の結果に応じて前記帳票のエントリデータの送信先を制御する送信制御部と、を備える、情報処理装置が提供される。
(【0011】以降は省略されています)
この特許をJ-PlatPat(特許庁公式サイト)で参照する
関連特許
沖電気工業株式会社
印刷装置
4日前
沖電気工業株式会社
画像形成装置
今日
沖電気工業株式会社
画像形成装置
8日前
沖電気工業株式会社
画像形成装置
8日前
沖電気工業株式会社
情報処理装置
5日前
沖電気工業株式会社
棒金収納装置
5日前
沖電気工業株式会社
現金処理装置及び印字装置
18日前
沖電気工業株式会社
紙葉類取扱装置及び現金処理装置
12日前
沖電気工業株式会社
プリンタドライバ及び画像形成装置
今日
沖電気工業株式会社
部品管理装置、プログラムおよび方法
8日前
沖電気工業株式会社
直流電源装置および二次電池充電方法
8日前
沖電気工業株式会社
媒体取扱ユニット、及び、媒体取扱装置
今日
沖電気工業株式会社
現像剤収容体、画像形成ユニット、及び画像形成装置
4日前
沖電気工業株式会社
駆動制御装置、駆動制御システム、駆動制御方法及び貨幣処理装置
4日前
沖電気工業株式会社
ナビゲーションシステム
7日前
沖電気工業株式会社
伝送装置のための制御装置、パス設定方法、およびプログラム並びに伝送システム
4日前
沖電気工業株式会社
表示装置、プログラム及び表示方法
4日前
個人
地球保全システム
6日前
個人
フラワーコートA
2か月前
個人
工程設計支援装置
1か月前
個人
冷凍食品輸出支援構造
1か月前
個人
為替ポイント伊達夢貯
1か月前
個人
表変換編集支援システム
26日前
個人
携帯情報端末装置
1か月前
個人
結婚相手紹介支援システム
1か月前
個人
知的財産出願支援システム
今日
個人
知財出願支援AIシステム
1か月前
個人
AIによる情報の売買の仲介
1か月前
個人
行動時間管理システム
28日前
個人
パスワード管理支援システム
26日前
個人
パスポートレス入出国システム
1か月前
個人
AIキャラクター制御システム
26日前
日本精機株式会社
施工管理システム
1か月前
株式会社キーエンス
受発注システム
5日前
個人
アンケート支援システム
2か月前
個人
海外支援型農作物活用システム
18日前
続きを見る
他の特許を見る