TOP
|
特許
|
意匠
|
商標
特許ウォッチ
Twitter
他の特許を見る
公開番号
2025127381
公報種別
公開特許公報(A)
公開日
2025-09-01
出願番号
2024024094
出願日
2024-02-20
発明の名称
脱臭分解剤並びに脱臭塗料、脱臭多孔質材及び脱臭内装材
出願人
三商株式会社
,
株式会社WELLNEST HOME
,
旭化成ホームズ株式会社
代理人
個人
,
個人
,
個人
,
個人
主分類
A61L
9/00 20060101AFI20250825BHJP(医学または獣医学;衛生学)
要約
【課題】様々な種類の臭気成分を除去することができる脱臭分解剤を提供すること。
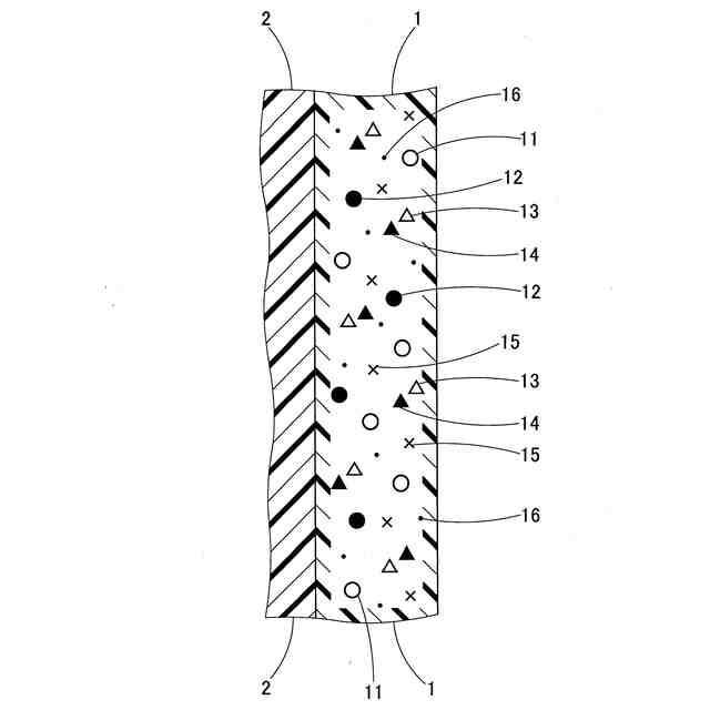
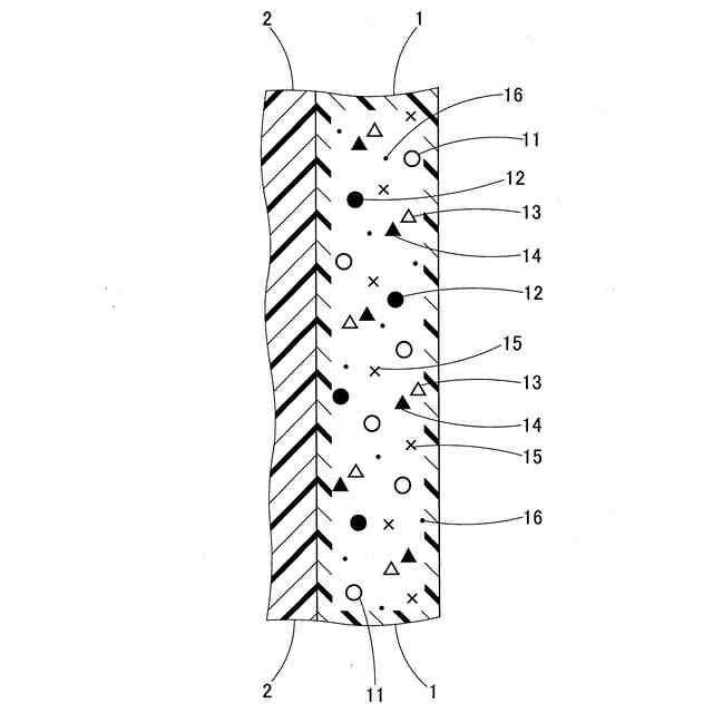
【解決手段】脱臭分解剤は、触媒として酸化亜鉛13及び酸化アルミニウム14を含有し、吸着剤としてゼオライトを含有し、ゼオライトのSiO
2
/Al
2
O
3
モル比が5~500であるものである。ゼオライトのSiO
2
/Al
2
O
3
モル比が5~500であることによって、ゼオライトは、非極性物質に対する親和性が高くなり、水などの極性物質より非極性物質の有機化合物を多く吸着する。脱臭分解剤は、有機化合物の臭気成分を優先的に吸着し、ゼオライトに吸着された臭気成分は、吸着と脱着とを繰り返し、見掛け上、吸着は平衡状態となる。臭気成分は、吸着と脱着とを繰り返すため、触媒との接触が繰り返させられ、分解が促進される。
【選択図】図1
特許請求の範囲
【請求項1】
酸化亜鉛、酸化アルミニウム及びゼオライトを含有し、該ゼオライトのSiO
2
/Al
2
O
3
モル比が5~500であることを特徴とする脱臭分解剤。
続きを表示(約 400 文字)
【請求項2】
前記ゼオライトは、直径が0.3~0.9nmの細孔を有していることを特徴とする請求項1に記載の脱臭分解剤。
【請求項3】
前記ゼオライトは、直径が0.3~0.6nmの細孔を有しているものと直径が0.65~0.9nmの細孔を有しているものとの組み合わせであることを特徴とする請求項1に記載の脱臭分解剤。
【請求項4】
光触媒酸化チタン及び/又は酸化マンガンを含有することを特徴とする請求項1に記載の脱臭分解剤。
【請求項5】
請求項1~4の何れかに記載の脱臭分解剤を含有することを特徴とする脱臭塗料。
【請求項6】
請求項1~4の何れかに記載の脱臭分解剤を表面に備えることを特徴とする脱臭多孔質材。
【請求項7】
請求項1~4の何れかに記載の脱臭分解剤を表面に備えることを特徴とする脱臭内装材。
発明の詳細な説明
【技術分野】
【0001】
本明細書の技術分野は、建築物の内部の臭気成分を除去及び分解する脱臭分解剤、並びに、脱臭分解剤を備える脱臭塗料、脱臭多孔質材及び脱臭内装材に関する。
続きを表示(約 1,500 文字)
【背景技術】
【0002】
従来から、建築物の内部の臭気成分を除去する塗料や内装材が知られている。特許文献1には、ホルムアルデヒドを除去する内装材が記載されている。特許文献2には、ホルムアルデヒドとアセトアルデヒドを除去する塗料が記載されている。また、特許文献3には、アンモニア、アセトアルデヒド、酢酸を除去する内装材が記載されている。
【先行技術文献】
【特許文献】
【0003】
特開平11-286899号公報
特開平10-330681号公報
特開2003-13372号公報
【発明の概要】
【発明が解決しようとする課題】
【0004】
建築物の内部には、様々な種類の臭気成分が存在する。しかし、従来の臭気成分を除去する塗料や内装材は、除去することができる臭気成分の種類に限りがあり、様々な種類の臭気成分を除去することができないという課題があった。
【0005】
本明細書の技術は、上述の点に鑑みてなされたものであり、様々な種類の臭気成分を除去することができる脱臭分解剤並びに塗料、多孔質材及び内装材を提供することを目的とする。
【課題を解決するための手段】
【0006】
本明細書の実施形態に係る脱臭分解剤は、酸化亜鉛、酸化アルミニウム及びゼオライトを含有し、該ゼオライトのSiO
2
/Al
2
O
3
モル比が5~500であることを特徴とする。
【0007】
本明細書の実施形態に係る脱臭分解剤によれば、触媒として酸化亜鉛と酸化アルミニウムとが含有され、酸化亜鉛と酸化アルミニウムは、臭気成分の分解を促進し、分解されやすい臭気成分が触媒によって即座に分解される。脱臭分解剤には吸着剤としてゼオライトが含有され、ゼオライトのSiO
2
/Al
2
O
3
モル比(シリカ/アルミナ モル比)が5~500であることによって、ゼオライトは、非極性物質に対する親和性が高くなり、水などの極性物質より非極性物質の有機化合物を多く吸着する。臭気成分の有機化合物のうち触媒によって分解され難いものは、ゼオライトに吸着されるとともに、ゼオライトからの吸脱着を繰り返す。これにより、分解され難い臭気成分は、触媒としての酸化亜鉛と酸化アルミニウムとの接触が繰り返させられ、分解が促進される。つまり、実施形態の脱臭分解剤によれば、分解されやすい臭気成分は、触媒としての酸化亜鉛と酸化アルミニウムに接触することによって分解が促進され、分解され難い有機化合物からなる臭気成分は、ゼオライトからの吸脱着が繰り返されることにより、触媒との接触が繰り返させられ、分解が促進される。このため、実施形態の脱臭分解剤は、分解されやすい臭気成分から分解され難い臭気成分まで、様々な種類の臭気成分を減衰させることができる。
【0008】
ここで、前記ゼオライトは、直径が0.3~0.9nmの細孔を有しているものとすることができる。
【0009】
これによれば、実施形態の脱臭分解剤は、ゼオライトの細孔の直径により吸着することができる有機化合物が多種類に及ぶため、様々な種類の臭気成分を好適に減衰させることができる。
【0010】
また、前記ゼオライトは、直径が0.3~0.6nmの細孔を有しているものと直径が0.65~0.9nmの細孔を有しているものとの組み合わせであるものとすることができる。
(【0011】以降は省略されています)
この特許をJ-PlatPat(特許庁公式サイト)で参照する
関連特許
三商株式会社
食器用洗剤組成物
1か月前
三商株式会社
脱臭分解剤並びに脱臭塗料、脱臭多孔質材及び脱臭内装材
3か月前
個人
貼付剤
1か月前
個人
健康器具
9か月前
個人
簡易担架
16日前
個人
腋臭防止剤
16日前
個人
鼾防止用具
9か月前
個人
短下肢装具
4か月前
個人
足踏み器具
23日前
個人
白内障治療法
8か月前
個人
前腕誘導装置
4か月前
個人
洗井間専家。
8か月前
個人
嚥下鍛錬装置
4か月前
個人
排尿補助器具
1か月前
個人
脈波測定方法
9か月前
個人
歯の修復用材料
5か月前
個人
汚れ防止シート
2か月前
個人
胸骨圧迫補助具
2か月前
個人
バッグ式オムツ
5か月前
個人
ウォート指圧法
1か月前
個人
ホバーアイロン
7か月前
個人
アイマスク装置
3か月前
個人
矯正椅子
6か月前
個人
腰ベルト
1か月前
個人
陣痛緩和具
4か月前
個人
美容セット
25日前
三生医薬株式会社
錠剤
8か月前
個人
哺乳瓶冷まし容器
4か月前
個人
排尿排便補助器具
18日前
個人
シャンプー
7か月前
個人
車椅子持ち上げ器
8か月前
個人
歯の保護用シール
6か月前
個人
湿布連続貼り機。
3か月前
個人
性行為補助具
4か月前
株式会社大野
骨壷
5か月前
個人
服薬支援装置
8か月前
続きを見る
他の特許を見る