TOP
|
特許
|
意匠
|
商標
特許ウォッチ
Twitter
他の特許を見る
公開番号
2025126347
公報種別
公開特許公報(A)
公開日
2025-08-28
出願番号
2025111202,2021123765
出願日
2025-07-01,2021-07-29
発明の名称
編成樹脂構造体製造装置
出願人
株式会社エコ・ワールド
代理人
個人
,
個人
,
個人
主分類
D04H
3/033 20120101AFI20250821BHJP(組みひも;レース編み;メリヤス編成;縁とり;不織布)
要約
【課題】溶融樹脂集合体の厚みが不定の場合であっても、集合体と引込部の両側との接触面積が大きい編成樹脂構造体製造装置を提供する。
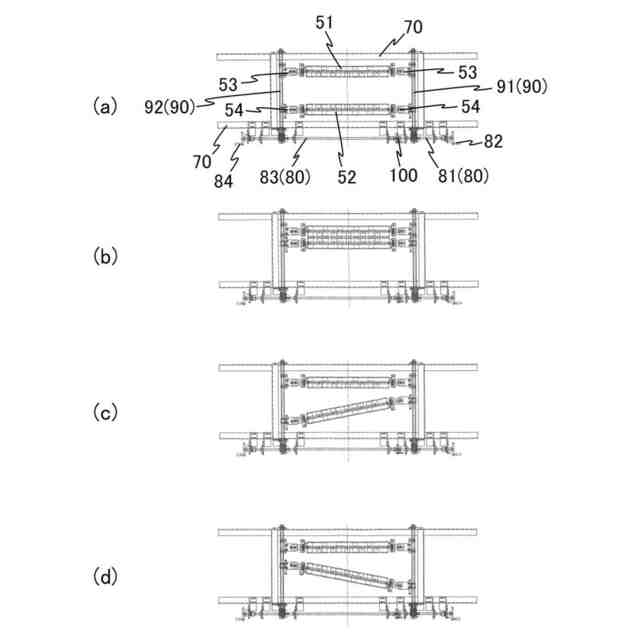
【解決手段】編成樹脂構造体製造装置は、溶融樹脂を冷却槽30の底面側へ引き込む引込部50と、引込部50の両端が接続しているレール材90を備え、引込部50は、第一回転体51及び第二回転体52を離隔してなり、引込部50の一端側に設けられた第一レール材91には第一回転体51及び第二回転体52の一端が取り付けられ、他端側に設けられた第二レール材92には第一回転体51及び第二回転体52の他端が取り付けられ、第一回転体51及び第二回転体52の少なくとも一方は、第一レール材91に沿った一端側の移動と、第二レール材92に沿った他端側の移動とを切り離して、水平方向の向きを変更可能であり、第一回転体51と第二回転体52が平行な状態と、平行でない状態とに可変である。
【選択図】図2
特許請求の範囲
【請求項1】
溶融樹脂を供給する供給部と、
前記供給部から供給された前記溶融樹脂を孔から流出させることにより線状にする線状化部と、
線状となった前記溶融樹脂を冷却する冷却用液体が貯留された冷却槽と、
前記冷却槽内に配置され、前記溶融樹脂に接触した状態で回転することにより前記溶融樹脂を順に前記冷却槽の底面側へ引き込む引込部と、
前記引込部を挟んで設けられ、前記引込部の両端が接続されるレール材と、を備え、
前記引込部は、回転軸を水平方向とする第一回転体及び第二回転体を離隔してなり、
前記レール材は、前記引込部の一端側に設けられた第一レール材と、前記引込部の他端側に設けられた第二レール材からなり、
前記第一レール材には、前記第一回転体の一端及び前記第二回転体の一端が取り付けられ、
前記第二レール材には、前記第一回転体の他端及び前記第二回転体の他端が取り付けられ、
前記第一回転体及び前記第二回転体の少なくとも一方は、前記第一レール材に沿った一端側の移動と、前記第二レール材に沿った他端側の移動とを切り離して、水平方向の向きを変更可能であり、
前記第一回転体と前記第二回転体が平行な状態と、前記第一回転体と前記第二回転体が平行でない状態とに可変であることを特徴とする編成樹脂構造体製造装置。
続きを表示(約 440 文字)
【請求項2】
向きを変更可能な前記第一回転体又は前記第二回転体の一端及び他端が水平方向に回動自在であることを特徴とする請求項1に記載の編成樹脂構造体製造装置。
【請求項3】
前記第一回転体及び前記第二回転体と並列に設けられ、第一棒部材と第二棒部材からなる回転自在の棒部材と、
前記第一棒部材と前記第二棒部材を結合するカップリングと、を備え、
前記レール材は、前記棒部材に接続され、前記棒部材の回転に伴い回転し、
向きを変更可能な前記第一回転体又は前記第二回転体は、前記棒部材の回転により前記レール材に沿って移動し、
前記第一棒部材と前記第二棒部材が前記カップリングにより結合されていない状態とすることで、向きを変更可能な前記第一回転体又は前記第二回転体において、前記第一レール材に沿った一端側の移動と、前記第二レール材に沿った他端側の移動とを切り離して行えることを特徴とする請求項1又は請求項2に記載の編成樹脂構造体製造装置。
発明の詳細な説明
【技術分野】
【0001】
本発明は、マットレス、クッション材、枕、又は生活用品等に利用できる編成樹脂構造体を製造する装置に関する。
続きを表示(約 2,600 文字)
【背景技術】
【0002】
多数の樹脂が無秩序に絡まり合い部分的に熱溶着した網状の三次元構造を有する編成樹脂構造体が、マットレス等に利用されている。編成樹脂構造体は、溶融樹脂の集合体を冷却することによって得ることができる。
例えば特許文献1には、溶融した熱可塑性樹脂を複数のノズルより下方へ押出し、一部水没した1対のベルトコンベアーの間に自然降下させ、降下速度より遅く引き取ることにより立体網状構造体を製造する際に、押出された溶融樹脂の束の巾より1対のベルトコンベアーの間隔が狭く、かつベルトコンベアーが水没する前に溶融樹脂の束の両面あるいは片面がベルトコンベアーに接触するようにした立体網状構造体の製造方法が開示されている。
特許文献2には、対向するシュートと、シュート表面にそれぞれ水を供給する水供給部と、シュートの長手方向と交差するように、対向して設けられる幅設定板とからなる網状構造体ループ形成装置が開示されている。
【先行技術文献】
【特許文献】
【0003】
特開平11-241264号公報
国際公開第2012/035736号
【発明の開示】
【発明が解決しようとする課題】
【0004】
特許文献1、2に記載されているように、溶融樹脂は一対の引込部(ベルトコベアー等)の間に降下し、引込部によって下方に引き込まれる。このとき、マットレス用途のように厚みが場所によって変わらない編成樹脂構造体を製造する場合は、溶融樹脂集合体の厚みが一定であるため両側の引込部に接触させやすいが、高低差のある枕用途のように厚みが場所によって変わる製品を製造する場合は、溶融樹脂集合体の厚みが不定であるため片側の引込部としか接触しない箇所があり、場所によって表面の成形がやや異なる可能性がある。
そこで本発明は、厚みが場所によって変わる枕用途の編成樹脂構造体を製造するときなど、溶融樹脂集合体の厚みが不定の場合であっても、集合体と引込部の両側との接触面積を大きくできる編成樹脂構造体製造装置を提供することを目的とする。
【課題を解決するための手段】
【0005】
請求項1記載の本発明の編成樹脂構造体製造装置は、溶融樹脂を供給する供給部10と、供給部10から供給された溶融樹脂を孔から流出させることにより線状にする線状化部20と、線状となった溶融樹脂を冷却する冷却用液体が貯留された冷却槽30と、冷却槽30内に配置され、溶融樹脂に接触した状態で回転することにより溶融樹脂を順に冷却槽30の底面側へ引き込む引込部50と、引込部50を挟んで設けられ、引込部50の両端が接続しているレール材90と、を備え、引込部50は、回転軸を水平方向とする第一回転体51及び第二回転体52を離隔してなり、レール材90は、引込部50の一端側に設けられた第一レール材91と、引込部50の他端側に設けられた第二レール材92からなり、第一レール材91には、第一回転体51の一端及び第二回転体52の一端が取り付けられ、第二レール材92には、第一回転体51の他端及び第二回転体52の他端が取り付けられ、第一回転体51及び第二回転体52の少なくとも一方は、第一レール材91に沿った一端側の移動と、第二レール材92に沿った他端側の移動とを切り離して、水平方向の向きを変更可能であり、第一回転体51と第二回転体52が平行な状態と、第一回転体51と第二回転体52が平行でない状態とに可変であることを特徴とする。
【0006】
請求項2記載の本発明は、請求項1に記載の編成樹脂構造体製造装置において、向きを変更可能な第一回転体51又は第二回転体52の一端及び他端が水平方向に回動自在であることを特徴とする。
【0007】
請求項3記載の本発明は、請求項1又は請求項2に記載の編成樹脂構造体製造装置において、第一回転体51及び第二回転体52と並列に設けられ、第一棒部材81と第二棒部材83からなる回転自在の棒部材80と、第一棒部材81と第二棒部材83を結合するカップリング100と、を備え、レール材90は、棒部材80に接続され、棒部材80の回転に伴い回転し、向きを変更可能な第一回転体51又は第二回転体52は、棒部材80の回転によりレール材90に沿って移動し、第一棒部材81と第二棒部材83がカップリング100により結合されていない状態とすることで、向きを変更可能な第一回転体51又は第二回転体52において、第一レール材91に沿った一端側の移動と、第二レール材92に沿った他端側の移動とを切り離して行えることを特徴とする。
【発明の効果】
【0008】
本発明によれば、厚みが場所によって変わる枕用途の編成樹脂構造体を製造するときなど、溶融樹脂集合体の厚みが不定の場合であっても、集合体と引込部との接触面積を大きくできる編成樹脂構造体製造装置を提供することができる。
【図面の簡単な説明】
【0009】
本発明の一実施例による編成樹脂構造体製造装置の構成図
同引込部の上面図
同引込部を通過する溶融樹脂の集合体の接触箇所を比較した図
【発明を実施するための形態】
【0010】
本発明の第1の実施形態による編成樹脂構造体製造装置は、溶融樹脂を供給する供給部と、供給部から供給された溶融樹脂を孔から流出させることにより線状にする線状化部と、線状となった溶融樹脂を冷却する冷却用液体が貯留された冷却槽と、冷却槽内に配置され、溶融樹脂に接触した状態で回転することにより溶融樹脂を順に冷却槽の底面側へ引き込む引込部と、を備え、引込部は、回転軸を水平方向とする第一回転体及び第二回転体を離隔してなり、第一回転体と第二回転体が平行な状態と、第一回転体と第二回転体が平行でない状態とに可変であることを特徴とするものである。
本実施形態によれば、引込部が溶融樹脂の集合体を引き込む速度が場所によって変わることを抑制し、溶融樹脂が冷却されてなる編成樹脂構造体の表面状態のばらつきをなくすことができる。
(【0011】以降は省略されています)
この特許をJ-PlatPat(特許庁公式サイト)で参照する
関連特許
東レ株式会社
編地
4か月前
東レ株式会社
不織布の製造装置
26日前
日本エステル株式会社
クッション体
2か月前
東レ株式会社
編物、繊維製品および詰め物
4か月前
ユニチカ株式会社
化粧料含浸用基布の製造方法
2か月前
グンゼ株式会社
編地及び繊維製品
28日前
モリト株式会社
紐体を用いた連結体
2か月前
ユニチカトレーディング株式会社
油吸着材用不織布
1か月前
セーレン株式会社
緯編地
4か月前
東洋紡エムシー株式会社
農作物保護用生分解性不織布。
26日前
東レ株式会社
不織布の製造装置および不織布の製造方法
1か月前
株式会社島精機製作所
編地の編成方法、および編地
2か月前
株式会社島精機製作所
編地の編成方法、および編地
1か月前
日本製紙クレシア株式会社
ローション不織布
2か月前
セイコーエプソン株式会社
シート製造装置
11日前
帝人フロンティア株式会社
しみ防止布帛および繊維製品
4か月前
セイコーエプソン株式会社
シート製造装置
14日前
セイコーエプソン株式会社
シート製造装置
14日前
ユニチカ株式会社
シート
3か月前
株式会社ヴィオレッタ
メッシュ経編地及び繊維製品
3か月前
日本製紙クレシア株式会社
複合型不織布
1か月前
花王株式会社
吸収性物品用不織布
1か月前
大和紡績株式会社
積層不織布、および液体含浸シート
25日前
東レ株式会社
不織布およびその製造方法ならびに積層体、衣料、雑貨
1か月前
日本毛織株式会社
編地及び衣類
1か月前
東レ株式会社
エレクトレットメルトブロー不織布およびその製造方法
1か月前
東洋紡エムシー株式会社
肌への密着性に優れるフェイスマスク用基材
1か月前
東洋紡エムシー株式会社
生分解性不織布、その用途及びその製造方法。
1か月前
帝人フロンティア株式会社
中綿および中綿評価方法および詰め物製品
3か月前
東レ株式会社
スパンボンド不織布およびその製造方法ならびに積層体、表皮材
26日前
東レ・ファインケミカル株式会社
メルトブロー不織布およびマスク濾材
21日前
ユニチカ株式会社
ポリエステル系長繊維不織布
26日前
日本バイリーン株式会社
摩擦帯電不織布、および、当該摩擦帯電不織布を備えた濾材
3か月前
大和紡績株式会社
編地、その製造方法及び衣料
1か月前
セイコーエプソン株式会社
シート製造装置、およびシート製造方法
6日前
JNC株式会社
不織布およびそれを用いて得られた製品
14日前
続きを見る
他の特許を見る