TOP
|
特許
|
意匠
|
商標
特許ウォッチ
Twitter
他の特許を見る
10個以上の画像は省略されています。
公開番号
2025126141
公報種別
公開特許公報(A)
公開日
2025-08-28
出願番号
2025018046
出願日
2025-02-06
発明の名称
ダウンリンク信号受信を処理するための方法及び通信装置
出願人
宏碁股分有限公司
,
ACER INCORPORATED
代理人
個人
主分類
H04W
72/0446 20230101AFI20250821BHJP(電気通信技術)
要約
【課題】サブバンド非重複完全複信(SBFD)において、SBFDからのダウンリンク(DL)スループットの低下をさせない方法及び通信装置を提供する。
【解決手段】方法は、SBFDリソースを示すために第一の構成をネットワークから受信するステップを含む。第一の構成は、SBFDリソースのための時間期間を示し、SBFDリソースのための少なくとも1つのDLサブバンド及びアップリンク(UL)サブバンドを示す。方法はまた、周期的DL信号受信を示すために第二の構成を前ネットワークから受信するステップを含む。第二の構成は、周期的DL信号受信のための第一の周波数領域リソースを示す。方法はさらに、第一の構成及び第二の構成に従って、ネットワークとの少なくとも1つの通信動作を実行するステップを含む。
【選択図】図3
特許請求の範囲
【請求項1】
ダウンリンク(DL)信号受信を処理する通信装置のための方法であって、
サブバンド非重複完全複信(SBFD)リソースを示すために第一の構成をネットワークから受信するステップであって、前記第一の構成は、前記SBFDリソースのための時間期間を示し、前記SBFDリソースのための少なくとも1つのDLサブバンド及びULサブバンドを示す、ステップと
周期的DL信号受信を示すために第二の構成を前記ネットワークから受信するステップであって、前記第二の構成は、前記周期的DL信号受信のための第一の周波数領域リソースを示す、ステップと、
前記第一の構成及び前記第二の構成に従って、前記ネットワークとの少なくとも1つの通信動作を実行するステップと、
を含む、方法。
続きを表示(約 1,100 文字)
【請求項2】
前記第一の周波数領域リソースの第一のリソースブロック(RB)が有効であることを、前記第一のRBが前記少なくとも1つのDLサブバンドと重複することに応答して、決定するステップ
をさらに含む、請求項1に記載の方法。
【請求項3】
前記第一の周波数領域リソースの第二のRBが無効であることを、前記第二のRBが前記ULサブバンドと重複することに応答して、決定するステップ
をさらに含む、請求項1に記載の方法。
【請求項4】
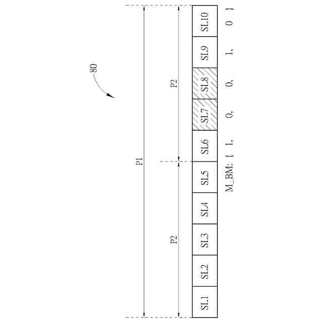
ビットマップに従って、前記第一の周波数領域リソースを決定するステップであって、
前記ビットマップの各ビットは、第一の複数のRBを表す、ステップ
をさらに含む、請求項1に記載の方法。
【請求項5】
第一の複数のRBのうちの少なくとも1つの第一のRBが前記ビットマップのうちの1ビットに対して有効であることを、前記少なくとも1つの第一のRBが前記少なくとも1つのDLサブバンドと重複し、前記第一の複数のRBのうちの少なくとも1つの第二のRBが前記ULサブバンドと重複することに応答して、決定するステップ
をさらに含む、請求項4に記載の方法。
【請求項6】
前記少なくとも1つの第二のRBが前記ビットマップのうちの前記1ビットに対して無効であることを決定するステップ
をさらに含む、請求項5に記載の方法。
【請求項7】
サイズに従って前記第一の周波数領域リソースを第二の複数のRBでパーティション化して、複数のパーティションを生成するステップ
をさらに含む、請求項1に記載の方法。
【請求項8】
前記複数のパーティションに対して、それぞれ複数のチャネル推定を実行するステップ
をさらに含む、請求項7に記載の方法。
【請求項9】
前記少なくとも1つのDLサブバンドと重複する前記複数のパーティションのうちの1パーティション内の少なくとも1つの第三のRBが有効であることを決定するステップと、
前記ULサブバンドと重複する前記1パーティション内の少なくとも1つの第四のRBが無効であることを、前記1パーティションが前記少なくとも1つのDLサブバンドと前記ULサブバンドとを同時に重複することに応答して、決定するステップと、
の動作のうちの少なくとも1つをさらに含む、請求項7に記載の方法。
【請求項10】
前記少なくとも1つのDLサブバンドと重複する前記少なくとも1つの第三のRBによって前記1パーティションに対するチャネル推定を実行するステップ
をさらに含む、請求項9に記載の方法。
(【請求項11】以降は省略されています)
発明の詳細な説明
【技術分野】
【0001】
(関連出願の相互参照)
本出願は、2024年2月17日に出願された米国仮出願第63/554,955号の利益を主張する。この出願の内容は、参照により本明細書に組み込まれる。
続きを表示(約 2,200 文字)
【0002】
本発明は、無線通信システムにおいて使用される方法及び通信装置に関し、より具体的には、ダウンリンク(DL)信号受信を処理するための方法及び通信装置に関する。
【背景技術】
【0003】
第三世代パートナーシッププロジェクト(3rd Generation Partnership Project:3GPP(登録商標))Rel-8規格及び/又は3GPP(登録商標) Rel-9規格をサポートするロングタームエボリューション(long-term evolution:LTE(登録商標)システムは、UMTSの性能をさらに向上させてーザの高まるニーズを満たすために、ユニバーサル移動体通信システム(universal mobile telecommunication system:UMTS)の後継として3GPP(登録商標)によって開発された。
【0004】
LTEアドバンスト(LTE-A)システムは、その名称が示すように、LTEシステムが進化したものある。LTE-Aシステムは、電力状態間の高速スイッチングを目標とし、eNB(evolved Node-B)のカバレッジ端での性能を改善し、ピークデータレート及びスループットを増大させ、キャリアアグリゲーション(CA)、アップリンク(UL)多入力多出力(UL-MIMO)等の高度な技術が含まれている。
【0005】
3GPP(登録商標) Rel-15規格~3GPP(登録商標) Rel-19規格をサポートする次世代無線アクセスネットワーク(NG-RAN)が、LTE-Aシステムをさらに拡張するために開発されている。NG-RANは、1つ以上の次世代ノードB(gNB)を含み、より広い動作帯域、異なる周波数範囲に対する異なるヌメロロジー(numerologies)、大規模MIMO、高度チャネルコーディング等の特性を有する。
【0006】
サブバンド非重複完全複信(SBFD)は、時分割複信(TDD)キャリアをサブバンドに分割し、同じ時間期間(time period)で送信と受信を同時に行うことができる複信モードである。クロスサブバンドスケジューリングとともに、ネットワーク及び通信装置は、ULスループット向上及びレイテンシ短縮を実現する。しかしながら、ネットワーク及び通信装置は、SBFDからのダウンリンク(DL)スループットが低下するため、DL信号受信が成功しない原因となる。したがって、DL信号受信をどのように処理するかは、解決すべき重要な課題となっている。
【発明の概要】
【0007】
したがって、本開示は、上述の問題を解決するためにダウンリンク(DL)信号受信を処理するための方法及び通信装置を提供する。
【0008】
DL信号受信を処理する通信装置のための方法は、サブバンド非重複完全複信(SBFD)リソースを示すために第一の構成をネットワークから受信するステップであって、前記第一の構成は、前記SBFDリソースのための時間期間を示し、前記SBFDリソースのための少なくとも1つのDLサブバンド及びULサブバンドを示す、ステップと、周期的DL信号受信を示すために第二の構成を前記ネットワークから受信するステップであって、前記第二の構成は、前記周期的DL信号受信のための第一の周波数領域リソースを示す、ステップと、前記第一の構成及び前記第二の構成に従って、前記ネットワークとの少なくとも1つの通信動作を実行するステップと、を含む。
【0009】
DL信号受信を処理するための通信装置は、少なくとも1つの記憶装置と、前記少なくとも1つの記憶装置に結合された少なくとも1つの処理回路と、を備え、前記少なくとも1つの記憶装置は、命令を記憶するように構成され、前記少なくとも1つの処理回路は、サブバンド非重複完全複信(SBFD)リソースを示すために第一の構成をネットワークから受信するステップであって、前記第一の構成は、前記SBFDリソースのための時間期間を示し、前記SBFDリソースのための少なくとも1つのDLサブバンド及びULサブバンドを示す、ステップと、周期的DL信号受信を示すために第二の構成を前記ネットワークから受信するステップであって、前記第二の構成は、前記周期的DL信号受信のための第一の周波数領域リソースを示す、ステップと、前記第一の構成及び前記第二の構成に従って、前記ネットワークとの少なくとも1つの通信動作を実行するステップと、を行わせる前記命令を実行するように構成される。
【0010】
ネットワークがDL信号受信を構成するための方法は、サブバンド非重複完全複信(SBFD)リソースを示すために第一の構成を通信装置に送信するステップであって、前記第一の構成は、前記SBFDリソースのための時間期間を示し、前記SBFDリソースのための少なくとも1つのDLサブバンド及びULサブバンドを示す、ステップと、周期的DL信号受信を示すために前記通信装置に第二の構成を送信するステップであって、前記第二の構成は、前記周期的DL信号受信のための第一の周波数領域リソースを示す、ステップと、前記第一の構成及び前記第二の構成に従って、前記通信装置との少なくとも1つの通信動作を実行するステップと、を含む。
(【0011】以降は省略されています)
この特許をJ-PlatPat(特許庁公式サイト)で参照する
関連特許
宏碁股分有限公司
ページング送信を処理する方法及び通信装置
4日前
宏碁股分有限公司
アップリンク送信を処理する方法及び通信装置
1か月前
宏碁股分有限公司
アップリンク送信を処理するための方法及び通信装置
1か月前
宏碁股分有限公司
アップリンク送信を処理するための方法及び通信装置
1か月前
宏碁股分有限公司
サービングセルとの通信を処理する方法及び通信装置
7か月前
宏碁股分有限公司
サービングセルとの通信を処理する方法及び通信装置
7か月前
宏碁股分有限公司
サービングセルとの通信を処理する方法及び通信装置
7か月前
宏碁股分有限公司
サービングセルとの通信を処理する方法及び通信装置
7か月前
宏碁股分有限公司
ダウンリンク信号受信を処理するための方法及び通信装置
2か月前
宏碁股分有限公司
ダウンリンク信号受信を処理するための方法及び通信装置
2か月前
個人
イヤーピース
17日前
個人
イヤーマフ
1か月前
個人
監視カメラシステム
1か月前
キーコム株式会社
光伝送線路
1か月前
個人
スイッチシステム
25日前
サクサ株式会社
中継装置
1か月前
サクサ株式会社
中継装置
1か月前
WHISMR合同会社
収音装置
2か月前
個人
スキャン式車載用撮像装置
1か月前
キヤノン株式会社
撮像装置
2か月前
アイホン株式会社
電気機器
2か月前
キヤノン電子株式会社
画像読取装置
2か月前
サクサ株式会社
無線システム
1か月前
株式会社リコー
画像形成装置
1か月前
株式会社リコー
画像形成装置
2か月前
ヤマハ株式会社
放音制御装置
25日前
サクサ株式会社
無線通信装置
1か月前
個人
ワイヤレスイヤホン対応耳掛け
2か月前
株式会社リコー
画像形成装置
2か月前
キヤノン電子株式会社
画像読取装置
25日前
サクサ株式会社
無線通信装置
1か月前
キヤノン電子株式会社
画像読取装置
1か月前
キヤノン電子株式会社
画像読取装置
17日前
個人
映像表示装置、及びARグラス
26日前
キヤノン電子株式会社
シート搬送装置
17日前
キヤノン株式会社
画像処理装置
20日前
続きを見る
他の特許を見る