TOP
|
特許
|
意匠
|
商標
特許ウォッチ
Twitter
他の特許を見る
10個以上の画像は省略されています。
公開番号
2025065009
公報種別
公開特許公報(A)
公開日
2025-04-17
出願番号
2024166105
出願日
2024-09-25
発明の名称
サービングセルとの通信を処理する方法及び通信装置
出願人
宏碁股分有限公司
,
ACER INCORPORATED
代理人
個人
,
個人
主分類
H04W
72/1268 20230101AFI20250410BHJP(電気通信技術)
要約
【課題】通信装置のサービングセルとの通信を処理する方法を提供する。
【解決手段】無線通信システムにおける方法は、通信装置が、ダウンリンクシンボルのセット、フレキシブルシンボルのセット及びアップリンクシンボルのセットを示す第1設定を受信するステップと、サービングセルの、ダウンリンクシンボルのセット及び/又はフレキシブルシンボルのセットにおける特殊シンボルのセットを示す第2設定を受信するステップと、サービングセルの帯域幅部分におけるアップリンク送信のインジケータを受信するステップと、アップリンクシンボルのセットにおけるアップリンクシンボルと重複するアップリンク送信に応答して、第1リソース設定に従ってアップリンク送信を実行するステップと、特殊シンボルのセットにおける特殊シンボルと重複するアップリンク送信に応答して、アップリンク送信を実行するか否かを決定するステップと、を含む。
【選択図】図3
特許請求の範囲
【請求項1】
通信装置のサービングセルとの通信を処理する方法において、
ある時間周期でのダウンリンク(DL)シンボルのセット、フレキシブルシンボルのセット、及びアップリンク(UL)シンボルのセットのうちの少なくとも1つを示す第1設定をネットワークから受信するステップと、
前記サービングセルの第2設定を前記ネットワークから受信するステップであって、前記第2設定が前記DLシンボルのセット及び前記フレキシブルシンボルのセットのうちの少なくとも1つにおける特殊シンボルのセットを示し、前記特殊シンボルのセットが前記サービングセルの異なる周波数領域における少なくとも1つのDLサブバンド及び少なくとも1つのULサブバンドを含むステップと、
前記サービングセルの帯域幅部分(BWP)における、第1優先指標に対応する第1UL送信のインジケータを前記ネットワークから受信するステップと、
前記第1UL送信が前記ULシンボルのセットにおけるULシンボルと重複することに応答して、第1リソース設定に基づいて前記第1UL送信を実行するステップと、
前記第1UL送信が前記特殊シンボルのセットにおける特殊シンボルと時間的に重複することに応答して、前記第1UL送信を実行するか否かを決定するステップとを含む、方法。
続きを表示(約 1,000 文字)
【請求項2】
前記第1UL送信は、
前記第1UL送信が物理UL制御チャネル(PUCCH)、物理UL共有チャネル(PUSCH)、サウンディング基準信号(SRS)、及び物理ランダムアクセスチャネル(PRACH)のうちの少なくとも1つを含むという条件と、
前記第1UL送信が少なくとも1つの反復なしで示されるという条件とのうちの少なくとも1つを満たす、請求項1に記載の方法。
【請求項3】
前記インジケータは、DL制御情報(DCI)又は無線リソース制御(RRC)信号を介して受信される、請求項1に記載の方法。
【請求項4】
前記第1リソース設定は、前記インジケータ又はRRC信号によって示される、請求項1に記載の方法。
【請求項5】
前記第1UL送信が、前記第1優先指標が第1値である第1PUCCHを含むことに応答して、前記特殊シンボルにおいて前記第1UL送信を実行するステップと、
前記第1UL送信が、前記第1優先指標が第2値である第1PUCCHを含むことに応答して、前記特殊シンボルにおいて前記第1UL送信を実行しないようにするステップと、を更に含む、請求項1に記載の方法。
【請求項6】
前記インジケータがDCIによって示されないことに応答して、前記特殊シンボルにおいて前記第1UL送信を実行しないようにするステップを更に含む、請求項1に記載の方法。
【請求項7】
前記第1UL送信が少なくとも1つの前記DLサブバンドと重複しないことに応答して、前記特殊シンボルにおいて前記第1UL送信を実行するステップを更に含む、請求項1に記載の方法。
【請求項8】
前記第1UL送信が少なくとも1つの前記DLサブバンドと重複することに応答して、前記特殊シンボルにおいて前記第1UL送信を実行しないようにするステップを更に含む、請求項1に記載の方法。
【請求項9】
第3設定を前記ネットワークから受信するステップを更に含む、請求項1に記載の方法。
【請求項10】
前記第3設定は、前記第1UL送信の第1電力情報及び第2電力情報を含み、前記第1電力情報及び前記第2電力情報は、それぞれ前記ULシンボル及び前記特殊シンボルに対応する、請求項9に記載の方法。
(【請求項11】以降は省略されています)
発明の詳細な説明
【技術分野】
【0001】
関連出願の相互参照
本願は、2023年10月6日に出願された米国仮出願第63/542,778号の利益を主張する。この出願の内容は、参照により本明細書に組み込まれる。
続きを表示(約 2,900 文字)
【0002】
技術分野
本開示は、無線通信システムに用いられる方法及び通信装置に関し、より具体的には、サービングセルとの通信を処理する方法及び通信装置に関する。
【背景技術】
【0003】
第3世代パートナーシッププロジェクト(3GPP(登録商標):3rd Generation Partnership Project)Rel-8規格及び/又は3GPP Rel-9規格をサポートするロングタームエボリューション(LTE(登録商標))システムは、ユニバーサル移動体通信システム(UMTS:universal mobile telecommunication system)の後継として、ユーザーの高まるニーズを満たすようにUMTSの性能を更に強化するために、3GPPにより開発されている。
【0004】
LTEアドバンスド(LTE-A)システムは、その名が示すように、LTEシステムの進化したものである。LTE-Aシステムは、電力状態間のより高速な切り替えを目標とし、進化型ノードB(eNB:evolved Node-B)のカバレッジエッジでの性能を向上させ、ピークデータレート及びスループットを増加させ、キャリアアグリゲーション(CA:carrier aggregation)、アップリンク(UL)多入力多出力(UL-MIMO:uplink multiple-input multiple-output)などの高度な技術を含む。
【0005】
3GPP Rel-15規格~3GPP Rel-19規格をサポートする次世代無線アクセスネットワーク(NG-RAN:next generation radio access network)は、LTE-Aシステムを更に強化するために開発されている。NG-RANは、1つ以上の次世代ノードB(gNB:generation Node-Bs)を含み、より広い動作帯域、異なる周波数範囲に対する異なるヌメロロジー、大規模MIMO、高度なチャネル符号化などの特性を有する。
【0006】
通信装置の使用に対する需要が増加すると、通信装置とネットワークとの間で通信される信号(例えば、データ、メッセージ、及び/又はパケット)の量も増加する。サービングセルにおける現在の送信リソースは、信号を通信するのに不十分である。したがって、どのように通信装置とサービングセルを有するネットワークとの通信を処理して、サービングセルにおける送信リソースが限られた場合に効率を向上させる(例えば、ULカバレッジを強化及び/又は送信遅延を低減する)かということは、解決すべき重要な課題である。
【発明の概要】
【0007】
したがって、本開示は、上記課題を解決するために、サービングセルとの通信を処理する方法及び通信装置を提供する。
【0008】
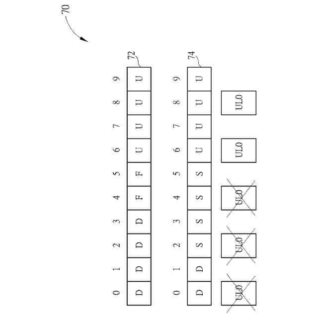
通信装置のサービングセルとの通信を処理する方法は、ある時間周期でのダウンリンク(DL)シンボルのセット、フレキシブルシンボルのセット、及びアップリンク(UL)シンボルのセットのうちの少なくとも1つを示す第1設定をネットワークから受信するステップと、前記サービングセルの第2設定を前記ネットワークから受信するステップであって、前記第2設定が前記DLシンボルのセット及び前記フレキシブルシンボルのセットのうちの少なくとも1つにおける特殊シンボルのセットを示し、前記特殊シンボルのセットが前記サービングセルの異なる周波数領域における少なくとも1つのDLサブバンド及び少なくとも1つのULサブバンドを含むステップと、前記サービングセルの帯域幅部分(BWP)における、第1優先指標に対応する第1UL送信のインジケータを前記ネットワークから受信するステップと、前記第1UL送信が前記ULシンボルのセットにおけるULシンボルと重複することに応答して、第1リソース設定に基づいて前記第1UL送信を実行するステップと、前記第1UL送信が前記特殊シンボルのセットにおける特殊シンボルと時間的に重複することに応答して、前記第1UL送信を実行するか否かを決定するステップとを含む。
【0009】
サービングセルとの通信を処理する通信装置は、少なくとも1つの記憶装置と、少なくとも1つの前記記憶装置に結合された少なくとも1つの処理回路とを含み、少なくとも1つの前記記憶装置は、命令を記憶するように構成され、少なくとも1つの前記処理回路は、ある時間周期でのダウンリンク(DL)シンボルのセット、フレキシブルシンボルのセット、及びアップリンク(UL)シンボルのセットのうちの少なくとも1つを示す第1設定をネットワークから受信する命令と、前記サービングセルの第2設定を前記ネットワークから受信する命令であって、前記第2設定が前記DLシンボルのセット及び前記フレキシブルシンボルのセットのうちの少なくとも1つにおける特殊シンボルのセットを示し、前記特殊シンボルのセットが前記サービングセルの異なる周波数領域における少なくとも1つのDLサブバンド及び少なくとも1つのULサブバンドを含む命令と、前記サービングセルの帯域幅部分(BWP)における、第1優先指標に対応する第1UL送信のインジケータを前記ネットワークから受信する命令と、前記第1UL送信が前記ULシンボルのセットにおけるULシンボルと重複することに応答して、第1リソース設定に基づいて前記第1UL送信を実行する命令と、前記第1UL送信が前記特殊シンボルのセットにおける特殊シンボルと時間的に重複することに応答して、前記第1UL送信を実行するか否かを決定する命令とを実行するように構成される。
【0010】
ネットワークにより通信装置との通信を処理する方法は、ある時間周期でのダウンリンク(DL)シンボルのセット、フレキシブルシンボルのセット、及びアップリンク(UL)シンボルのセットのうちの少なくとも1つを示す第1設定を前記通信装置に送信するステップと、前記サービングセルの第2設定を前記通信装置に送信するステップであって、前記第2設定は、前記DLシンボルのセット及び前記フレキシブルシンボルのセットのうちの少なくとも1つにおける特殊シンボルのセットを示し、前記特殊シンボルのセットは、前記サービングセルの異なる周波数領域における少なくとも1つのDLサブバンド及び少なくとも1つのULサブバンドを含む、ステップと、前記サービングセルの帯域幅部分(BWP)における、第1優先指標に対応する第1UL送信のインジケータを前記通信装置に送信するステップと、第1リソース設定を前記通信装置に送信するステップとを含み、前記第1リソース設定により、前記通信装置は、前記第1UL送信が前記ULシンボルのセットにおけるULシンボルと重複することに応答して前記第1UL送信を実行可能である。
(【0011】以降は省略されています)
この特許をJ-PlatPat(特許庁公式サイト)で参照する
関連特許
宏碁股分有限公司
ページング送信を処理する方法及び通信装置
4日前
宏碁股分有限公司
アップリンク送信を処理する方法及び通信装置
1か月前
宏碁股分有限公司
アップリンク送信を処理するための方法及び通信装置
1か月前
宏碁股分有限公司
アップリンク送信を処理するための方法及び通信装置
1か月前
宏碁股分有限公司
サービングセルとの通信を処理する方法及び通信装置
7か月前
宏碁股分有限公司
サービングセルとの通信を処理する方法及び通信装置
7か月前
宏碁股分有限公司
サービングセルとの通信を処理する方法及び通信装置
7か月前
宏碁股分有限公司
サービングセルとの通信を処理する方法及び通信装置
7か月前
宏碁股分有限公司
ダウンリンク信号受信を処理するための方法及び通信装置
2か月前
宏碁股分有限公司
ダウンリンク信号受信を処理するための方法及び通信装置
2か月前
個人
イヤーピース
17日前
個人
イヤーマフ
1か月前
個人
監視カメラシステム
1か月前
個人
スイッチシステム
25日前
キーコム株式会社
光伝送線路
1か月前
個人
スキャン式車載用撮像装置
1か月前
サクサ株式会社
中継装置
1か月前
WHISMR合同会社
収音装置
2か月前
サクサ株式会社
中継装置
1か月前
キヤノン株式会社
撮像装置
2か月前
アイホン株式会社
電気機器
2か月前
株式会社リコー
画像形成装置
3か月前
キヤノン電子株式会社
画像読取装置
17日前
個人
ワイヤレスイヤホン対応耳掛け
2か月前
サクサ株式会社
無線通信装置
1か月前
個人
映像表示装置、及びARグラス
26日前
サクサ株式会社
無線通信装置
1か月前
ヤマハ株式会社
放音制御装置
25日前
キヤノン電子株式会社
画像読取装置
2か月前
株式会社リコー
画像形成装置
2か月前
キヤノン電子株式会社
画像読取装置
25日前
株式会社リコー
画像形成装置
1か月前
サクサ株式会社
無線システム
1か月前
株式会社リコー
画像形成装置
2か月前
キヤノン電子株式会社
画像読取装置
1か月前
キヤノン電子株式会社
シート搬送装置
17日前
続きを見る
他の特許を見る