TOP
|
特許
|
意匠
|
商標
特許ウォッチ
Twitter
他の特許を見る
10個以上の画像は省略されています。
公開番号
2025125598
公報種別
公開特許公報(A)
公開日
2025-08-28
出願番号
2024021604
出願日
2024-02-16
発明の名称
風車翼補修装置、及び、風車翼補修方法
出願人
三菱重工業株式会社
代理人
SSIP弁理士法人
主分類
F03D
80/50 20160101AFI20250821BHJP(液体用機械または機関;風力原動機,ばね原動機,重力原動機;他類に属さない機械動力または反動推進力を発生するもの)
要約
【課題】風車翼の表面に生じた損傷部の補修作業を自動的に実施する。
【解決手段】本願は、風車翼の表面にある損傷部を補修するための風車翼補修装置に関し、本体と、補修部とを備える。本体は、風車翼の表面に対して固定である。補修部は、損傷部に対して補修部材を取り付けることにより補修処理を実施する。
【選択図】図3
特許請求の範囲
【請求項1】
風車翼の表面にある損傷部を補修するための風車翼補修装置であって、
前記表面に対して固定可能な本体と、
前記損傷部に対して補修部材を取り付けることにより補修処理を実施するための補修部と、
を備える、風車翼補修装置。
続きを表示(約 1,000 文字)
【請求項2】
前記補修部は、前記補修部材を脱着可能に把持するための把持部を含み、
前記把持部は、前記本体が前記表面に固定された際に、前記把持部によって把持された前記補修部材の前記損傷部に対する位置を調整することにより、前記損傷部に対して前記補修部材を取付可能である、風車翼補修装置。
【請求項3】
前記補修処理の前に、前記損傷部に対して前処理を行うための少なくとも1つの前処理部を備え、
前記補修部、及び、前記少なくとの1つの前処理部は、前記損傷部に対向する第1位置と、前記損傷部に対向しない第2位置とを互いに切替可能である、請求項1又は2に記載の風車翼補修装置。
【請求項4】
前記補修部、及び、前記少なくとも1つの前処理部は、前記本体に対して回転可能な回転部に搭載されることにより、前記第1位置及び前記第2位置を切替可能である、請求項3に記載の風車翼補修装置。
【請求項5】
前記少なくとも1つの前処理部は、前記損傷部にサンディング処理を実施するためのサンディング部を含む、請求項3に記載の風車翼補修装置。
【請求項6】
前記少なくとも1つの前処理部は、前記損傷部に接着剤を塗布するための接着剤塗布部を含む、請求項3に記載の風車翼補修装置。
【請求項7】
前記本体は、吸着によって前記表面に固定するための吸着部を備える、請求項1又は2に記載の風車翼補修装置。
【請求項8】
前記本体は、前記風車翼が取り付けられたナセルから吊り下げ支持されることにより前記表面上を移動可能なロボットが有するロボットアームに対して連結可能な連結部を備える、請求項1又は2に記載の風車翼補修装置。
【請求項9】
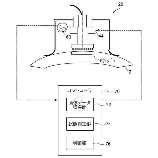
前記損傷部を撮像するためのカメラと、
前記カメラによって撮像された画像に基づいて、前記損傷部の状態を判定するための状態判定部と、
前記状態判定部の判定結果に基づいて、前記サンディング処理を実施するためのサンディング処理実施部と、
を備える、請求項5に記載の風車翼補修装置。
【請求項10】
前記状態判定部は前記画像に基づいて、前回のサンディング処理による削り残し量が閾値以上である領域を判定し、
前記サンディング処理実施部は、前記領域について前記サンディング処理を再実施する、請求項9に記載の風車翼補修装置。
(【請求項11】以降は省略されています)
発明の詳細な説明
【技術分野】
【0001】
本開示は、風車翼補修装置、及び、風車翼補修方法に関する。
続きを表示(約 1,500 文字)
【背景技術】
【0002】
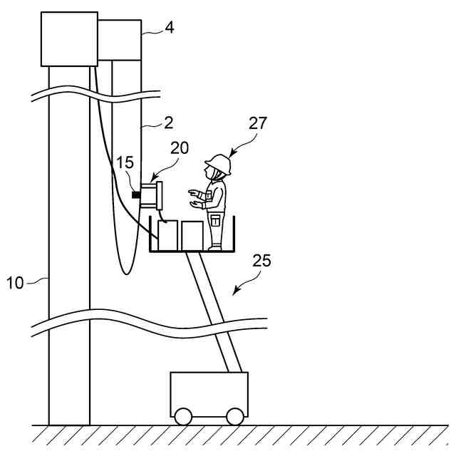
風力エネルギを用いて駆動可能な風車が知られている。例えば、風力発電設備に利用される風車は、風力エネルギを風車翼によって受けると、風車翼が取り付けられたハブとともにナセル内に収容された発電機が駆動されることにより、電気エネルギが得られる。
【0003】
この種の風車は、近年、大型化が進んでおり、比較的高度に位置する風車翼では、被雷によって損傷を受ける可能性が増えている。風車翼の損傷箇所(以下、適宜「損傷部」と称する)は、風車翼の強度低下や、腐食進行の起点となるおそれがあるため、適宜、補修する必要がある。風車翼の補修作業は、例えば、損傷が大きい場合は損傷部を含む風車翼の一部を部分的に除去・加工することで形成された開口部に対して、プリプレグ材シートや樹脂薄板のような補修部材を埋め込むことにより行われ、損傷が小さい箇所では補修部材を損傷部に取り付けて孔を塞ぐことで実施される。
【0004】
このような風車翼の補修作業は、従来、作業員の人手によって実施されていたが、高度位置で実施されるため、作業員の安全確保や品質確保の観点から自動化が望まれている。これに対して、例えば特許文献1では、損傷の程度に応じて、損傷部に対して表層部除去、穿孔部除去、テーパ加工等の前処理を行うための装置が提案されている。
【先行技術文献】
【特許文献】
【0005】
特開平11-179609号公報
【発明の概要】
【発明が解決しようとする課題】
【0006】
上記特許文献1では、損傷部に対して補修処理を行う際に、その前処理として実施される表層部除去、穿孔部除去、テーパ加工等を自動的に実施可能な装置が提案されているだけであり、これらの前処理が実施された後に、補修作業そのものを自動化するまでに至っていない。
【0007】
本開示の少なくとも一実施形態は上述の事情に鑑みなされたものであり、風車翼の表面に生じた損傷部の補修作業を自動的に実施可能な風車翼補修装置、及び、風車翼補修方法を提供することを目的とする。
【課題を解決するための手段】
【0008】
本開示の少なくとも一実施形態に係る風車翼補修装置は、上記課題を解決するために、
風車翼の表面にある損傷部を補修するための風車翼補修装置であって、
前記表面に対する相対的位置を固定可能な本体と、
前記損傷部に対して補修部材を取り付けるための補修処理を実施するための補修部と、
を備える。
【0009】
本開示の少なくとも一実施形態に係る風車翼補修方法は、上記課題を解決するために、
風車翼の表面に対する相対的位置を固定可能な本体と、
前記表面にある損傷部に対して補修部材を取り付けるための補修処理を実施するための補修部と、
を備える風車翼補修装置を用いた風車翼補修方法であって、
前記補修部を前記損傷部に対向するように前記風車翼補修装置を前記表面に取り付ける工程と、
前記補修部によって前記損傷部に対して前記補修処理を実施する工程と、
を備える。
【発明の効果】
【0010】
本開示の少なくとも一実施形態によれば、風車翼の表面に生じた損傷部の補修作業を自動的に実施可能な風車翼補修装置、及び、風車翼補修方法を提供できる。
【図面の簡単な説明】
(【0011】以降は省略されています)
この特許をJ-PlatPat(特許庁公式サイト)で参照する
関連特許
三菱重工業株式会社
原子炉
11日前
三菱重工業株式会社
施工方法
17日前
三菱重工業株式会社
石膏脱水システム
17日前
三菱重工業株式会社
ガス処理装置および方法
24日前
三菱重工業株式会社
原子炉炉心および原子炉
11日前
三菱重工業株式会社
シール装置及び回転機械
16日前
三菱重工業株式会社
アンモニア除害システム
17日前
三菱重工業株式会社
軸流圧縮機、及びその動翼
18日前
三菱重工業株式会社
計測システムおよび計測方法
24日前
三菱重工業株式会社
支持部材及び接着剤の監視方法
17日前
三菱重工業株式会社
インバータ装置及びその保護方法
24日前
三菱重工業株式会社
インバータ基板及びインバータ装置
24日前
三菱重工業株式会社
RPB装置及び酸性ガス回収システム
24日前
三菱重工業株式会社
燃料製造システム、及び燃料製造方法
19日前
三菱重工業株式会社
補修方法、プログラム、及び補修装置
18日前
三菱重工業株式会社
圧縮機の静翼セグメント、及び圧縮機
17日前
三菱重工業株式会社
超音波探傷装置、および超音波探傷方法
16日前
三菱重工業株式会社
合流支援システム、および合流支援方法
19日前
三菱重工業株式会社
検査システム、検査方法及びプログラム
3日前
三菱重工業株式会社
静翼セグメント、及びこれを備える蒸気タービン
9日前
三菱重工業株式会社
水電解システム、及び水電解システムの運転方法
24日前
三菱重工業株式会社
放射性物質取扱設備施工方法および放射性物質取扱設備
3日前
三菱重工業株式会社
脱硝触媒、及び燃焼排ガスから窒素酸化物を除去する方法
3日前
三菱重工業株式会社
ガスタービンシステム、及び、ガスタービンシステム制御方法
3日前
三菱重工業株式会社
二酸化炭素回収システム及び二酸化炭素回収システムの運転方法
18日前
三菱重工業株式会社
多ビーム位相差計測装置及びこれを備えたレーザビーム制御システム
24日前
三菱重工業株式会社
温度制御装置、温度制御システム、温度制御方法、およびプログラム
3日前
三菱重工業株式会社
レーザ照射装置、レーザ照射システム、レーザ照射方法、およびプログラム
16日前
三菱重工業株式会社
プラント制御支援装置、プラント制御支援方法、及び、プラント制御支援プログラム
17日前
三菱重工業株式会社
プラント制御支援装置、プラント制御支援方法、及び、プラント制御支援プログラム
17日前
三菱重工業株式会社
電解セルスタック、電解セルカートリッジ、電解セルモジュールおよび電解セルスタックの製造方法
24日前
三菱重工業株式会社
電気化学セルスタック、それを備えた電気化学セルカートリッジおよび電気化学セルモジュール、ならびにその製造方法、燃料電池セルスタック、共電解セルスタック
24日前
個人
風力発電機
3か月前
個人
波力発電装置
4か月前
個人
風車用回転翼
3か月前
個人
小水力発電器
1か月前
続きを見る
他の特許を見る