TOP
|
特許
|
意匠
|
商標
特許ウォッチ
Twitter
他の特許を見る
公開番号
2025123960
公報種別
公開特許公報(A)
公開日
2025-08-25
出願番号
2024019773
出願日
2024-02-13
発明の名称
切断装置及び切断品の製造方法
出願人
TOWA株式会社
代理人
個人
,
個人
主分類
B26D
7/18 20060101AFI20250818BHJP(切断手工具;切断;切断機)
要約
【課題】より確実に端材を排出することが可能な切断装置を提供する。
【解決手段】直線的な移動方向に沿って移動可能な加工テーブルと、前記加工テーブルに配置された切断対象物を切断する切断機構と、前記加工テーブルよりも下方に配置され、前記切断対象物が前記切断機構で切断されることによって発生した端材を、前記移動方向に沿って傾斜した傾斜部で受けることが可能な受け部材と、前記加工テーブルの移動に伴って前記移動方向に移動可能であり、前記傾斜部に流体を噴出する可動ノズルと、前記可動ノズルの前記移動方向への移動に伴って、前記可動ノズルの上下位置を調節することが可能な位置調節機構と、を備える。
【選択図】図3
特許請求の範囲
【請求項1】
直線的な移動方向に沿って移動可能な加工テーブルと、
前記加工テーブルに配置された切断対象物を切断する切断機構と、
前記加工テーブルよりも下方に配置され、前記切断対象物が前記切断機構で切断されることによって発生した端材を、前記移動方向に沿って傾斜した傾斜部で受けることが可能な受け部材と、
前記加工テーブルの移動に伴って前記移動方向に移動可能であり、前記傾斜部に流体を噴出する可動ノズルと、
前記可動ノズルの前記移動方向への移動に伴って、前記可動ノズルの上下位置を調節することが可能な位置調節機構と、
を備える切断装置。
続きを表示(約 620 文字)
【請求項2】
前記位置調節機構は、前記可動ノズルと前記傾斜部との距離が一定となるように、前記可動ノズルの上下位置を調節する、
請求項1に記載の切断装置。
【請求項3】
前記移動方向における前記受け部材の一側に配置され、前記端材を収容可能な収容部をさらに備え、
前記傾斜部は、前記収容部に向かうにつれて下方に傾斜している、
請求項1又は請求項2に記載の切断装置。
【請求項4】
前記位置調節機構は、
前記可動ノズルを支持すると共に、上下に昇降可能な昇降部と、
前記昇降部に設けられ、前記傾斜部と接触する接触部と、
を備える、
請求項1から請求項3までのいずれか一項に記載の切断装置。
【請求項5】
前記接触部は、回転可能なローラにより構成される、
請求項4に記載の切断装置。
【請求項6】
前記昇降部を上下に案内するシャフトをさらに備える、
請求項4又は請求項5に記載の切断装置。
【請求項7】
請求項1から請求項6までのいずれか一項に記載の切断装置を用いた切断品の製造方法であって、
前記加工テーブルに前記切断対象物を配置する工程と、
前記切断機構と、前記加工テーブルと、を相対的に移動させることで前記切断対象物を切断する工程と、
を含む切断品の製造方法。
発明の詳細な説明
【技術分野】
【0001】
本発明は、切断装置及び切断品の製造方法の技術に関する。
続きを表示(約 1,500 文字)
【背景技術】
【0002】
特許文献1には、被加工物を保持するチャックテーブルを支持する支持基台と、支持基台を往復移動させる切削送り手段と、被加工物を切削する切削手段と、切削屑を受け止めるウォーターケースと、支持基台に固定されて流体を噴射する2流体噴射ノズルと、を備える切削装置が開示されている。特許文献1に記載の切削装置では、支持基台と一体的に移動する2流体噴射ノズルから噴射される流体によって、ウォーターケース内の切削屑を押し流して除去することができる。
【先行技術文献】
【特許文献】
【0003】
特開2006-218551号公報
【発明の概要】
【発明が解決しようとする課題】
【0004】
ここで、特許文献1に記載のような装置では、ウォーターケースに落下した端材の排出を促すために、ウォーターケースの底部に傾斜が設けられることが想定される。このようにウォーターケースの底部が傾斜している場合、支持基台の移動に伴って2流体噴射ノズルとウォーターケースの底部との距離が変化する。このため、効果的に流体を端材に噴射することができず、端材を押し流すことができない可能性がある。
【0005】
本発明は以上の如き状況に鑑みてなされたものであり、その解決しようとする課題は、より確実に端材を排出することが可能な切断装置及び切断品の製造方法を提供することである。
【課題を解決するための手段】
【0006】
本発明の解決しようとする課題は以上の如くであり、この課題を解決するため、本発明に係る切断装置は、直線的な移動方向に沿って移動可能な加工テーブルと、前記加工テーブルに配置された切断対象物を切断する切断機構と、前記加工テーブルよりも下方に配置され、前記切断対象物が前記切断機構で切断されることによって発生した端材を、前記移動方向に沿って傾斜した傾斜部で受けることが可能な受け部材と、前記加工テーブルの移動に伴って前記移動方向に移動可能であり、前記傾斜部に流体を噴出する可動ノズルと、前記可動ノズルの前記移動方向への移動に伴って、前記可動ノズルの上下位置を調節することが可能な位置調節機構と、を備えるものである。
【0007】
また、本発明に係る切断品の製造方法は、前記切断装置を用いた切断品の製造方法であって、前記加工テーブルに前記切断対象物を配置する工程と、前記切断機構と、前記加工テーブルと、を相対的に移動させることで前記切断対象物を切断する工程と、を含むものである。
【発明の効果】
【0008】
本発明によれば、より確実に端材を排出することができる。
【図面の簡単な説明】
【0009】
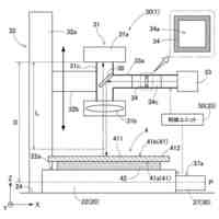
実施形態に係る切断装置の全体的な構成を示した平面模式図。
切断モジュールの構成を示した平面図。
S1-S1断面図。
切断モジュールの下部を示した平面図。
S2-S2断面図。
カバー部材に固定された除去機構を示した斜視図。
(a)除去機構を示した正面図。(b)除去機構を示した左側面図。
除去機構が後方へ移動する様子を示した左側面図。
【発明を実施するための形態】
【0010】
以下では、図中に示した矢印U、矢印D、矢印L、矢印R、矢印F及び矢印Bで示した方向を、それぞれ上方向、下方向、左方向、右方向、前方向及び後方向と定義して説明を行う。また、上下方向の回転軸を中心とする回転方向を、θ方向と定義して説明を行う。
(【0011】以降は省略されています)
この特許をJ-PlatPat(特許庁公式サイト)で参照する
関連特許
TOWA株式会社
切断装置および製品の製造方法
17日前
TOWA株式会社
切断装置及び切断品の製造方法
1か月前
TOWA株式会社
樹脂成形装置、及び樹脂成形品の製造方法
1日前
TOWA株式会社
切断品の製造方法、固定ジグ及び切断装置
1か月前
TOWA株式会社
樹脂成形装置、及び、樹脂成形品の製造方法
1か月前
TOWA株式会社
上型、樹脂成形装置、及び、樹脂成形品の製造方法
29日前
TOWA株式会社
清掃機構、樹脂成形装置、及び、樹脂成形品の製造方法
1か月前
TOWA株式会社
清掃機構、樹脂成形装置、及び、樹脂成形品の製造方法
1か月前
TOWA株式会社
噴霧機構、樹脂成形装置、及び、樹脂成形品の製造方法
1か月前
TOWA株式会社
樹脂供給装置、樹脂成形装置、及び樹脂成形品の製造方法
29日前
個人
曲線カッター
1か月前
個人
ハサミ
4か月前
個人
円弧状刃の包丁
7か月前
個人
理美容はさみ
4か月前
有限会社カルチエ
ナイフ
10か月前
株式会社サボテン
鋏
6か月前
個人
折り畳みナイフ
10か月前
コクヨ株式会社
ハサミ
11か月前
個人
2wayコーナーパンチ
8か月前
株式会社文創
切創抑制器具
11か月前
株式会社和田機械
栗切り機の刃物
2か月前
個人
自動曲機とそれに使用する刃物
1か月前
株式会社フタミ
表面処理装置
6か月前
やおき工業株式会社
鋏
4か月前
個人
自動曲機とそれに使用する刃物
24日前
トヨタ自動車株式会社
切断装置
9か月前
大創株式会社
打抜き部受支装置
11か月前
デュプロ精工株式会社
加工装置
3か月前
個人
梳き鋏及び梳き鋏使用方法
21日前
株式会社日本キャリア工業
食料切断装置
4か月前
株式会社日本キャリア工業
食料切断装置
4か月前
株式会社日本キャリア工業
食料切断装置
5か月前
船井電機株式会社
電動器具
3か月前
独立行政法人 国立印刷局
打ち抜き装置
2か月前
株式会社日本キャリア工業
食料切断装置
4か月前
株式会社日本キャリア工業
食料切断装置
4か月前
続きを見る
他の特許を見る