TOP
|
特許
|
意匠
|
商標
特許ウォッチ
Twitter
他の特許を見る
10個以上の画像は省略されています。
公開番号
2025120484
公報種別
公開特許公報(A)
公開日
2025-08-15
出願番号
2025101426,2024043497
出願日
2025-06-17,2019-09-24
発明の名称
III族窒化物基板
出願人
パナソニックホールディングス株式会社
代理人
個人
,
個人
主分類
C30B
29/38 20060101AFI20250807BHJP(結晶成長)
要約
【課題】高いキャリア濃度を達成しながら、低転位及び低抵抗のIII族窒化物基板を提供する。
【解決手段】III族窒化物基板は、GaN層を備えたIII族窒化物基板であって、GaN層は、第1不純物濃度の酸素を含む複数の第1領域と、第1不純物濃度よりも低い第3不純物濃度の酸素を含む複数の第3領域と、第3不純物濃度よりも高い第2不純物濃度の酸素を含む第2領域と、を有し、複数の第1領域及び複数の第3領域は、第2領域の周囲を周方向に交互に配置されており、GaN層の主面がc面であり、GaN層は、エピタキシャル層である。
【選択図】図4
特許請求の範囲
【請求項1】
GaN層を備えたIII族窒化物基板であって
前記GaN層は、
第1不純物濃度の酸素を含む複数の第1領域と、
前記第1不純物濃度よりも低い第3不純物濃度の酸素を含む複数の第3領域と、
前記第3不純物濃度よりも高い第2不純物濃度の酸素を含む第2領域と、
を有し、
前記複数の第1領域及び前記複数の第3領域は、前記第2領域の周囲を周方向に交互に配置されており、
前記GaN層の主面がc面であり、
前記GaN層は、エピタキシャル層である、III族窒化物基板。
続きを表示(約 960 文字)
【請求項2】
前記第2領域の数密度は、3×10
6
/cm
2
以下である、請求項1に記載のIII族窒化物基板。
【請求項3】
前記第2領域の数密度は、1.5×10
5
/cm
2
以下である、請求項1に記載のII I族窒化物基板。
【請求項4】
前記第1領域は、前記第2領域に向かって縮径する形状である、請求項1から3に記載のIII族窒化物基板。
【請求項5】
前記第3領域は、前記第2領域に向かって縮径する形状である、請求項1から4のいずれか一項に記載のIII族窒化物基板。
【請求項6】
前記第1領域に含まれる不純物元素として、さらにシリコンを含む、請求項1から5のいずれか一項に記載のIII族窒化物基板。
【請求項7】
前記第1不純物濃度は、酸素濃度が1×10
20
/cm
3
以上である、請求項1から6のいずれか一項に記載のIII族窒化物基板。
【請求項8】
前記GaN層がエピタキシャル成長しているGaN基板を更に備え、
前記GaN層の転位密度は、前記GaN基板の転位密度よりも低い、請求項1から7のいずれか一項に記載のIII族窒化物基板。
【請求項9】
請求項1から8のいずれか一項に記載のIII族窒化物基板と、
前記III族窒化物基板に形成されたデバイス構造と、
を備える、デバイス。
【請求項10】
GaN層を備えたIII族窒化物基板であって
前記GaN層は、
第1不純物濃度の酸素を含む複数の第1領域と、
前記第1不純物濃度よりも低い第3不純物濃度の酸素を含む複数の第3領域と、
前記第3不純物濃度よりも高い第2不純物濃度の酸素を含む第2領域と、
を有し、
前記第1領域および前記第3領域は、前記第2領域に向かって縮径する形状であり、
前記GaN層の主面がc面であり、
前記GaN層は、エピタキシャル層である、III族窒化物基板。
(【請求項11】以降は省略されています)
発明の詳細な説明
【技術分野】
【0001】
本発明は、III族窒化物基板に関する。
続きを表示(約 2,100 文字)
【背景技術】
【0002】
従来、縦型GaNパワーデバイスには、低抵抗、低転位のGaN基板が必要とされている。例えばn型の低抵抗のGaN基板を作成する場合、Si原子やO原子の混入量を増加させてキャリア濃度を向上させることが行われてきた(例えば、特許文献1参照。)。
【先行技術文献】
【特許文献】
【0003】
特開2010-132558号公報
【発明の概要】
【発明が解決しようとする課題】
【0004】
しかし、キャリア濃度が1×10
20
/cm
3
以上の高濃度となる場合には、結晶性の悪化や転位欠陥の増加といった問題が生じる場合がある。
【0005】
本発明は、高いキャリア濃度を達成しながら、低転位及び低抵抗のIII族窒化物基板を提供することを目的とする。
【課題を解決するための手段】
【0006】
本発明に係るIII族窒化物基板は、研磨された面内において、第1不純物濃度を示す第1領域と、
前記第1不純物濃度よりも低い第2不純物濃度を示す第2領域と、
を有し、
前記第1領域の第1転位密度は、前記第2領域の第2転位密度よりも低い。
【発明の効果】
【0007】
本発明に係るIII族窒化物基板によれば、低転位であって低抵抗であり、デバイス形成時に、転位密度の高い第2領域でリークが生じるのを抑制でき、絶縁耐圧の向上を図ることができる。
【図面の簡単な説明】
【0008】
実施の形態1に係るIII族窒化物基板のm面から見た断面図である。
実施の形態1に係るIII族窒化物基板のa面から見た断面図である。
実施の形態1に係るIII族窒化物基板の表面を表面研磨及びエッチング後のエッチピットの分布を示す走査型電子顕微鏡写真である。
図3のIII族窒化物基板のc軸から見た表面転位を示すカソードルミネッセンス(CL)像である。
二次イオン質量分析法による解析範囲を示す、III族窒化物基板のc軸から見た表面転位を示すカソードルミネッセンス(CL)像である。
図5の解析範囲の顕微鏡像である。
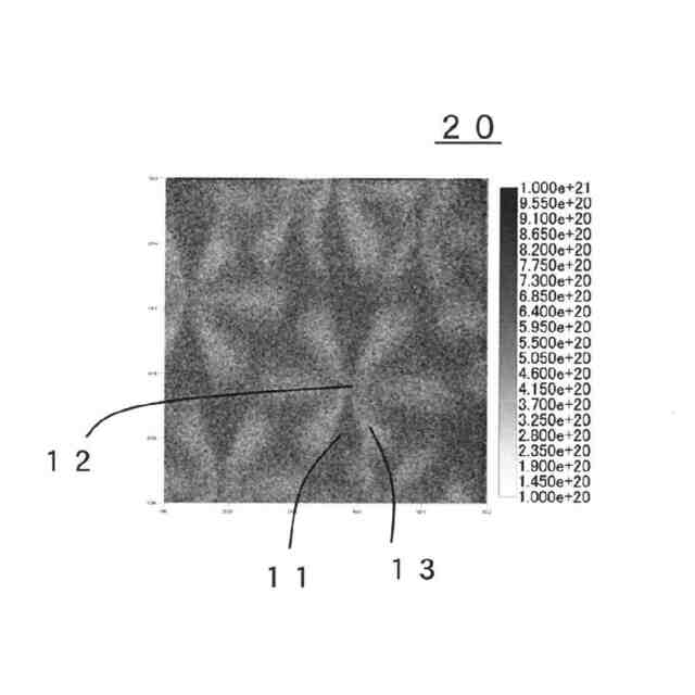
図5の解析範囲について、二次イオン質量分析法によって得られる酸素濃度を濃淡として示す図である。
図5の解析範囲について、二次イオン質量分析法によって得られるSi濃度を濃淡として示す図である。
OVPE-GaN層の厚さが50μmである場合のIII族窒化物基板のc軸から見た表面転位を示すカソードルミネッセンス(CL)像である。
OVPE-GaN層の厚さが200μmである場合のIII族窒化物基板のc軸から見た表面転位を示すカソードルミネッセンス(CL)像である。
OVPE-GaN層の厚さが300μmである場合のIII族窒化物基板のc軸から見た表面転位を示すカソードルミネッセンス(CL)像である。
OVPE-GaN層の厚さと転位密度との関係を示す図である。
転位密度6.2×10
4
/cm
2
のOVPE-GaN層の表面を表面研磨及びエッチング後のエッチピットの分布を示す走査型電子顕微鏡写真である。
転位密度6.4×10
4
/cm
2
のOVPE-GaN層の表面を表面研磨及びエッチング後のエッチピットの分布を示す走査型電子顕微鏡写真である。
転位密度5.7×10
4
/cm
2
のOVPE-GaN層の表面を表面研磨及びエッチング後のエッチピットの分布を示す走査型電子顕微鏡写真である。
転位密度4.3×10
6
/cm
2
のHVPE-GaN層の表面を表面研磨及びエッチング後のエッチピットの分布を示す走査型電子顕微鏡写真である。
実施の形態1に係るIII族窒化物基板の製造方法のフローチャートである。
実施の形態1に係るIII族窒化物基板の製造装置の構成を示す概略図である。
図18のIII族窒化物基板の製造装置の変形例を示す概略図である。
【発明を実施するための形態】
【0009】
第1の態様に係るIII族窒化物基板は、研磨された面内において、第1不純物濃度を示す第1領域と、
前記第1不純物濃度よりも低い第2不純物濃度を示す第2領域と、
を有し、
前記第1領域の第1転位密度は、前記第2領域の第2転位密度よりも低い。
【0010】
第2の態様に係るIII族窒化物基板は、上記第1の態様において、前記第1領域は、前記第2領域を中心として前記第2領域の周囲を囲うように配置されていてもよい。
(【0011】以降は省略されています)
この特許をJ-PlatPat(特許庁公式サイト)で参照する
関連特許
株式会社CUSIC
SiC積層体の製造方法
5か月前
SECカーボン株式会社
結晶成長装置
7か月前
住友金属鉱山株式会社
結晶育成装置
3か月前
アムジエン・インコーポレーテツド
SLC30A8発現を阻害するためのRNAiコンストラクト及びその使用方法
1か月前
学校法人 東洋大学
マルチカラー結晶の結晶成長方法
6か月前
株式会社FLOSFIA
構造体および構造体の製造方法
3か月前
株式会社SUMCO
単結晶の製造方法
5か月前
富士電機株式会社
半導体装置及びその製造方法
11日前
信越化学工業株式会社
炭化金属被覆材料
5か月前
コマディール・エス アー
サファイア棒状体の製造方法
6か月前
セイコーエプソン株式会社
人工水晶製造装置
3か月前
信越半導体株式会社
半導体ウェーハの製造方法
1か月前
株式会社C&A
処理装置および方法
6か月前
株式会社レゾナック
SiCエピタキシャルウェハ
6か月前
日本碍子株式会社
AlN単結晶基板及びデバイス
2か月前
住友金属鉱山株式会社
圧電性酸化物単結晶基板の製造方法
6か月前
住友金属鉱山株式会社
圧電性酸化物単結晶基板の製造方法
5か月前
住友金属鉱山株式会社
単結晶の育成方法及びその装置
1か月前
旭化成株式会社
結晶の製造方法、六方晶系半導体結晶及び素子
6か月前
信越半導体株式会社
3C-SiC単結晶基板の評価方法
4か月前
住友電気工業株式会社
炭化珪素基板の製造方法
4か月前
住友化学株式会社
窒化物積層体の製造方法および窒化物積層体
4か月前
住友電気工業株式会社
炭化珪素基板の製造方法
4か月前
グローバルウェーハズ・ジャパン株式会社
半導体基板の製造方法
5か月前
サイクリスタル ゲーエムベーハー
バルクSiC結晶の製造方法
2か月前
株式会社Kanazawa Diamond
ダイヤモンド
6か月前
株式会社SUMCO
単結晶シリコンインゴットの製造方法
5か月前
三菱マテリアル電子化成株式会社
シリコンインゴット
1か月前
学校法人 名城大学
結晶成長用基板の作製方法
3か月前
住友化学株式会社
窒化物結晶基板、および窒化物結晶基板の製造方法
5か月前
信越半導体株式会社
ヘテロエピタキシャルウェーハの製造方法
5か月前
信越半導体株式会社
SiGe基板の作製方法及びSiGe基板
27日前
住友化学株式会社
窒化物結晶基板の製造方法、および窒化物結晶基板
7か月前
学校法人 名城大学
半導体発光素子用エピウエハ
3か月前
株式会社レゾナック
SiCインゴット及びSiC基板の製造方法
4か月前
株式会社SUMCO
エピタキシャルシリコンウェーハ及びその製造方法
5か月前
続きを見る
他の特許を見る