TOP
|
特許
|
意匠
|
商標
特許ウォッチ
Twitter
他の特許を見る
10個以上の画像は省略されています。
公開番号
2025119962
公報種別
公開特許公報(A)
公開日
2025-08-15
出願番号
2024015119
出願日
2024-02-02
発明の名称
部品内蔵配線基板の製造方法
出願人
イビデン株式会社
代理人
弁理士法人朝日奈特許事務所
主分類
H05K
3/46 20060101AFI20250807BHJP(他に分類されない電気技術)
要約
【課題】部品内蔵配線基板の製造方法の品質向上。
【解決手段】実施形態の部品内蔵配線基板の製造方法は、第1絶縁層111、複数の導体パッド121pを含む第1導体層121、第1導体層121を被覆する第2絶縁層112を形成することと、キャビティRPを形成し、第1電極ECp1及び第2電極ECp2を備える電子部品ECをキャビティRP内に配置し第1電極ECp1と導体パッド121pとを電気的に接続することと、キャビティRP内を充填する第3絶縁層113を形成することと、第3絶縁層113を貫通して複数の第2電極ECp2と接続する導体を形成することと、を含んでいる。キャビティRPを形成することは、第2絶縁層112に第1のレーザー光を照射することで、導体パッド121pを露出させる貫通孔112tを形成することと、第2絶縁層112の厚さを減少させることと、を含む。
【選択図】図2
特許請求の範囲
【請求項1】
第1絶縁層を形成することと、
前記第1絶縁層の上面に複数の導体パッドを含む第1導体層を形成することと、
前記第1導体層及び前記第1絶縁層を被覆する第2絶縁層を形成することと、
前記第2絶縁層に前記第1導体層を露出させるキャビティを形成することと、
一方の表面に形成された複数の第1電極、及び、前記一方の表面と反対側の他方の表面に形成された複数の第2電極を備える電子部品を、前記キャビティ内に配置することと、
前記キャビティ内を充填すると共に前記電子部品の前記他方の表面を被覆する第3絶縁層を形成することと、
前記第3絶縁層を貫通して前記複数の第2電極と接続する導体を形成することと、
を含む、部品内蔵配線基板の製造方法であって、
前記キャビティを形成することは、前記第2絶縁層における部品搭載領域に第1のレーザー光を照射することで、前記第2絶縁層を貫通し前記複数の導体パッドを露出させる複数の貫通孔を形成することと、前記部品搭載領域の前記第2絶縁層の厚さを減少させることと、を含み、
前記電子部品を前記キャビティ内に配置することは、前記複数の第1電極と前記複数の導体パッドとを電気的に接続することを含む。
続きを表示(約 560 文字)
【請求項2】
請求項1記載の部品内蔵配線基板の製造方法であって、前記第2絶縁層の厚さを減少させることは、第2のレーザー光を照射することを含む。
【請求項3】
請求項2記載の部品内蔵配線基板の製造方法であって、前記第1のレーザー光の波長と前記第2のレーザー光の波長とが異なっている。
【請求項4】
請求項3記載の部品内蔵配線基板の製造方法であって、前記第1のレーザー光がUV-YAGレーザーであり、前記第2のレーザー光の波長がCO
2
レーザーである。
【請求項5】
請求項1記載の部品内蔵配線基板の製造方法であって、前記第1電極と前記導体パッドとを電気的に接続することは、前記第1電極と前記導体パッドとの間をはんだで接続することを含んでいる。
【請求項6】
請求項1記載の部品内蔵配線基板の製造方法であって、前記キャビティを形成することは、前記導体パッド上の前記第2絶縁層の厚さを、10μm以上、且つ、30μm以下に減少させることを含む。
【請求項7】
請求項1記載の部品内蔵配線基板の製造方法であって、前記電子部品を前記キャビティ内に配置した後、前記電子部品の前記他方の表面を粗化処理することをさらに含んでいる。
発明の詳細な説明
【技術分野】
【0001】
本発明は部品内蔵配線基板の製造方法に関する。
続きを表示(約 2,300 文字)
【背景技術】
【0002】
特許文献1には、電子部品内蔵基板の製造方法が開示されている。開示されている電子部品内蔵基板の製造方法では、内側絶縁層上に形成される内側導体層はプレーン層を含むように形成され、このプレーン層上に接着層を介して電子部品(インターポーザ)が搭載される。電子部品におけるプレーン層と反対側の面には電極端子が形成されており、この電極端子上にはビア導体が形成される。電極端子はこのビア導体を介して基板表面の導体パッドと接続される。
【先行技術文献】
【特許文献】
【0003】
特開2016-58472号公報
【発明の概要】
【発明が解決しようとする課題】
【0004】
特許文献1に開示されている電子部品内蔵基板の製造方法では、内側導体層の電子部品が配置される部分はプレーン層として形成される。電子部品の一方側(プレーン層側)において、基板内の個々の導体と電子部品の複数の電極それぞれとの個別の電気的接続が困難な場合がある。製造される電子部品内蔵基板における、電子部品の選択の自由度が比較的低いと考えられる。
【課題を解決するための手段】
【0005】
本発明の部品内蔵配線基板の製造方法は、第1絶縁層を形成することと、前記第1絶縁層の上面に複数の導体パッドを含む第1導体層を形成することと、前記第1導体層及び前記第1絶縁層を被覆する第2絶縁層を形成することと、前記第2絶縁層に前記第1導体層を露出させるキャビティを形成することと、一方の表面に形成された複数の第1電極、及び、前記一方の表面と反対側の他方の表面に形成された複数の第2電極を備える電子部品を、前記キャビティ内に配置することと、前記キャビティ内を充填すると共に前記電子部品の前記他方の表面を被覆する第3絶縁層を形成することと、前記第3絶縁層を貫通して前記複数の第2電極と接続する導体を形成することと、を含んでいる。前記キャビティを形成することは、前記第2絶縁層における部品搭載領域に第1のレーザー光を照射することで、前記第2絶縁層を貫通し前記複数の導体パッドを露出させる複数の貫通孔を形成することと、前記部品搭載領域の前記第2絶縁層の厚さを減少させることと、を含み、前記電子部品を前記キャビティ内に配置することは、前記複数の第1電極と前記複数の導体パッドとを電気的に接続することを含む。
【0006】
本発明の実施形態によれば、電子部品の一方の表面に形成された第1電極、及び、他方の表面に形成された第2電極が、配線基板を構成する導体に電気的に接続され得る。内蔵される電子部品の選択の自由度が高く、且つ、電子部品と配線基板を構成する導体との電気的接続構造の自由度が比較的高い部品内蔵配線基板の製造方法が提供され得る。
【図面の簡単な説明】
【0007】
本発明の一実施形態の部品内蔵配線基板の製造方法によって製造される部品内蔵配線基板の一例を示す断面図。
図1の部品内蔵配線基板の部分拡大図。
本発明の一実施形態の部品内蔵配線基板の製造方法の一例を示す断面図。
本発明の一実施形態の部品内蔵配線基板の製造方法の一例を示す断面図。
本発明の一実施形態の部品内蔵配線基板の製造方法の一例を示す断面図。
本発明の一実施形態の部品内蔵配線基板の製造方法の一例を示す断面図。
本発明の一実施形態の部品内蔵配線基板の製造方法の一例を示す断面図。
本発明の一実施形態の部品内蔵配線基板の製造方法の一例を示す断面図。
本発明の一実施形態の部品内蔵配線基板の製造方法の一例を示す断面図。
本発明の一実施形態の部品内蔵配線基板の製造方法の一例を示す断面図。
【発明を実施するための形態】
【0008】
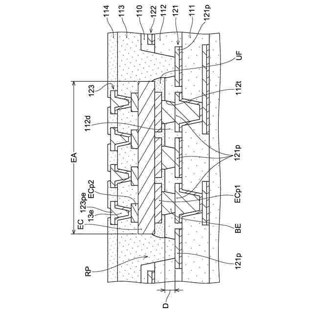
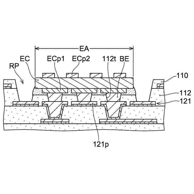
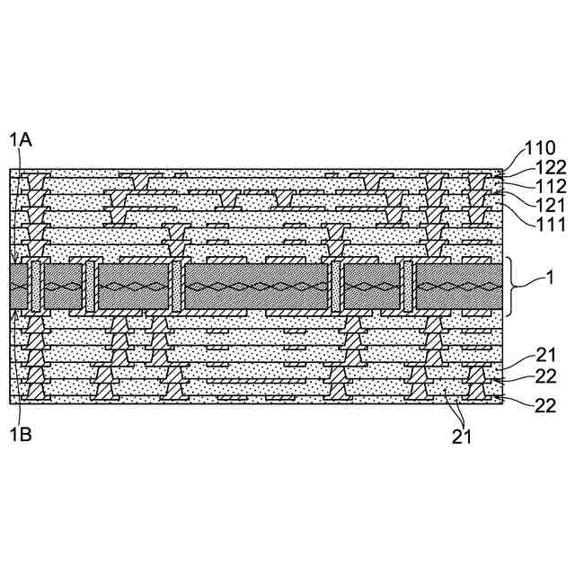
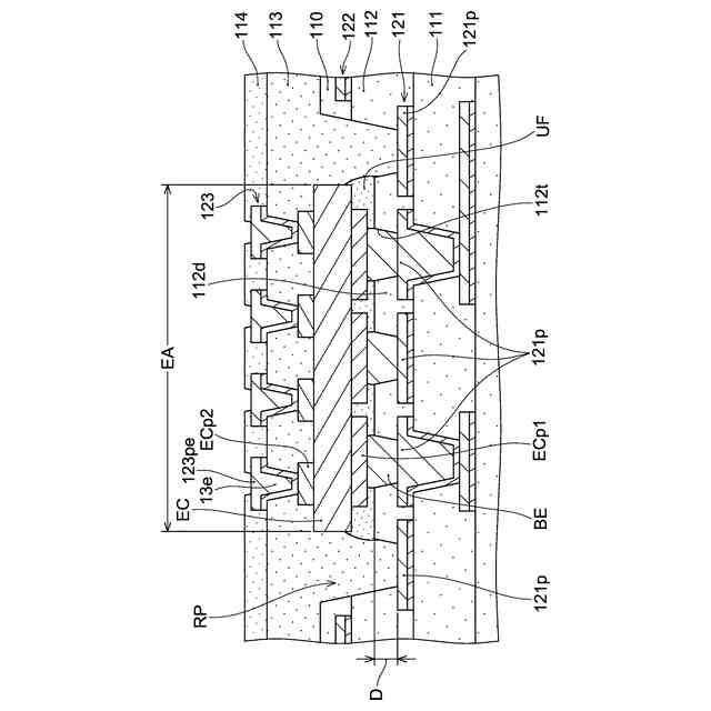
本発明の一実施形態の部品内蔵配線基板が図面を参照しながら説明される。図1は一実施形態の部品内蔵配線基板の製造方法により製造される部品内蔵配線基板の一例である部品内蔵配線基板100を示す断面図である。図2には、図1における一点鎖線で囲まれた領域IIの拡大図が示されている。なお、本明細書の説明において、部品内蔵配線基板100は、単に配線基板100とも称される。
【0009】
図1に示される例の部品内蔵配線基板100は、コア基板1を有している。コア基板1は、絶縁層3を有しており、その厚さ方向において対向する2つの面の上には、それぞれ導体層2が形成されている。なお、コア基板1を構成する絶縁層3はコア絶縁層3とも称され、コア基板1を構成する導体層2はコア導体層2とも称される。
【0010】
コア基板1の厚さ方向における一方の面1A及び他方の面1Bの上には、絶縁層及び導体層が交互に積層されている。図示の例では、コア基板1の一方の面1Aの上に絶縁層11、111、112、110、113、114及び、導体層12、121、122、123、が積層されている。また、コア基板1の他方の面1Bの上には絶縁層21、214、及び導体層22が積層されている。配線基板100は、その最外の表面として、絶縁層114及び絶縁層114から露出する導体層123によって構成される第1面100Aと、第1面100Aと厚さ方向における反対側の、絶縁層214及び絶縁層214から露出する導体層22によって構成される第2面100Bとを有している。
(【0011】以降は省略されています)
この特許をJ-PlatPat(特許庁公式サイト)で参照する
関連特許
イビデン株式会社
断熱材
4日前
イビデン株式会社
断熱材
4日前
イビデン株式会社
断熱材
4日前
イビデン株式会社
断熱材
4日前
イビデン株式会社
配線基板
27日前
イビデン株式会社
配線基板
6日前
イビデン株式会社
配線基板
1か月前
イビデン株式会社
配線基板
5日前
イビデン株式会社
配線基板
13日前
イビデン株式会社
部品内蔵配線板
1か月前
イビデン株式会社
プリント配線板
1か月前
イビデン株式会社
プリント配線板
25日前
イビデン株式会社
ハニカムフィルタ
7日前
イビデン株式会社
ハニカムフィルタ
12日前
イビデン株式会社
配線基板の製造方法
11日前
イビデン株式会社
配線基板の製造方法
11日前
イビデン株式会社
配線基板の製造方法
1か月前
イビデン株式会社
配線基板の製造方法
11日前
イビデン株式会社
配線基板の製造方法
1か月前
イビデン株式会社
配線基板の製造方法
11日前
イビデン株式会社
配線基板の製造方法
11日前
イビデン株式会社
配線基板の製造方法
6日前
イビデン株式会社
配線基板の製造方法
6日前
イビデン株式会社
配線基板の製造方法
6日前
イビデン株式会社
配線基板の製造方法
6日前
イビデン株式会社
配線基板及びその製造方法
15日前
イビデン株式会社
プリント配線板の製造方法
6日前
イビデン株式会社
プリント配線板の製造方法
6日前
イビデン株式会社
マット材及び保持シール材
5日前
イビデン株式会社
プリント配線板の製造方法
6日前
イビデン株式会社
配線基板及びその製造方法
15日前
イビデン株式会社
プリント配線板の製造方法
25日前
イビデン株式会社
熱伝達抑制シート及び組電池
4日前
イビデン株式会社
熱伝達抑制シート及び組電池
11日前
イビデン株式会社
光導波路及び導波路搭載基板
12日前
イビデン株式会社
熱伝達抑制シート及び組電池
1か月前
続きを見る
他の特許を見る