TOP
|
特許
|
意匠
|
商標
特許ウォッチ
Twitter
他の特許を見る
公開番号
2025114992
公報種別
公開特許公報(A)
公開日
2025-08-06
出願番号
2024009272
出願日
2024-01-25
発明の名称
流体供給ホルダ
出願人
三立精機株式会社
代理人
個人
,
個人
主分類
B23Q
7/04 20060101AFI20250730BHJP(工作機械;他に分類されない金属加工)
要約
【課題】流体の圧力が高くなっても流体供給口からの流体の漏れを防止する。
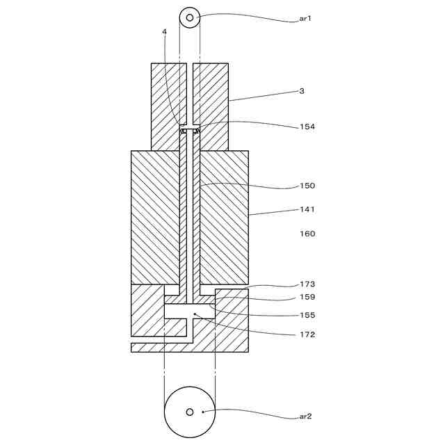
【解決手段】マシニングセンタの主軸2に併設される流体供給口4から供給される流体を下流の装置8に供給する流体供給ホルダ1であって、主軸に着脱可能なホルダ本体部10と、ホルダ本体部の側面に設けられる流体取込部40と、を備える。流体取込部は、ガイド穴60、及びガイド穴の底部に連通して流体が通過するブロック流通路71を備え、ホルダ本体部の側面に設けられるブロック本体部41と、ガイド穴に嵌められてガイド穴の中を摺動可能にされつつ、その軸方向に流体を通過させるためのシャフト流通路53を備え、かつその一方の端部54が流体供給口に接続されるガイドシャフト50と、ガイド穴の底面とガイドシャフトの他方の端部55との間に流体を溜めて、その圧力で前記ガイドシャフトを流体供給口に押圧させるための圧力室72と、を備える。
【選択図】図1
特許請求の範囲
【請求項1】
マシニングセンタの主軸に取付けられるとともに、前記主軸に併設される流体供給口から供給される流体を中継して下流の装置に供給する流体供給ホルダであって、
前記主軸に着脱可能とされるシャンクが取付けられるホルダ本体部と、
前記ホルダ本体部の側面に設けられる流体取込部と、を備え、
前記流体取込部は、
前記流体供給口に対向する側に設けられる1つ以上のガイド穴、及び前記ガイド穴の底部に連通して流体が通過するブロック流通路を備え、前記ホルダ本体部に取付けられるブロック本体部と、
前記ガイド穴に嵌められて前記ガイド穴の中を摺動可能にされつつ、その軸方向に貫通して流体を通過させるためのシャフト流通路を備え、その一方の端部が前記流体供給口に接続されるガイドシャフトと、
前記ガイド穴の底面と前記ガイドシャフトの他方の端部との間に前記流体供給口から供給された流体を溜めて、その圧力で前記ガイドシャフトを前記流体供給口に押圧させるための圧力室と、
を備えることを特徴とする流体供給ホルダ。
続きを表示(約 790 文字)
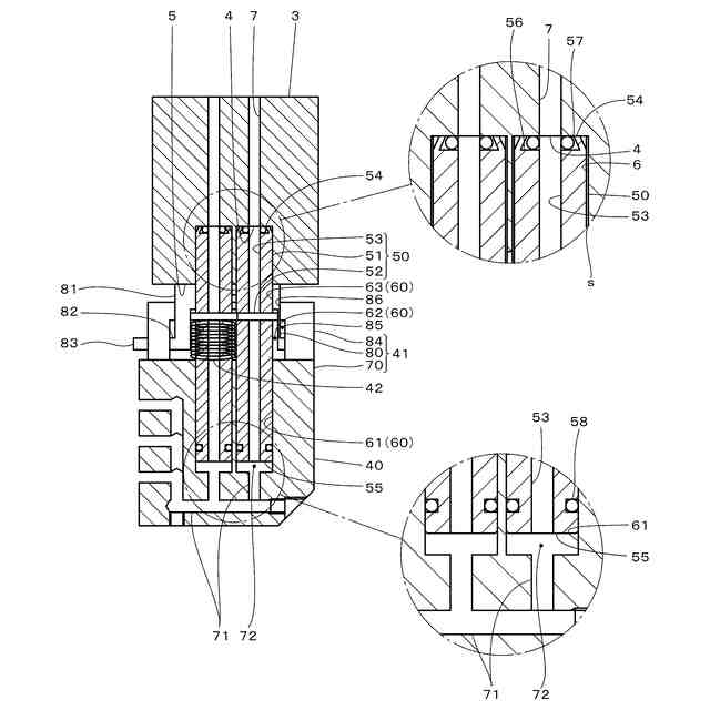
【請求項2】
前記ガイドシャフトを予め前記流体供給口に向かって所定の力で付勢する弾性体を備える請求項1に記載の流体供給ホルダ。
【請求項3】
前記ガイドシャフトが、筒状部材であるシャフト筒部、及び前記シャフト筒部の周囲に設けられて前記弾性体の端部が当接されるシャフト鍔部を備え、
前記ブロック本体部が、前記ホルダ本体部に取付けられるブロック下部、及び前記ブロック下部のうち前記流体供給口に対向する側に設けられるピストン部と蓋部を備え、
前記ブロック下部が、前記シャフト筒部が挿入されるブロックガイド穴を備え、
前記ピストン部が、柱状部材であるピストン柱部、前記ピストン柱部の内部に設けられて前記シャフト鍔部がその内部を移動可能にされるとともに前記弾性体も収容されるシャフト収納室、前記シャフト収納室に連通しつつ前記流体供給口の側に設けられて前記シャフト筒部のみが貫通可能なピストンガイド穴、及び前記ピストン柱部の周囲に設けられるピストン鍔部を備え、
前記蓋部が、前記ピストン鍔部がその内部を移動可能にされるピストン収納室、及び前記ピストン収納室に連通しつつ前記流体供給口の側に設けられて前記ピストン柱部のみが貫通可能な蓋穴部を備える、請求項2に記載の流体供給ホルダ。
【請求項4】
前記ガイドシャフトの端部の面積が、前記流体供給口に接続される一方の端部より、前記圧力室に配置される他方の端部の方が広く構成されている請求項1に記載の流体供給ホルダ。
【請求項5】
前記ブロック流通路、前記シャフト流通路、及び前記圧力室を備える流体の流通経路が、下流の装置の駆動用である第1流通経路と第2流通経路に加えて、予備の第3流通経路を備える請求項1ないし4のいずれか1項に記載の流体供給ホルダ。
発明の詳細な説明
【技術分野】
【0001】
本発明は、マシニングセンタの主軸に取付けられるとともに、主軸に併設される流体供給口から供給される流体を中継して下流側の装置に供給する流体供給ホルダに関する。
続きを表示(約 2,100 文字)
【背景技術】
【0002】
従来、マシニングセンタの主軸に併設される流体供給口から供給される流体を取り入れる装置として、例えば特開平8-257866号公報(特許文献1)に、ワークグリッパを駆動させるワーク反転装置が開示されている。このワーク反転装置では、流体供給口との接続において、接手ピン36A,36B(本発明では「ガイドシャフト」)をばね37によって付勢させている(特許文献1の図3参照。)。
【先行技術文献】
【特許文献】
【0003】
特開平8-257866号公報
【発明の概要】
【発明が解決しようとする課題】
【0004】
しかし、特許文献1のように、ばね(弾性体)のみによってガイドシャフトを付勢している構成であると、ある程度以上の流体圧力がかかったときに、流体供給口からガイドシャフトの端部が浮いてしまい、流体が漏れてしまうという課題があった。ここで、弾性体の反発力を強くすることも考えられるが、反発力を強くしようとすると弾性体そのものを大きなものにする必要があり、装置が大きくなってしまうおそれがあった。また、弾性体の反発力が強すぎると、ガイドシャフトを流体供給口に接続するときに大きな力が必要となり、流体供給口や密閉のためのOリング等の劣化が早まる又は破損するおそれがあった。
【0005】
本発明は上記の点に鑑みなされたもので、供給される流体の圧力を利用してガイドシャフトを流体供給口に押し付けることで、流体の圧力が高くなっても漏れの無い流体供給ホルダを提供することを目的とする。
【課題を解決するための手段】
【0006】
本発明の流体供給ホルダは、
マシニングセンタの主軸に取付けられるとともに、前記主軸に併設される流体供給口から供給される流体を中継して下流の装置に供給する流体供給ホルダであって、
前記主軸に着脱可能とされるシャンクが取付けられるホルダ本体部と、
前記ホルダ本体部の側面に設けられる流体取込部と、を備え、
前記流体取込部は、
前記流体供給口に対向する側に設けられる1つ以上のガイド穴、及び前記ガイド穴の底部に連通して流体が通過するブロック流通路を備え、前記ホルダ本体部に取付けられるブロック本体部と、
前記ガイド穴に嵌められて前記ガイド穴の中を摺動可能にされつつ、その軸方向に貫通して流体を通過させるためのシャフト流通路を備え、その一方の端部が前記流体供給口に接続されるガイドシャフトと、
前記ガイド穴の底面と前記ガイドシャフトの他方の端部との間に前記流体供給口から供給された流体を溜めて、その圧力で前記ガイドシャフトを前記流体供給口に押圧させるための圧力室と、
を備える。
【0007】
本発明の流体供給ホルダによれば、シャフト流通路を通った流体が圧力室に導かれ、ガイドシャフトの他方の端部を押す。このため、流体の圧力でガイドシャフトの一方の端部を流体供給口に押し付けることができる。これにより、流体の圧力が高いときであっても流体供給口からの流体の漏れを防止することができる。なお、流体の例としては空気、油、クーラント等が採用される。
【0008】
本発明の流体供給ホルダの好ましい例は、
前記ガイドシャフトを予め前記流体供給口に向かって所定の力で付勢する弾性体を備える。
【0009】
本発明の流体供給ホルダの好ましい例によれば、ガイドシャフトを予め液体供給口に向かって付勢する弾性体を備えるため、ガイドシャフトの一方の端部を流体供給口に接続して未だ流体の圧力がかかっていないときにも、ガイドシャフトの一方の端部を流体供給口に押し付けることができる。
【0010】
本発明の流体供給ホルダの好ましい例は、
前記ガイドシャフトが、筒状部材であるシャフト筒部、及び前記シャフト筒部の周囲に設けられて前記弾性体の端部が当接されるシャフト鍔部を備え、
前記ブロック本体部が、前記ホルダ本体部に取付けられるブロック下部、及び前記ブロック下部のうち前記流体供給口に対向する側に設けられるピストン部と蓋部を備え、
前記ブロック下部が、前記シャフト筒部が挿入されるブロックガイド穴を備え、
前記ピストン部が、柱状部材であるピストン柱部、前記ピストン柱部の内部に設けられて前記シャフト鍔部がその内部を移動可能にされるとともに前記弾性体も収容されるシャフト収納室、前記シャフト収納室に連通しつつ前記流体供給口の側に設けられて前記シャフト筒部のみが貫通可能なピストンガイド穴、及び前記ピストン柱部の周囲に設けられるピストン鍔部を備え、
前記蓋部が、前記ピストン鍔部がその内部を移動可能にされるピストン収納室、及び前記ピストン収納室に連通しつつ前記流体供給口の側に設けられて前記ピストン柱部のみが貫通可能な蓋穴部を備える。
(【0011】以降は省略されています)
この特許をJ-PlatPat(特許庁公式サイト)で参照する
関連特許
三立精機株式会社
流体供給ホルダ
2か月前
個人
フライス盤
1か月前
日東精工株式会社
ねじ締め機
1か月前
株式会社北川鉄工所
回転装置
4か月前
日東精工株式会社
ねじ締め機
4か月前
日東精工株式会社
ねじ締め機
1か月前
日東精工株式会社
ねじ締め機
6日前
株式会社ダイヘン
溶接電源装置
2か月前
日東精工株式会社
ねじ締め装置
26日前
株式会社ダイヘン
溶接電源装置
2か月前
日東精工株式会社
ねじ締め装置
3か月前
株式会社ダイヘン
溶接電源装置
2か月前
株式会社FUJI
工作機械
5日前
株式会社FUJI
工作機械
3か月前
株式会社FUJI
工作機械
12日前
個人
切削油供給装置
1か月前
株式会社FUJI
工作機械
3か月前
キヤノン電子株式会社
加工システム
2か月前
個人
型枠製造装置のフレーム
16日前
株式会社アンド
半田付け方法
1か月前
大見工業株式会社
ドリル
2か月前
株式会社ツガミ
工作機械
1か月前
村田機械株式会社
レーザ加工機
4か月前
村田機械株式会社
レーザ加工機
4か月前
住友重機械工業株式会社
加工装置
3か月前
トヨタ自動車株式会社
溶接ヘッド
4か月前
トヨタ自動車株式会社
溶接ヘッド
4か月前
株式会社ダイヘン
溶接装置
3か月前
ビアメカニクス株式会社
レーザ加工装置
6日前
ビアメカニクス株式会社
レーザ加工装置
6日前
有限会社 ナプラ
ソルダペースト
3か月前
津田駒工業株式会社
センタリングバイス
1か月前
ビアメカニクス株式会社
レーザ加工装置
6日前
トヨタ自動車株式会社
溶接マスク
3か月前
株式会社不二越
ブローチ盤
1か月前
株式会社ダイヘン
溶接装置
3か月前
続きを見る
他の特許を見る