TOP
|
特許
|
意匠
|
商標
特許ウォッチ
Twitter
他の特許を見る
公開番号
2025113843
公報種別
公開特許公報(A)
公開日
2025-08-04
出願番号
2024008218
出願日
2024-01-23
発明の名称
制気口の検査装置
出願人
三機工業株式会社
代理人
弁理士法人高田・高橋国際特許事務所
主分類
G01P
5/00 20060101AFI20250728BHJP(測定;試験)
要約
【課題】制気口がスケルトン天井に設けられる場合でも、センサによる測定ひいては制気口の検査を精度よく実施することが可能な制気口の検査装置を提供する。
【解決手段】検査装置は、制気口よりも大きい上部開口を持つフードおよびフード内に配置されるセンサを有する測定部と、測定部を昇降可能な昇降部と、を備える。制気口は、スケルトン天井に設けられる。検査装置は、上部開口を画成するフードの上端部に、上端部全体に亘って、上端部から上部開口の内方に向かって伸びる複数本の線材を束ねて構成されるブラシが設けられる。複数本の線材の各先端で制気口よりも小さい開口部が画成され、所定の検査位置に測定部を上昇させたときに、制気口の外周部にブラシが接触して撓むように構成される。
【選択図】図1
特許請求の範囲
【請求項1】
制気口よりも大きい上部開口を持つフードおよびフード内に配置されるセンサを有する測定部と、前記測定部を昇降可能な昇降部と、を備える制気口の検査装置であって、
前記制気口がスケルトン天井に設けられるものにおいて、
前記上部開口を画成する前記フードの上端部に、前記上端部全体に亘って、前記上端部から前記上部開口の内方に向かって伸びる複数本の線材を束ねて構成されるブラシが設けられ、
前記複数本の線材の各先端で前記制気口よりも小さい開口部が画成され、所定の検査位置に前記測定部を上昇させたときに、前記制気口の外周部に前記ブラシが接触して撓むように構成された制気口の検査装置。
続きを表示(約 260 文字)
【請求項2】
前記ブラシは、前記複数本の線材の各基端を挟持するコ字状断面を持つと共に一方向に長手の枠体を有し、
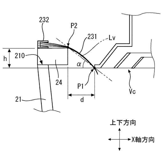
前記フードの前記上端部に設けられ、前記線材がのびる方向の長さが前記枠体よりも長い支持板をさらに備え、前記支持板上に前記枠体が固定される請求項1に記載の制気口の検査装置。
【請求項3】
前記ブラシが前記制気口の前記外周部と接触する点を接触点とし、この接触点と前記支持板の上面内端を通る仮想線が前記制気口の下面となす角度は、25度~43度の範囲内である請求項2に記載の制気口の検査装置。
発明の詳細な説明
【技術分野】
【0001】
本開示は、制気口の検査装置に関する。
続きを表示(約 1,500 文字)
【背景技術】
【0002】
空調設備工事を施工した後に、天井に複数設けられる吹出口や吸込口などの制気口に対して、風量や温度などの検査が一般に行われる。下記特許文献1に開示された制気口の検査装置は、集風用のフードおよびフード内に配置されるセンサを有する測定部と、測定部を昇降させる昇降部とを備える。制気口の直下に測定部を移動させた後に、測定部を上昇させて、フードの上部開口を画成する上端部を制気口周囲の天井に当接させた状態で、センサによる測定を実施する。
【先行技術文献】
【特許文献】
【0003】
特開2021-162408号公報
【発明の概要】
【発明が解決しようとする課題】
【0004】
ところで、制気口がスケルトン天井に設けられる場合がある。この場合、制気口が剥き出しになるため、フードの上端部を制気口周囲の天井に当接させることができない。そうすると、フードの上端部と制気口との間に隙間が形成され、この隙間を介して制気口周辺の空気がフード内に誘引されたり、フード内の空気が隙間から逃げたりする。その結果、センサによる測定精度の低下、ひいては、検査精度の低下を招来する。
【0005】
本開示は、上述のような課題を解決するためになされたものである。本開示は、制気口がスケルトン天井に設けられる場合でも、センサによる測定ひいては制気口の検査を精度よく実施することが可能な制気口の検査装置を提供することを目的とする。
【課題を解決するための手段】
【0006】
上記の課題を解決するため、本開示の第1の観点は、制気口の検査装置に関連する。検査装置は、制気口よりも大きい上部開口を持つフードおよびフード内に配置されるセンサを有する測定部と、測定部を昇降可能な昇降部と、を備える。制気口は、スケルトン天井に設けられる。検査装置は、上部開口を画成するフードの上端部に、上端部全体に亘って、上端部から上部開口の内方に向かって伸びる複数本の線材を束ねて構成されるブラシが設けられる。複数本の線材の各先端で制気口よりも小さい開口部が画成され、所定の検査位置に測定部を上昇させたときに、制気口の外周部にブラシが接触して撓むように構成される。
【0007】
第2の観点は、第1の観点に加えて、次の特徴をさらに有する。ブラシは、複数本の線材の各基端を挟持するコ字状断面を持つと共に一方向に長手の枠体を有する。検査装置は、フードの前記上端部に設けられ、線材がのびる方向の長さが枠体よりも長い支持板をさらに備え、支持板上に前記枠体が固定される。
【0008】
第3の観点は、第2の観点に加えて、次の特徴をさらに有する。ブラシが制気口の外周部と接触する点を接触点とし、この接触点と支持板の上面内端を通る仮想線が前記制気口の下面となす角度は、25度~43度の範囲内である。
【発明の効果】
【0009】
第1の観点によれば、測定部を検査位置に上昇させると、フードの上端部に設けられたブラシが制気口の外周部に接触して撓むことで、制気口周辺の空気がフード内に誘引されたり、フード内の空気が逃げたりすることが抑制される。従って、センサによる測定ひいては制気口の検査を精度よく実施することが可能となる。
【0010】
第2の観点によれば、フードの上端部に支持体を介して枠体が設けられるため、ブラシの基端部が支持板で支持される。これにより、線材の先端が自重により垂れることを可及的に抑制することができる。
(【0011】以降は省略されています)
この特許をJ-PlatPat(特許庁公式サイト)で参照する
関連特許
三機工業株式会社
ろ過装置
1か月前
三機工業株式会社
空調システム
11日前
三機工業株式会社
吊下作業方法
4日前
三機工業株式会社
吊下作業方法
4日前
三機工業株式会社
空調システム
13日前
三機工業株式会社
制気口の検査装置
2か月前
三機工業株式会社
負荷温度制御システム
1か月前
三機工業株式会社
クリーンルームの空調システム
2か月前
三機工業株式会社
散水式の浄化装置及び浄化方法
1か月前
三機工業株式会社
貫通穴の止水構造および止水方法
2か月前
三機工業株式会社
動作装置の位置確認機構および装置
10日前
三機工業株式会社
クリーンルームの風量制御システム
1か月前
三機工業株式会社
ダクトの吊下作業方法およびシステム
1か月前
三機工業株式会社
クレーン運転システム及びごみ処理方法
5日前
三機工業株式会社
クレーン運転システム及びごみ処理方法
5日前
三機アクアテック株式会社
汚泥かき寄せ装置
5日前
三機工業株式会社
施工管理装置、施工管理方法、及び施工管理プログラム
4日前
三機工業株式会社
壁吸い込みフィルタユニットのパンチングフェースおよび戸袋の構造
3日前
三機工業株式会社
ログデータ分析用のサーバ装置、プログラム、データ分析システム、及びデータ分析方法
11日前
個人
メジャー文具
5日前
日本精機株式会社
位置検出装置
11日前
日本精機株式会社
位置検出装置
11日前
日本精機株式会社
位置検出装置
11日前
ユニパルス株式会社
ロードセル
4日前
大和製衡株式会社
組合せ秤
16日前
大和製衡株式会社
組合せ秤
16日前
アズビル株式会社
圧力センサ
10日前
株式会社東芝
センサ
16日前
株式会社ヨコオ
ソケット
4日前
ダイキン工業株式会社
監視装置
2日前
トヨタ自動車株式会社
検査装置
13日前
トヨタ自動車株式会社
監視装置
3日前
エイブリック株式会社
磁気センサ回路
10日前
株式会社東芝
センサ
16日前
株式会社ヨコオ
ソケット
3日前
トヨタ自動車株式会社
表示装置
25日前
続きを見る
他の特許を見る