TOP
|
特許
|
意匠
|
商標
特許ウォッチ
Twitter
他の特許を見る
公開番号
2025094480
公報種別
公開特許公報(A)
公開日
2025-06-25
出願番号
2023210042
出願日
2023-12-13
発明の名称
舗装構造及び舗装構造における揚水方法
出願人
株式会社大林組
,
早水電機工業株式会社
,
大林道路株式会社
代理人
個人
,
個人
主分類
E01C
11/24 20060101AFI20250618BHJP(道路,鉄道または橋りょうの建設)
要約
【課題】湿潤舗装における揚水に関する利便性を向上させることができる舗装構造及び舗装構造における揚水方法を提供する。
【解決手段】舗装構造は、太陽光発電装置と、太陽光発電装置からの給電により駆動するポンプと、を備える。舗装構造は、ポンプの駆動により、貯留領域に貯留されている水を湿潤舗装の揚水領域に給水する。
【選択図】図2
特許請求の範囲
【請求項1】
太陽光発電装置と、
前記太陽光発電装置からの給電により駆動するポンプと、を備え、
前記ポンプの駆動により、貯留領域に貯留されている水を湿潤舗装の揚水領域に給水する舗装構造。
続きを表示(約 330 文字)
【請求項2】
請求項1に記載の舗装構造において、
前記ポンプの駆動により、前記湿潤舗装と並ぶ透水舗装における前記貯留領域に貯留されている水を前記湿潤舗装の前記揚水領域に給水する舗装構造。
【請求項3】
請求項1に記載の舗装構造において、
前記ポンプの駆動により、前記湿潤舗装の前記揚水領域よりも深い前記湿潤舗装の前記貯留領域に貯留されている水を前記湿潤舗装の前記揚水領域に給水する舗装構造。
【請求項4】
太陽光発電装置からの給電によりポンプが駆動することで、貯留領域に貯留されている水を湿潤舗装の揚水領域に給水し、前記湿潤舗装の前記揚水領域に給水された水を前記湿潤舗装の表層に揚水する舗装構造における揚水方法。
発明の詳細な説明
【技術分野】
【0001】
本発明は、舗装構造及び舗装構造における揚水方法に関する。
続きを表示(約 1,400 文字)
【背景技術】
【0002】
従来、例えば特許文献1に示すように、舗装面を湿潤状態に保って暑熱対策が可能な湿潤舗装を備えた舗装構造が開示されている。このような舗装構造においては、例えば雨水又は散水などの水を貯留可能な貯留領域と、貯留領域からの水を舗装面に揚水する揚水領域とが設けられる。また、このような舗装構造では、舗装内部に揚水部材が配置されることがあり、貯留領域から揚水領域に水を十分に供給することができる。
【先行技術文献】
【特許文献】
【0003】
特開2023-17190号公報
【発明の概要】
【発明が解決しようとする課題】
【0004】
しかしながら、このような舗装構造では、舗装内部に揚水部材を配置しなければならないので施工工程が増加してしまう。このように、湿潤舗装における揚水に関する利便性を向上させることが望まれている。
【課題を解決するための手段】
【0005】
上記課題を解決する舗装構造は、太陽光発電装置と、前記太陽光発電装置からの給電により駆動するポンプと、を備え、前記ポンプの駆動により、貯留領域に貯留されている水を湿潤舗装の揚水領域に給水する。
【0006】
上記課題を解決する舗装構造における揚水方法は、太陽光発電装置からの給電によりポンプが駆動することで、貯留領域に貯留されている水を湿潤舗装の揚水領域に給水し、前記湿潤舗装の前記揚水領域に給水された水を前記湿潤舗装の表層に揚水する。
【発明の効果】
【0007】
本発明によれば、湿潤舗装における揚水に関する利便性を向上させることができる。
【図面の簡単な説明】
【0008】
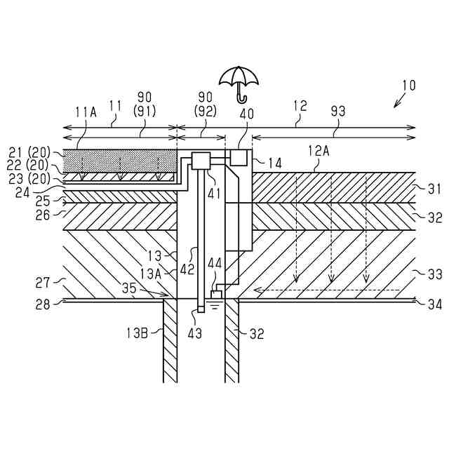
図1は、第1実施形態の舗装構造を示す上面図である。
図2は、第1実施形態の舗装構造を示す断面図である。
図3は、第1実施形態の舗装構造を示す断面図である。
図4は、第2実施形態の舗装構造を示す上面図である。
図5は、第2実施形態の舗装構造を示す断面図である。
【発明を実施するための形態】
【0009】
[第1実施形態]
舗装構造及び舗装構造における揚水方法の一実施形態を説明する。
<舗装構造10>
図1及び図2に示すように、舗装構造10は、道路を構成する舗装が少なくとも含まれる構造である。舗装構造10は、湿潤舗装11を備える。湿潤舗装11は、貯留された水を湿潤舗装面11Aに揚水可能な舗装である。湿潤舗装面11Aは、湿潤舗装11が施工された表面である。このように、湿潤舗装11は、湿潤舗装面11Aを湿潤状態に保って水の蒸発とともに湿潤舗装面11Aの温度の上昇を抑制することができる。湿潤舗装11は、歩道90に設けられてもよい。特に、湿潤舗装11は、歩道90のうち車道93から遠い第1歩道91に設けられる舗装であってもよい。
【0010】
<湿潤舗装11>
図2に示すように、湿潤舗装11は、揚水領域20を備える。揚水領域20は、湿潤舗装面11Aを湿潤状態に保つための水を揚水するための領域である。揚水領域20は、毛細管現象により湿潤舗装面11Aに水を供給する。
(【0011】以降は省略されています)
この特許をJ-PlatPat(特許庁公式サイト)で参照する
関連特許
株式会社大林組
接合構造
17日前
株式会社大林組
飛込み台
29日前
株式会社大林組
基礎構造
2か月前
株式会社大林組
測定方法
29日前
株式会社大林組
仮設建築物
29日前
株式会社大林組
免震建築物
1か月前
株式会社大林組
建物の構造
16日前
株式会社大林組
空調システム
1か月前
株式会社大林組
耐火被覆構造
1か月前
株式会社大林組
ルーバー構造
1か月前
株式会社大林組
監視システム
1か月前
株式会社大林組
積層材成型方法
2か月前
株式会社大林組
建物の躯体構造
1か月前
株式会社大林組
床板の設置方法
29日前
株式会社大林組
建物の躯体構造
1か月前
株式会社大林組
可搬式充電設備
16日前
株式会社大林組
リフトアップ装置
1か月前
株式会社大林組
リフトアップ装置
1か月前
株式会社大林組
安全支援システム
1か月前
株式会社大林組
日射遮蔽発電装置
1か月前
株式会社大林組
鋼矢板の圧入方法
15日前
株式会社大林組
作業支援システム
2か月前
株式会社大林組
建築物及び建築方法
1か月前
株式会社大林組
新設床版の設置工法
2か月前
株式会社大林組
梁段差部の仕口構造
2か月前
株式会社大林組
建築方法及び建築物
2か月前
株式会社大林組
袋体付き排水パイプ
29日前
株式会社大林組
袋体付き排水パイプ
29日前
株式会社大林組
CO2固定量測定方法
1か月前
株式会社大林組
改良土の品質管理方法
2か月前
株式会社大林組
クレーンの自動運転装置
15日前
株式会社大林組
建物の構築方法及び建物
29日前
株式会社大林組
継手装置及び複合支持杭
1か月前
株式会社大林組
被吊り下げ物の安定化構造
1か月前
株式会社大林組
多孔質部材の漏洩検知方法
29日前
株式会社大林組
散水装置及び異物除去方法
29日前
続きを見る
他の特許を見る