TOP
|
特許
|
意匠
|
商標
特許ウォッチ
Twitter
他の特許を見る
公開番号
2025091891
公報種別
公開特許公報(A)
公開日
2025-06-19
出願番号
2023207420
出願日
2023-12-08
発明の名称
エアジェット織機における張力付与装置
出願人
株式会社豊田自動織機
代理人
個人
,
個人
主分類
D03D
47/27 20060101AFI20250612BHJP(織成)
要約
【課題】筬羽が画定する隙間における風綿の滞積を抑制できる張力付与装置を提供する。
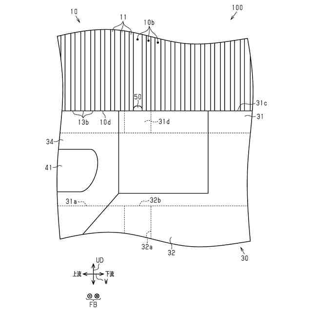
【解決手段】エアジェット織機100は、筬10と、張力付与装置30と、を備えている。筬10には、緯糸案内通路と複数の隙間10bとが設けられている。張力付与装置30の通路部上面31cには、ストレッチエア排気口31dと突部50とが設けられている。突部50は、ストレッチエア排気口31dと対面する隙間10bを画定する筬羽11と接触し、且つ当該筬羽11を拡大している。ストレッチエア排気口31dからは、風綿を伴うエアが排出される。突部50は、隙間10bを拡大することにより、ストレッチエア排気口31dから排出される風綿の、隙間10bにおける滞積を抑制する。
【選択図】図2
特許請求の範囲
【請求項1】
筬に設けられる緯糸案内通路に沿って緯糸を緯入れするとともに、前記緯糸の緯入れ方向に複数の筬羽が並んでおり、前記各筬羽及び当該筬羽と隣り合う筬羽との間に隙間が画定されているエアジェット織機に設けられ、
前記緯糸案内通路に沿って延びる緯糸飛走通路を画定する通路画定部を有し、
前記通路画定部は、
前記緯糸案内通路を画定している前記筬の上壁と対面する上面と、
前記上面において開口し、前記緯糸飛走通路と連通する排気口と、を有し、
前記排気口は、複数の前記隙間のうち少なくとも一つと対面し、
前記緯糸に張力を付与するために前記緯糸飛走通路に向けてエアを噴射するとともに前記エアが前記排気口から排出されるエアジェット織機における張力付与装置であって、
前記通路画定部には、前記筬羽と接触することで、前記排気口と対面する前記隙間を拡大する突部が設けられていることを特徴とするエアジェット織機における張力付与装置。
続きを表示(約 500 文字)
【請求項2】
前記突部は、前記上面に設けられていることを特徴とする請求項1に記載のエアジェット織機における張力付与装置。
【請求項3】
前記筬は、前記緯入れ方向及び上下方向の各々と直交する前後方向において前記緯糸案内通路を画定する奥壁を有し、
前記突部は、前記排気口と前記奥壁との間に設けられていることを特徴とする請求項2に記載のエアジェット織機における張力付与装置。
【請求項4】
前記突部は、前記緯入れ方向及び上下方向の各々と直交する前後方向において前記排気口から離れるに従い、前記緯入れ方向の幅が小さくなることを特徴とする請求項3に記載のエアジェット織機における張力付与装置。
【請求項5】
前記突部は、上下方向において前記上面から離れるに従い前記緯入れ方向の幅が小さくなることを特徴とする請求項2に記載のエアジェット織機における張力付与装置。
【請求項6】
前記突部の前記緯入れ方向の幅は、前記緯入れ方向における前記排気口の最大寸法以下であることを特徴とする請求項5に記載のエアジェット織機における張力付与装置。
発明の詳細な説明
【技術分野】
【0001】
本発明は、エアジェット織機における張力付与装置に関する。
続きを表示(約 2,100 文字)
【背景技術】
【0002】
従来、エアジェット織機は、複数の筬羽が緯入れ方向に並ぶことにより形成される筬を有するとともに、筬に設けられている緯糸案内通路に沿って緯糸を緯入れする。各筬羽は、緯入れ方向において等間隔に並んでいる。各筬羽と当該筬羽に隣り合う筬羽との間には隙間が形成されている。織幅内に位置する隙間には、経糸が通っている。
【0003】
エアジェット織機は、緯入れされた緯糸に張力を付与する張力付与装置を備える。張力付与装置は、緯糸案内通路を飛走する緯糸に対して張力を付与して緯糸の緩みを抑制することで、品質の良い織布の製織に寄与する。例えば、特許文献1に記載の緯糸張力付与装置は、緯糸飛走通路が形成されている通路画定部である機構上部と、ストレッチエア通路が形成されている機構下部と、を備える。機構上部には緯糸飛走通路の上面に開口する排気口であるエア抜き穴が形成されている。
【0004】
また、特許文献1に記載の緯糸張力付与装置は、エアブローノズルが有するエアブロー噴射口と、緯糸飛走通路に沿う方向とは異なる方向にエアを噴射するストレッチエア噴射口と、を備える。エアブローノズルは、緯糸飛走通路に沿う方向にエアを噴射することで、緯糸飛走通路に緯糸を導入するとともに、緯糸Yに張力を付与する。ストレッチエア噴射口は、緯糸飛走通路に導入された緯糸に対して、ストレッチエア通路より供給されるエアを噴射する。ストレッチエア噴射口により噴射されたエアは、緯糸飛走通路で緯糸に張力を付与した後、エア抜き穴より機構上部の外へ排気される。エア抜き穴から排気されたエアは、エア抜き穴の上方にある隙間を抜ける。
【先行技術文献】
【特許文献】
【0005】
特開2022-014545号公報
【発明の概要】
【発明が解決しようとする課題】
【0006】
製織の際に発生した風綿が、緯糸飛走通路及びエア抜き穴を経由して、エア抜き穴より排気されるエアとともに機構上部の外へ排出されることがある。機構上部の外へ排出された風綿は、エア抜き穴の上方にある隙間において滞積する虞がある。
【課題を解決するための手段】
【0007】
上記課題を解決するためのエアジェット織機における張力付与装置は、筬に設けられる緯糸案内通路に沿って緯糸を緯入れするとともに、前記緯糸の緯入れ方向に複数の筬羽が並んでおり、前記各筬羽及び当該筬羽と隣り合う筬羽との間に隙間が画定されているエアジェット織機に設けられ、前記緯糸案内通路に沿って延びる緯糸飛走通路を画定する通路画定部を有し、前記通路画定部は、前記緯糸案内通路を画定している前記筬の上壁と対面する上面と、前記上面において開口し、前記緯糸飛走通路と連通する排気口と、を有し、前記排気口は、複数の前記隙間のうち少なくとも一つと対面し、前記緯糸に張力を付与するために前記緯糸飛走通路に向けてエアを噴射するとともに前記エアが前記排気口から排出されるエアジェット織機における張力付与装置であって、前記通路画定部には、前記筬羽と接触することで、前記排気口と対面する前記隙間を拡大する突部が設けられていることを要旨とする。
【0008】
これによれば、張力付与装置は、緯糸飛走通路内に向けてエアを噴射することにより、緯糸を排気口の緯糸飛走通路側における開口縁に押し付ける。張力付与装置は、緯糸を排気口の開口縁に押し付けることにより、緯糸に張力を付与する。緯糸への張力付与に伴って、排気口より通路画定部の外部にエアが排出される。通路画定部の外部に排出されたエアは、隙間に流入する。通路画定部に設けられている突部は、排気口と対面する筬羽の間隔を緯入れ方向に拡大することで、排気口と対面する隙間を拡大している。これにより、排気口と対面する隙間において、排気口より排出された風綿が滞積することを抑制できる。この結果、エアジェット織機における張力付与装置は、隙間において風綿が滞積することを抑制できる。以上より、本発明は、隙間における風綿の滞積を抑制できる。
【0009】
上記エアジェット織機における張力付与装置において、前記突部は、前記上面に設けられてもよい。
これによれば、突部による隙間の拡大量は、筬羽の弾性変形に起因して、突部と接触している箇所において最も大きく、筬羽に沿う方向において突部から離れるにつれて小さくなる。つまり、排気口から突部までの距離が、筬羽に沿う方向に離れるほど拡大された隙間より小さくなりやすい。したがって、エアジェット織機における張力付与装置は、突部を排気口と同一の面内に設けることにより、排気口の直上における隙間を所望の幅に拡大できる。
【0010】
上記エアジェット織機における張力付与装置において、前記筬は、前記緯入れ方向及び上下方向の各々と直交する前後方向において前記緯糸案内通路を画定する奥壁を有し、前記突部は、前記排気口と前記奥壁との間に設けられてもよい。
(【0011】以降は省略されています)
特許ウォッチbot のツイートを見る
この特許をJ-PlatPat(特許庁公式サイト)で参照する
関連特許
株式会社豊田自動織機
産業車両
1か月前
株式会社豊田自動織機
荷役装置
20日前
株式会社豊田自動織機
操作装置
28日前
株式会社豊田自動織機
産業車両
15日前
株式会社豊田自動織機
トランス
28日前
株式会社豊田自動織機
電力変換器
1か月前
株式会社豊田自動織機
双方向充電器
1か月前
株式会社豊田自動織機
排気浄化装置
29日前
株式会社豊田自動織機
双方向充電器
14日前
株式会社豊田自動織機
車両制御装置
26日前
株式会社豊田自動織機
電磁ブレーキ装置
1か月前
株式会社豊田自動織機
ターボチャージャ
7日前
株式会社豊田自動織機
燃料電池ユニット
26日前
株式会社豊田自動織機
ターボチャージャ
20日前
株式会社豊田自動織機
電力供給システム
12日前
株式会社豊田自動織機
織機用異常検知装置
20日前
株式会社豊田自動織機
内燃機関の制御装置
13日前
株式会社豊田自動織機
スクロール型圧縮機
1か月前
株式会社豊田自動織機
ねじりコイルばね装置
1か月前
株式会社豊田自動織機
繊維機械の検査システム
20日前
株式会社豊田自動織機
スクロール型電動圧縮機
1か月前
株式会社豊田自動織機
インバータ一体型電動機
1か月前
株式会社豊田自動織機
車両のルーフサイド構造
29日前
株式会社豊田自動織機
内燃機関の制御システム
1か月前
トヨタ自動車株式会社
蓄電池
13日前
株式会社豊田自動織機
内燃機関の吸気温度制御システム
20日前
株式会社豊田自動織機
繊維構造体、及び繊維強化複合材
20日前
株式会社豊田自動織機
燃料電池システム及びフォークリフト
1か月前
トヨタ自動車株式会社
蓄電モジュール
13日前
トヨタ自動車株式会社
蓄電装置の製造方法
23日前
トヨタ自動車株式会社
バイポーラ型蓄電装置
26日前
トヨタ自動車株式会社
二次電池及び二次電池の制御方法
22日前
株式会社豊田自動織機
産業車両のヘッドガード、産業車両及び産業車両の屋根部材
7日前
株式会社アルテックス
ダイカスト装置及び鋳造品の製造方法
13日前
株式会社豊田自動織機
車両用の充電システム、充電回路、充電装置、および電圧の制御方法
29日前
川端有限会社
織物
3か月前
続きを見る
他の特許を見る