TOP
|
特許
|
意匠
|
商標
特許ウォッチ
Twitter
他の特許を見る
公開番号
2025161509
公報種別
公開特許公報(A)
公開日
2025-10-24
出願番号
2024064760
出願日
2024-04-12
発明の名称
撥水性織物
出願人
ユニチカトレーディング株式会社
代理人
主分類
D03D
15/47 20210101AFI20251017BHJP(織成)
要約
【課題】撥水性を有するのみならず、水に濡れた時にも衣服内温度が急激に低下することを抑えられる保温性に優れた撥水性織物を提供する。
【解決手段】単糸繊度が0.2~0.9dtexのポリエステル繊維Aと、単糸繊度が1.0~5.0dtexのポリエステル繊維Bとから構成される混繊交絡糸を含む織物であって、ポリエステル繊維Aとポリエステル繊維Bとの質量比率(A/B)が20/80~80/20の範囲にあり、混繊交絡糸の表面部分において、ポリエステル繊維Aによる突出部が形成されており、織物全体のカバーファクターが2200~4000であり、かつ織物中の混繊交絡糸のカバーファクターが1100~2600であり、水滴転がり角度が40度以下である撥水性織物。
【選択図】図1
特許請求の範囲
【請求項1】
単糸繊度が0.2~0.9dtexのポリエステル繊維Aと、単糸繊度が1.0~5.0dtexのポリエステル繊維Bとから構成される混繊交絡糸を含む織物であって、
ポリエステル繊維Aとポリエステル繊維Bとの質量比率(A/B)が20/80~80/20の範囲にあり、
混繊交絡糸の表面部分において、ポリエステル繊維Aによる突出部が形成されており、
織物全体のカバーファクターが2200~4000であり、かつ織物中の混繊交絡糸のカバーファクターが1100~2600であり、
水滴転がり角度が40度以下である撥水性織物。
続きを表示(約 160 文字)
【請求項2】
織物の経糸および緯糸のいずれも混繊交絡糸を含む、請求項1に記載の撥水性織物。
【請求項3】
目付けが80~300g/m
2
である、請求項1または2に記載の撥水性織物。
【請求項4】
保温率が48%以上である請求項1または2に記載の撥水性織物。
発明の詳細な説明
【技術分野】
【0001】
本発明は、撥水性および保温性に優れる織物、およびその製造方法に関する。
続きを表示(約 1,800 文字)
【背景技術】
【0002】
従来、撥水性を有する織物がユニフォーム衣料、スポーツ衣料、アウトドア衣料などの分野で要望されており、これまでに多くの撥水性織物が提案されている。昨今では、織編にさらに高い撥水性が要望されており、例えば、特許文献1では、織物表面に微細な凹凸構造(突出部)を設け、これにより水滴を点で支えるロータス効果を発現させ、さらに空気保持層を形成することで、撥水性を向上させる技術が提案されている。こうした技術により、織物の構造を特段工夫せずとも、従来公知の安価なフッ素系撥水剤などを使用して高い撥水性を付与することができることが知られている。
【0003】
スポーツウェア、ユニフォームウェア、アウトドア用途の衣料の着用時には、屋外で雨に濡れたり、作業中に水にかかったりすることが想定され、衣料の外側が水に濡れて衣料上に水滴が溜まったり、衣料の外側から内側に、すなわち着用者の体表面側に水滴が移動することによって、着用者の体温が著しく低下することが懸念される。そのため、スポーツウェア、ユニフォームウェア、アウトドア用途の織物においては、撥水性に加えて水に濡れた時にも衣服内温度が急激に低下しない優れた保温性が求められている。特許文献1の技術においては、混繊交絡糸を赤外線吸収物質を含むものとして、吸収した赤外線を熱に変換することで織物の保温性を高める技術については提案されているものの、水に濡れた際の保温性については検討されておらず、撥水性を有する織物であって、水に濡れた時にも優れた保温性を有する織物は未だ提案されていない。
【先行技術文献】
【特許文献】
【0004】
特開2015-098661号公報
【発明の概要】
【発明が解決しようとする課題】
【0005】
そこで、本発明は、撥水性を有するのみならず、水に濡れた時にも衣服内温度が急激に低下することを抑えられる保温性に優れた撥水性織物を得ることを目的とする。
【課題を解決するための手段】
【0006】
本発明者らは、鋭意検討を行った結果、表面部分に突出部が形成された混繊交絡糸からなる織物において、織物全体および織物中の混繊交絡糸のカバーファクターを特定範囲とすることにより、撥水性とともに水に濡れた時にも衣服内温度が急激に低下することを抑え、高い保温性が得られることを発見した。
【0007】
すなわち、本発明は、以下の(1)~(4)を要旨とするものである。
(1)単糸繊度が0.2~0.9dtexのポリエステル繊維Aと、単糸繊度が1.0~5.0dtexのポリエステル繊維Bとから構成される混繊交絡糸を含む織物であって、ポリエステル繊維Aとポリエステル繊維Bとの質量比率(A/B)が20/80~80/20の範囲にあり、混繊交絡糸の表面部分において、ポリエステル繊維Aによる突出部が形成されており、織物全体のカバーファクターが2200~4000であり、かつ織物中の混繊交絡糸のカバーファクターが1100~2600であり、水滴転がり角度が40度以下である撥水性織物。
(2)織物の経糸および緯糸のいずれも混繊交絡糸を含む、(1)に記載の撥水性織物。
(3)目付けが80~300g/m
2
である、(1)または(2)に記載の撥水性織物。
(4)保温率が48%以上である(1)~(3)のいずれかに記載の撥水性織物。
【発明の効果】
【0008】
本発明によれば、表面部分に突出部が形成された混繊交絡糸を用いて特定範囲のカバーファクターを有する高密度織物とすることによって、優れた撥水性を有するとともに、水に濡れた際にも織物上から水が素早く流れ落ちることで着用者の衣服内温度が急激に低下することを抑制し、高い保温性を有する撥水性織物を提供することができる。
【図面の簡単な説明】
【0009】
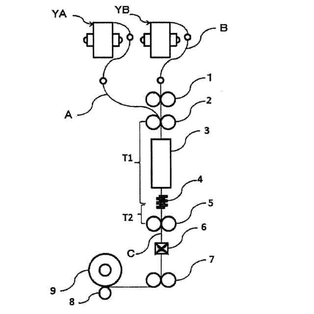
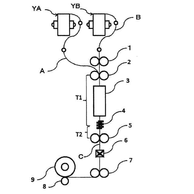
本発明の撥水性織物を構成する混繊交絡糸の製造方法の一例を説明するための模式図である。
【発明を実施するための形態】
【0010】
以下、本発明について詳細に説明する。
(【0011】以降は省略されています)
この特許をJ-PlatPat(特許庁公式サイト)で参照する
関連特許
川端有限会社
織物
3か月前
山崎産業株式会社
織物及び拭布
2か月前
東レ株式会社
織物およびシート表皮材
2か月前
東レ株式会社
織物および織物プリプレグ
2か月前
ユニチカトレーディング株式会社
白色織物
1か月前
ユニチカトレーディング株式会社
撥水性織物
24日前
帝人株式会社
高視認性難燃布帛および繊維製品
1か月前
鈴木織商株式会社
運送機器用内装材
12日前
株式会社豊田自動織機
織機用異常検知装置
18日前
株式会社豊田自動織機
繊維構造体、及び繊維強化複合材
18日前
YKK AP株式会社
スクリーン用生地
19日前
大和紡績株式会社
工業用織物、不織布製造用支持体および不織布の製造方法
1か月前
旭化成株式会社
ガラスクロス、プリプレグ、及びプリント配線板
1か月前
ユニチカ株式会社
防汚性に優れた建築工事用メッシュシートの製造方法
3日前
富喬工業股分有限公司
ガラス繊維クロス製品、プレプレグ及び銅張積層板
10日前
倉敷紡績株式会社
制電性織物及び制電性衣服
3か月前
イテマ・ソチエタ・ペル・アツィオーニ
緯糸を保持するためのブラシ手段を備えたエア織機の主発射ノズル用の支持体
1か月前
ロイ エス.アール.エル.
緯糸の脱離を制御する電磁石群に統合される独立光学ユニットを備える織機用緯糸供給装置
2か月前
ヤーコプ ミューラー アクチエンゲゼルシャフト フリック
織物構造およびそれに関連する製造方法
1か月前
広東前進牛仔布有限公司
保温性と快適性を備えたリブフリースデニム生地、及びその製造方法
19日前
ザ リージェンツ オブ ザ ユニバーシティ オブ カリフォルニア
併用がん療法剤および方法
12日前
一般社団法人NAGOYA
電子機器
2か月前
一般社団法人NAGOYA
電子機器
2か月前
リージェンツ オブ ザ ユニバーシティ オブ ミネソタ
中枢神経系へのアデノ随伴ウイルスを介した遺伝子導入
2か月前
日立建機株式会社
部品需要予測装置
2か月前
ノバルティス アーゲー
抗CD19キメラ抗原受容体を使用する癌の処置
3か月前
他の特許を見る