TOP
|
特許
|
意匠
|
商標
特許ウォッチ
Twitter
他の特許を見る
公開番号
2025170082
公報種別
公開特許公報(A)
公開日
2025-11-14
出願番号
2025150318,2021136747
出願日
2025-09-10,2021-08-25
発明の名称
防汚性に優れた建築工事用メッシュシートの製造方法
出願人
ユニチカ株式会社
代理人
個人
主分類
D03D
19/00 20060101AFI20251107BHJP(織成)
要約
【課題】 汚れにくく、かつ、汚れを落としやすく洗濯しやすい防汚性に優れたメッシュシートの製造方法を提供する。
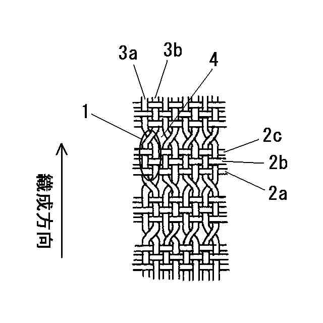
【解決手段】 芯成分が融点255℃のポリエチレンテレフタレート系重合体で、鞘成分が融点160℃の共重合ポリエステルである芯鞘型複合フィラメント群で形成されてなる熱融着性マルチフィラメント糸を準備する。一方、ポリエチレンテレフタレート系重合体よりなる単相フィラメント群で形成されてなる非熱融着性マルチフィラメント糸を準備する。緯糸2a,2b及び2cとして熱融着性マルチフィラメント糸を用い、経糸3a及び3bとして非熱融着性マルチフィラメント糸を用いて織成し、図1の構造を持つ絽組織の織物を得る。この織物を熱処理して、芯鞘型複合フィラメントの鞘成分である共重合ポリエステルを溶融させ、芯鞘型複合フィラメント相互間を一体化させてメッシュ織物を得る。
【選択図】 図1
特許請求の範囲
【請求項1】
芯成分がポリエチレンテレフタレート系重合体よりなり、鞘成分が該ポリエチレンテレフタレート系重合体よりも低融点である共重合ポリエステルよりなる芯鞘型複合フィラメント群で形成されてなる熱融着性マルチフィラメント糸を準備する工程、
ポリエチレンテレフタレート系重合体よりなる単相フィラメント群で形成されてなる非熱融着性マルチフィラメント糸を準備する工程、
前記熱融着性マルチフィラメント糸と前記非熱融着性マルチフィラメント糸を用いて絽組織の織物を織成する織成工程及び
前記絽組織の前記織物を熱処理してメッシュ織物を得る熱処理工程を具備する建築工事用シートの製造方法であって、
前記織成工程において、前記絽組織の織構造単位は、3本以上の緯糸と2本の経糸とよりなり、該緯糸と該経糸の交差点では平織組織となっており、該2本の経糸は該3本以上の緯糸の出口で綟られており、前記3本以上の緯糸の少なくとも1本は前記熱融着性マルチフィラメント糸であり、前記2本の経糸はいずれも前記非熱融着性マルチフィラメント糸であり、
前記熱処理工程において、前記熱融着性マルチフィラメント糸を形成している前記芯鞘型複合フィラメントの前記鞘成分である前記共重合ポリエステルを溶融させ、前記芯鞘型複合フィラメント相互間を一体化させることを特徴とする防汚性に優れた建築工事用シートの製造方法。
続きを表示(約 360 文字)
【請求項2】
絽組織の織構造単位の緯糸が3本である請求項1記載の防汚性に優れた建築工事用メッシュシートの製造方法。
【請求項3】
3本の緯糸のいずれもが、熱融着性マルチフィラメント糸である請求項2記載の防汚性に優れた建築工事用メッシュシートの製造方法。
【請求項4】
芯成分であるポリエチレンテレフタレート系重合体及び単相フィラメントを構成するポリエチレンテレフタレート系重合体が、難燃性ポリエチレンテレフタレート系重合体である請求項1記載の防汚性に優れた建築工事用メッシュシートの製造方法
【請求項5】
難燃性ポリエチレンテレフタレート系重合体は、ポリマー分子中にリン化合物が共重合されてなるものである請求項4記載の防汚性に優れた建築工事用メッシュシートの製造方法。
発明の詳細な説明
【技術分野】
【0001】
本発明は、防汚性に優れた建築工事用メッシュシート(以下、単に「メッシュシート」という。)の製造方法に関するものである。
続きを表示(約 2,800 文字)
【背景技術】
【0002】
従来より、メッシュシートとして、耐候性の良好なポリエチレンテレフタレート系マルチフィラメント糸で織成された絽組織のメッシュ織物が用いられている(特許文献1)。絽組織のメッシュ織物は、目づれが生じにくく、通風性も良好であるため、メッシュシートとして好適である。
【0003】
メッシュシートは、種々の建築現場で繰り返し再使用されるため、主としてレンタル商品又はリース商品として取り扱われている。したがって、汚れにくく、かつ、汚れを落としやすく洗濯しやすいものが要望されている。しかしながら、特許文献1記載のメッシュシートは単フィラメントが集束してなるマルチフィラメント糸で織成されているため、単フィラメント相互間に汚れが入り込みやすく、入り込んだ汚れも落ちにくいという欠点があった。
【0004】
一方、特許文献2には、防汚性布帛を得るために、布帛の構成糸条として、単フィラメント相互間が融着されてなる熱融着マルチフィラメント糸を採用するという発明(以下、「先行発明」という。)が記載されている。すなわち、この先行発明は、芯成分が高融点重合体よりなり、鞘成分が低融点重合体よりなる芯鞘型複合フィラメント相互間を鞘成分の溶融固化により一体化されてなる熱融着マルチフィラメント糸で構成された防汚性布帛というものである。
【0005】
特開平8-109541号公報
特許第5814045号公報
【発明の概要】
【発明が解決しようとする課題】
【0006】
本発明の課題は、上記した先行発明に係る防汚性布帛の製造方法の一例を提供するものであって、柔軟で洗濯しやすいメッシュシートの製造方法を提供することにある。
【課題を解決するための手段】
【0007】
本発明は、絽組織中の特定の糸に熱融着性マルチフィラメント糸を採用することにより、上記課題を解決したものである。すなわち、本発明は、芯成分がポリエチレンテレフタレート系重合体よりなり、鞘成分が該ポリエチレンテレフタレート系重合体よりも低融点である共重合ポリエステルよりなる芯鞘型複合フィラメント群で形成されてなる熱融着性マルチフィラメント糸を準備する工程、ポリエチレンテレフタレート系重合体よりなる単相フィラメント群で形成されてなる非熱融着性マルチフィラメント糸を準備する工程、前記熱融着性マルチフィラメント糸と前記非熱融着性マルチフィラメント糸を用いて絽組織の織物を織成する織成工程及び前記絽組織の前記織物を熱処理してメッシュ織物を得る熱処理工程を具備する建築工事用シートの製造方法であって、前記織成工程において、前記絽組織の織構造単位は、3本以上の緯糸と2本の経糸とよりなり、該緯糸と該経糸の交差点では平織組織となっており、該2本の経糸は該3本以上の緯糸の出口で綟られており、前記3本以上の緯糸の少なくとも1本は前記熱融着性マルチフィラメント糸であり、前記2本の経糸はいずれも前記非熱融着性マルチフィラメント糸であり、前記熱処理工程において、前記熱融着性マルチフィラメント糸を形成している前記芯鞘型複合フィラメントの前記鞘成分である前記共重合ポリエステルを溶融させ、前記芯鞘型複合フィラメント相互間を一体化させることを特徴とする防汚性に優れた建築工事用シートの製造方法に関するものである。
【0008】
まず、本発明で準備する熱融着性マルチフィラメント糸について説明する。熱融着性マルチフィラメント糸は、芯鞘型複合フィラメント群が集束されてなるものである。芯鞘型複合フィラメントは、芯成分が耐候性の良好なポリエチレンテレフタレート系重合体であり、鞘成分がポリエチレンテレフタレート系重合体よりも低融点である共重合ポリエステルである。ポリエチレンテレフタレート系重合体の融点は約255℃程度であり、共重合ポリエステルの融点は約120~190℃程度である。ポリエチレンテレフタレート系重合体及び/又は共重合ポリエステルは、各々、難燃性であるのが好ましい。特に、建築現場での火災の危険を防止するため、難燃性の重合体を用いるのが好ましい。ポリエチレンテレフタレート系重合体及び/又は共重合ポリエステルを難燃性にするには、重合体中に難燃剤を混合しておいてもよいし、重合体分子中にリン化合物等の難燃化合物を共重合しておいてもよい。
【0009】
芯鞘型複合フィラメントの繊度は5~15デシテックス程度であり、熱融着性マルチフィラメント糸とする際の集束本数は30~200本程度である。熱融着性マルチフィラメント糸は、芯鞘型複合フィラメント群が集束されると共に撚られて撚糸となったものを採用するのが好ましい。撚糸となっている方が、芯鞘型複合フィラメント相互間が密着しており、鞘成分の溶融により一体化したとき、得られる熱融着マルチフィラメント糸の表面が平滑になるからである。なお、撚糸とするとき、集束された芯鞘型複合フィラメント群をそのまま撚って熱融着性マルチフィラメント糸としてもよいし、集束された芯鞘型複合フィラメント群の2本以上を合わせて撚って、熱融着性マルチフィラメント糸としてもよい。撚回数は任意であるが、50~200回/m程度である。
【0010】
次に、本発明で準備する非熱融着性マルチフィラメント糸について説明する。非熱融着マルチフィラメント糸は、ポリエチレンテレフタレート系重合体よりなる単相フィラメント群が集束されてなるものである。かかる非熱融着マルチフィラメント糸を用いることにより、耐候性に優れたメッシュシートが得られる。単相フィラメントの繊度は5~15デシテックス程度であり、集束本数は30~200本程度である。また、この非熱融着性マルチフィラメント糸は、単相フィラメント群が集束されると共に撚られて撚糸となっているものが好ましい。撚糸となっている方が、単相フィラメント相互間が密着しており、汚れが入り込みにくいからである。なお、撚糸とするとき、集束された単相フィラメント群をそのまま撚って非熱融着性マルチフィラメント糸としてもよいし、集束された単相フィラメント群の2本以上を合わせて撚って非熱融着性マルチフィラメント糸としてもよい。撚回数は任意であるが、50~200回/m程度である。なお、非熱融着性マルチフィラメント糸も、ポリエチレンテレフタレート系重合体中に難燃剤を混合しておくか、ポリエチレンテレフタレート系重合体分子中にリン化合物等の難燃化合物を共重合しておき、難燃性にしておくのが好ましい。
(【0011】以降は省略されています)
この特許をJ-PlatPat(特許庁公式サイト)で参照する
関連特許
ユニチカ株式会社
ポリアミド樹脂組成物
1か月前
ユニチカ株式会社
機能性不織布の製造方法
10日前
ユニチカ株式会社
ポリエステル系長繊維不織布
1か月前
ユニチカ株式会社
積層フィルムおよびその製造方法
1か月前
ユニチカ株式会社
再帰反射性立体成型体の製造方法
1か月前
ユニチカ株式会社
再帰反射性立体成型体の製造方法
1か月前
ユニチカ株式会社
ガラス長繊維用サイズ剤及びガラスヤーン
1か月前
ユニチカ株式会社
マットポリアミド系フィルム及びその製造方法
1か月前
ユニチカ株式会社
ポリエステル樹脂及びポリエステル樹脂の製造方法
10日前
ユニチカ株式会社
ポリエステル樹脂及びポリエステル樹脂の製造方法
10日前
ユニチカ株式会社
二軸延伸ポリエステル樹脂系フィルム及びその製造方法
10日前
ユニチカ株式会社
ポリウレア樹脂組成物製造原料、ポリウレア樹脂組成物、塗料、および塗膜
13日前
ユニチカ株式会社
複合中空糸膜及びその製造方法
20日前
ユニチカ株式会社
ポリウレア樹脂組成物製造原料、ポリウレア樹脂組成物、塗料、塗膜、および塗装方法
13日前
ユニチカ株式会社
防汚性に優れた建築工事用メッシュシートの製造方法
3日前
川端有限会社
織物
3か月前
東レ株式会社
織物および繊維製品
3か月前
東レ株式会社
織物およびシート表皮材
2か月前
山崎産業株式会社
織物及び拭布
2か月前
東レ・デュポン株式会社
交織織物
3か月前
東レ株式会社
織物および織物プリプレグ
2か月前
ユニチカトレーディング株式会社
白色織物
1か月前
ユニチカトレーディング株式会社
撥水性織物
24日前
帝人株式会社
高視認性難燃布帛および繊維製品
1か月前
個人
リバーシブル対応ダブルパイル仕立てのタオル生地
3か月前
鈴木織商株式会社
運送機器用内装材
12日前
株式会社豊田自動織機
織機用異常検知装置
18日前
帝人株式会社
熱履歴を検知できる布帛および繊維製品
3か月前
トヨタ紡織株式会社
織物、表皮材及び内装部品
4か月前
トヨタ紡織株式会社
織物、表皮材及び内装部品
3か月前
トヨタ紡織株式会社
織物、表皮材及び内装部品
3か月前
株式会社豊田自動織機
繊維構造体、及び繊維強化複合材
18日前
YKK AP株式会社
スクリーン用生地
19日前
クラレトレーディング株式会社
立毛布帛およびその製造方法
4か月前
東レ株式会社
エアバッグ用織物およびエアバッグ用織物の製造方法ならびにエアバッグ
3か月前
大和紡績株式会社
工業用織物、不織布製造用支持体および不織布の製造方法
1か月前
続きを見る
他の特許を見る