TOP
|
特許
|
意匠
|
商標
特許ウォッチ
Twitter
他の特許を見る
10個以上の画像は省略されています。
公開番号
2025089139
公報種別
公開特許公報(A)
公開日
2025-06-12
出願番号
2023204161
出願日
2023-12-01
発明の名称
電子部品
出願人
NISSHA株式会社
代理人
個人
,
個人
,
個人
主分類
H05K
1/14 20060101AFI20250605BHJP(他に分類されない電気技術)
要約
【課題】被接続基板の破損を防止する。
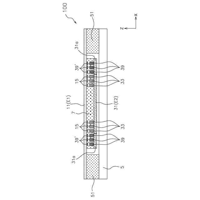
【解決手段】電子部品100は、被接続基板1と、フレキシブルプリント配線板3と、を備える。被接続基板1は、第1基体シート11と、第1基体シート11に形成された電気回路13と、第1基体シートの少なくとも一端に形成される第1端子形成部E1と、第1端子形成端部E1に形成され、電気回路13と接続される複数の第1端子15と、を有する。フレキシブルプリント配線板3は、第2基体シート31と、第2基体シートの少なくとも一端に形成される第2端子形成部E2と、第2端子形成端部E2に形成され、第1端子15と接続される複数の第2端子33と、を有する。第2端子形成端部E2には、複数の第2端子33が配列される方向であるX方向に延びる幅広部31aが形成される。幅広部31a、及び、第1基体シート11の幅広部31aと対向する部分の少なくとも一方にダミー端子39、39’が形成される。
【選択図】図1
特許請求の範囲
【請求項1】
第1基体シートと、前記第1基体シートに形成された所定の電気回路と、前記第1基体シートの少なくとも一端に形成される第1端子形成端部と、前記第1端子形成端部に形成され前記電気回路と接続される複数の第1端子と、を有する被接続基板と、
第2基体シートと、前記第2基体シートの少なくとも一端に形成される第2端子形成端部と、前記第2端子形成端部に形成され固定部材により前記被接続基板の第1端子と接続される複数の第2端子と、を有するフレキシブルプリント配線板と、
を備え、
前記第2端子形成端部には、前記複数の第2端子が配列される方向である第1方向に延びる幅広部が形成され、
前記幅広部、及び、前記第1基体シートの前記幅広部と対向する部分の少なくとも一方にダミー端子が形成される、電子部品。
続きを表示(約 670 文字)
【請求項2】
前記幅広部の前記第1方向の長さは、前記幅広部の前記第1方向と垂直な第2方向の長さの1倍以上である、請求項1に記載の電子部品。
【請求項3】
前記第1端子形成端部と前記第2端子形成端部は互いに平行に配置され、
前記幅広部の前記第1方向と垂直な第2方向の端部は、前記第1基体シートの端部からはみ出している、請求項1又は2に記載の電子部品。
【請求項4】
前記幅広部には、前記ダミー端子と所定の装置とを接続するための配線パターンが設けられない、請求項1又は2に記載の電子部品。
【請求項5】
前記第2基体シートは、複数の前記端子形成端部を有し、
前記幅広部は、複数の端子形成端部のうち、前記第2基体シートの前記第1方向における最外部分にのみ設けられる、請求項1又は2に記載の電子部品。
【請求項6】
前記ダミー端子は、前記幅広部の前記第1方向と垂直な第2方向の両端部に近接して配置される、請求項1又は2に記載の電子部品。
【請求項7】
前記ダミー端子は、前記第1方向に並んで複数設けられ、
複数のダミー端子の前記第1方向の配置間隔は、前記複数の第2端子の前記第1方向の配置間隔と同一である、請求項1又は2に記載の電子部品。
【請求項8】
前記幅広部には、前記第2基体シートとの接続部分にRカットが形成され、
前記Rカットの寸法は、0.1mm~1.5mmの範囲内である、請求項1又は2に記載の電子部品。
発明の詳細な説明
【技術分野】
【0001】
本発明は、所定の電気回路が設けられた被接続基板と、被接続基板に接続されるフレキシブルプリント配線板と、を備える電子部品に関する。
続きを表示(約 1,600 文字)
【背景技術】
【0002】
従来、タッチセンサなどの所定の電気回路が形成された被接続基板と、この電気回路と外部の装置とを接続するためのフレキシブルプリント配線板と、を備える電子部品が知られている(例えば、特許文献1を参照)。
【0003】
上記の電子部品において、被接続基板の端部には上記所定の電気回路に接続された第1端子が形成され、フレキシブルプリント配線板の端部には第1端子と電気的に接続される第2端子が形成される。そして、フレキシブルプリント配線板の第2端子が形成された端部が、異方性導電部材などの固定部材により、被接続基板の第1端子が形成された端部に固定される。
【先行技術文献】
【特許文献】
【0004】
特開2008-98548号公報
【発明の概要】
【発明が解決しようとする課題】
【0005】
上記の電子部品において、例えば、フレキシブルプリント配線板を被接続基板に対して垂直な方向に持ち上げるなど変形した場合に、被接続基板が破損することがあった。特に、被接続基板のフレキシブルプリント配線板が固定された端部のうち、フレキシブルプリント配線板の端部に近い部分が破損することがあった。
【0006】
本発明の課題は、所定の電気回路が設けられた被接続基板と、被接続基板に接続されるフレキシブルプリント配線板と、を備える電子部品において、被接続基板の破損を防止することにある。
【課題を解決するための手段】
【0007】
以下に、課題を解決するための手段として複数の態様を説明する。これら態様は、必要に応じて任意に組み合せることができる。
第1見地に係る電子部品は、被接続基板と、フレキシブルプリント配線板と、を備える。被接続基板は、第1基体シートと、第1基体シートに形成された所定の電気回路と、第1基体シートの少なくとも一端に設けられた第1端子形成端部と、第1端子形成端部に形成され、電気回路と接続される複数の第1端子と、を有する。フレキシブルプリント配線板は、第2基体シートと、第2基体シートの少なくとも一端に設けられた第2端子形成端部と、第2端子形成端部に形成され、固定部材により被接続基板の第1端子と接続される複数の第2端子と、を有する。
【0008】
第1見地に係る電子部品において、第2端子形成端部には、複数の第2端子が配列される方向である第1方向に延びる幅広部が形成されている。また、幅広部、及び、第1基体シートの幅広部と対向する部分の少なくとも一方にダミー端子が形成される。
【0009】
第1見地に係る電子部品においては、フレキシブルプリント配線板の第2基体シートの第2端子形成端部、すなわち、第2基体シートと第1基体シートとの接続部分に、前記複数の第2端子が配列される方向である第1方向に延びる幅広部が設けられている。幅広部を設けることにより、第2基体シートが変形した場合に、この変形により第1基体シートに働く応力が分散され、第1基体シートの特定の箇所に応力が集中することが抑制される。この結果、フレキシブルプリント配線板の変形により被接続基板が破損することを抑制できる。
【0010】
また、幅広部、及び、第1基体シートの幅広部と対向する部分の少なくとも一方にダミー端子が形成されている。幅広部、第1基体シートにおいて幅広部に対応する部分にダミー端子を設けることで、第1基体シートと第2基体シートとを固定部材により固定するときに、固定部材が幅広部にも隙間なく充填されやすくなる。この結果、幅広部と第1基体シートとの間の固定部材内に気泡などの空間が形成されにくくなるので、幅広部と第1基体シートとをより強固に固定できる。
(【0011】以降は省略されています)
この特許をJ-PlatPat(特許庁公式サイト)で参照する
関連特許
NISSHA株式会社
物品収容構造体
2か月前
株式会社コロナ
電気機器
1か月前
日本精機株式会社
回路基板
2か月前
株式会社遠藤照明
照明装置
2か月前
日本精機株式会社
駆動装置
3か月前
個人
非衝突型ガウス加速器
17日前
株式会社プロテリアル
シールド材
3か月前
三菱電機株式会社
電子機器
3か月前
個人
節電材料
25日前
アイホン株式会社
電気機器
17日前
キヤノン株式会社
電子機器
2か月前
メクテック株式会社
配線基板
7日前
メクテック株式会社
配線基板
2か月前
マクセル株式会社
配列用マスク
1か月前
東レ株式会社
霧化状活性液体供給装置
3日前
個人
電子機器収納ユニット
3か月前
トキコーポレーション株式会社
照明器具
1か月前
イビデン株式会社
プリント配線板
1か月前
サクサ株式会社
筐体の壁掛け構造
今日
イビデン株式会社
プリント配線板
3か月前
イビデン株式会社
配線基板
20日前
イビデン株式会社
プリント配線板
2か月前
イビデン株式会社
プリント配線板
1か月前
日産自動車株式会社
電子機器
1か月前
カシン工業株式会社
PTC発熱装置
1か月前
新電元工業株式会社
充電装置
1か月前
株式会社電気印刷研究所
金属画像形成方法
1か月前
株式会社電気印刷研究所
金属画像形成方法
1か月前
メクテック株式会社
伸縮性配線基板
2か月前
メクテック株式会社
配線モジュール
2か月前
新光電気工業株式会社
配線基板
3か月前
昭栄化学工業株式会社
焼成型導電性ペースト
2か月前
マクセルイズミ株式会社
加熱ユニット
2か月前
TDK株式会社
配線基板
2か月前
富士電子工業株式会社
高周波焼入装置
27日前
株式会社タクミ精工
除電ブラシ
3か月前
続きを見る
他の特許を見る