TOP
|
特許
|
意匠
|
商標
特許ウォッチ
Twitter
他の特許を見る
公開番号
2025072686
公報種別
公開特許公報(A)
公開日
2025-05-12
出願番号
2022048798
出願日
2022-03-24
発明の名称
フッ化炭化水素の製造方法
出願人
日本ゼオン株式会社
,
国立大学法人九州大学
代理人
個人
,
個人
,
個人
,
個人
主分類
C07C
17/35 20060101AFI20250501BHJP(有機化学)
要約
【課題】フッ化炭化水素を、気相流通方式で、触媒を使用せずに、簡便かつ効率的に製造可能な製造方法を提供する。
【解決手段】プラズマ装置内に第1の不活性ガスを連続的に供給して放電領域を形成し、前記プラズマ装置内の放電領域周辺に気体のフッ素含有無機化合物、式1:CH
3
-R〔ここで、Rは、水素原子、塩素原子、臭素原子、ヨウ素原子又は有機基(ただし、炭化水素基を除く。)である。〕で表される化合物及び第2の不活性ガスを含む原料ガスを連続的に流通させ、前記プラズマ装置外に連続的に放出することを含む、フッ化炭化水素の製造方法。
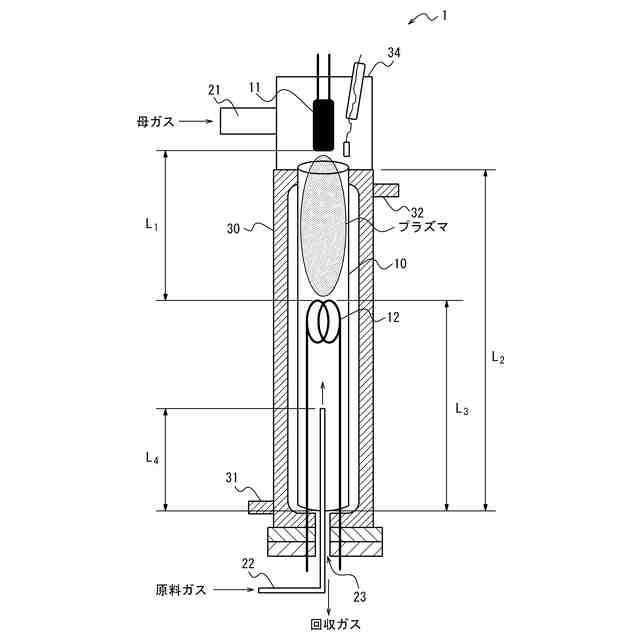
【選択図】図1
特許請求の範囲
【請求項1】
プラズマ装置内に第1の不活性ガスを連続的に供給して放電領域を形成し、前記プラズマ装置内の放電領域周辺に気体のフッ素含有無機化合物、式1:CH
3
-R〔ここで、Rは、水素原子、塩素原子、臭素原子、ヨウ素原子又は有機基(ただし、炭化水素基を除く。)である。〕で表される化合物及び第2の不活性ガスを含む原料ガスを連続的に流通させ、前記プラズマ装置外に連続的に放出することを含む、フッ化炭化水素の製造方法。
続きを表示(約 780 文字)
【請求項2】
プラズマ装置が、大気圧熱プラズマを形成する装置である、
請求項1記載のフッ化炭化水素の製造方法。
【請求項3】
前記大気圧熱プラズマが、アーク放電又は高周波放電により形成される、
請求項2記載のフッ化炭化水素の製造方法。
【請求項4】
前記気体のフッ素含有無機化合物が、SF
4
、SF
6
、SOF
2
、SO
2
F
2
、HF、NF
3
、CF
4
、COF
2
、BF
3
及びSiF
4
からなる群より選択される少なくとも一種である、
請求項1~3のいずれか一項に記載のフッ化炭化水素の製造方法。
【請求項5】
前記第1の不活性ガス及び第2の不活性ガスが、それぞれ独立して、N
2
及びArからなる群より選択される少なくとも一種である、
請求項1~4のいずれか一項に記載のフッ化炭化水素の製造方法。
【請求項6】
前記原料ガスに占める、前記気体のフッ素含有無機化合物及び前記式1で表される化合物の含有割合が、25体積%以上100体積%以下である、
請求項1~5のいずれか一項に記載のフッ化炭化水素の製造方法。
【請求項7】
前記式1で表される化合物に対する前記気体のフッ素含有無機化合物の体積比が2以上である、
請求項1~6のいずれか一項に記載のフッ化炭化水素の製造方法。
【請求項8】
前記フッ化炭化水素がモノフルオロメタンである、
請求項1~7のいずれか一項に記載のフッ化炭化水素の製造方法。
発明の詳細な説明
【技術分野】
【0001】
本発明は、フッ化炭化水素の製造方法に関するものである。
続きを表示(約 2,100 文字)
【背景技術】
【0002】
モノフルオロメタンをはじめとするフッ化炭化水素は、半導体の微細加工用のエッチングガス等の用途に広く用いられている。
【0003】
そして、モノフルオロメタンの製造方法としては、フッ素化触媒の存在下、塩化メチル(CH
3
Cl)とフッ化水素とを気相で反応させてモノフルオロメタンを含む混合ガスを得た後、混合ガスからモノフルオロメタンを分離精製する方法が知られている(特許文献1)。
【0004】
また、フッ素化触媒を使用しない製造方法として、気相流通方式のモノフルオロメタンの製造方法であって、フッ素含有無機化合物、所定の化合物及び不活性ガスを含む原料ガスを連続的に流通させた状態で放電させ、次いで放電領域外に連続的に放出する方法も提案されている(特許文献2)。
【先行技術文献】
【特許文献】
【0005】
特開2006-111611号公報
国際公開第2021/241371号
【発明の概要】
【発明が解決しようとする課題】
【0006】
上記の気相流通方式のモノフルオロメタンの製造方法は、フッ素化触媒を使用しないため、フッ素化触媒の調製の負担がなく、また、触媒の活性低下に伴う収率低下を回避することができる。しかしながら、プラズマ装置の放電領域内に、モノフルオロメタンの原料ガスを流通させるため、原料ガス中のフッ素含有成分が過度に分解し、副生成物が増加するおそれがあった。また、フッ素含有成分がプラズマ装置内の電極等に接触すると腐食を発生させるおそれもあった。
【0007】
本発明は、モノフルオロメタンをはじめとするフッ化炭化水素を、気相流通方式で、触媒を使用せずに、簡便かつ効率的に製造することが可能な製造方法を提供することを目的とする。
【0008】
本発明は、上記課題を有利に解決することを目的とするものであり、プラズマ装置内に第1の不活性ガスを連続的に供給して放電領域を形成し、前記プラズマ装置内の放電領域周辺に気体のフッ素含有無機化合物、式1:CH
3
-R〔ここで、Rは、水素原子、塩素原子、臭素原子、ヨウ素原子又は有機基(ただし、炭化水素基を除く。)である。〕で表される化合物及び第2の不活性ガスを含む原料ガスを連続的に流通させ、前記プラズマ装置外に連続的に放出することを含む、フッ化炭化水素の製造方法に関する。
【0009】
ここで、プラズマ装置内の放電領域とは、プラズマ装置内の電場により気体の絶縁性を破壊し、電流が流れる空間をいう。
気体のフッ素含有無機化合物は、標準状態(298K、大気圧)でガスであるフッ素含有無機化合物をいう。無機化合物は、炭素原子を含有しない化合物及び炭素原子を1個含有し、かつ水素原子を含有しない化合物をいう。
フッ化炭化水素とは、炭化水素化合物の水素原子の少なくとも1個がフッ素原子で置換されている化合物をいい、炭化水素化合物の水素原子の全てがフッ素原子で置換されている化合物を包含する。
【0010】
本発明のフッ化炭化水素の製造方法によれば、フッ化炭化水素が以下のようにして生成するものと推測される。
プラズマ装置内の放電領域の周辺は、プラズマの輻射熱により温度が高く、気体のフッ素含有無機化合物及び式1:CH
3
-R〔ここで、Rは、水素原子、塩素原子、臭素原子、ヨウ素原子又は有機基(ただし、炭化水素基を除く。)である。〕で表される化合物を供給すると、前者からは、フッ素イオン及びフッ素ラジカルの少なくとも一種(以下、「フッ素源」ともいう。)が発生し、式1:CH
3
-R〔ここで、Rは、水素原子、塩素原子、臭素原子、ヨウ素原子又は有機基(ただし、炭化水素基を除く。)である。〕で表される化合物から、CH
3
ラジカルやCH
3
イオンといった式1の化合物の部分構造を含むラジカルやイオン(以下、「CH
3
ラジカル等」ともいう。)をはじめとする活性種が生成する領域を含む。一般に、気体のフッ素含有無機化合物は安定で分解困難であるが、本発明におけるプラズマ装置の放電領域周辺は、プラズマの輻射熱により温度が高く気体のフッ素含有無機化合物を分解可能な領域をいう。
プラズマ装置内の放電領域周辺に気体のフッ素含有無機化合物及び式1で表される化合物を含む原料ガスを流通させ、上記フッ素源と上記活性種(なかでも、CH
3
ラジカル及びCH
3
イオン)を発生させ、次いでプラズマ装置外に連続的に放出することで、上記フッ素源と上記活性種(なかでも、CH
3
ラジカル及びCH
3
イオン)が結合し、フッ化炭化水素が生成する。
(【0011】以降は省略されています)
この特許をJ-PlatPat(特許庁公式サイト)で参照する
関連特許
東ソー株式会社
タンパク質の発現方法
29日前
株式会社トクヤマ
四塩化炭素の製造方法
3か月前
東ソー株式会社
炭素-窒素結合形成方法
3か月前
株式会社トクヤマ
シロキサン類の回収方法
3か月前
株式会社半導体エネルギー研究所
有機化合物
2か月前
株式会社トクヤマ
ビオチン誘導体の製造方法
2か月前
栗田工業株式会社
ギ酸の回収方法
11日前
東ソー株式会社
イソシアネート化合物の製造方法
1か月前
株式会社トクヤマ
チオラクトン誘導体の製造方法
19日前
株式会社コスモス
液状炭化水素の増産方法
2か月前
株式会社コスモス
液状炭化水素の増産方法
2か月前
株式会社トクヤマ
ベンザゼピン化合物の製造方法
2か月前
株式会社トクヤマ
ホルムアミド化合物の製造方法
2か月前
日産化学株式会社
ピラゾール化合物及び有害生物防除剤
2か月前
大阪瓦斯株式会社
メタン製造システム
15日前
国立大学法人東京農工大学
深共晶溶媒
2か月前
本田技研工業株式会社
CO2変換方法
15日前
三菱ケミカル株式会社
アルコールの製造方法
1か月前
キヤノン株式会社
有機化合物及び有機発光素子
19日前
東ソー株式会社
免疫グロブリン結合性タンパク質の製造方法
29日前
JNC株式会社
有機ケイ素化合物およびこれを用いた重合体
2か月前
JNC株式会社
有機ケイ素化合物およびこれを用いた重合体
1か月前
株式会社トクヤマ
アシル化ベンゼン誘導体の酸塩の製造方法
2か月前
個人
IL-17産生誘導能を有する化合物及びその用途
16日前
キヤノン株式会社
有機金属錯体及び有機発光素子
15日前
株式会社半導体エネルギー研究所
有機金属錯体、発光デバイス
2か月前
国立大学法人京都大学
抗がん剤
1か月前
デンカ株式会社
有機酸又はその塩の製造方法
1か月前
株式会社 MTG
ツバキ科ツバキ属の若葉からのエラグ酸製造方法
1か月前
国立大学法人岩手大学
反応性付与化合物
2か月前
岐阜市
化合物、アジュバント組成物および医薬組成物
16日前
株式会社成和化成
アスコルビン酸誘導体又はその塩及びその化粧料
1日前
学校法人東海大学
樹脂担持環状テルル化合物
2か月前
三菱ケミカル株式会社
化合物
1か月前
旭化成株式会社
ホルムアルデヒドガスの製造方法
1か月前
花王株式会社
抗ヒトノロウイルス抗体
11日前
続きを見る
他の特許を見る