TOP
|
特許
|
意匠
|
商標
特許ウォッチ
Twitter
他の特許を見る
10個以上の画像は省略されています。
公開番号
2025063453
公報種別
公開特許公報(A)
公開日
2025-04-16
出願番号
2023172660
出願日
2023-10-04
発明の名称
自動送り穿孔機
出願人
大肯精密株式会社
代理人
個人
主分類
B23B
47/02 20060101AFI20250409BHJP(工作機械;他に分類されない金属加工)
要約
【課題】自動送り穿孔機を改善する。
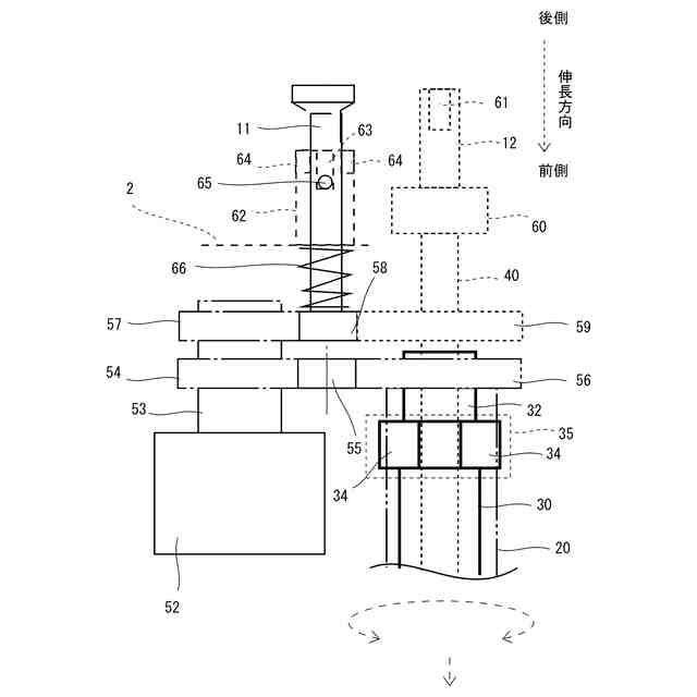
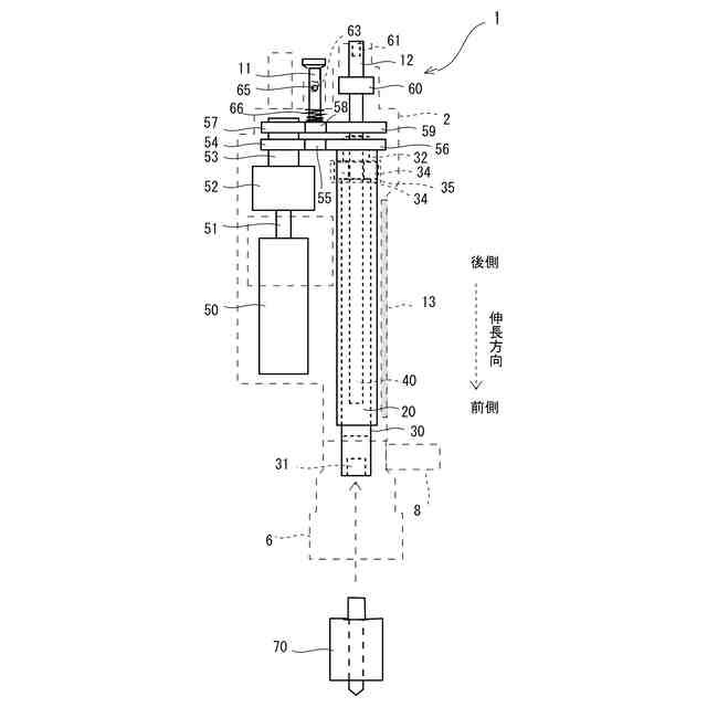
【解決手段】自動送り穿孔機1は、外筒体20と外筒体20内側において外筒体20の軸方向に沿って移動可能に支持される内筒体30とを有し、内筒体30の伸長方向先端部に加工工具70が取付けられる。減速部材52は、モータ50の回転を減速して減速出力軸53を回転駆動する。第一駆動歯車54および第二駆動歯車57は、減速出力軸53とともに回転駆動される。第一従動歯車56は、第一駆動歯車54の回転にしたがって外筒体20とともに回転する。送りネジ軸部材40は、外筒体20および内筒体30の内側に設けられ、外周面にネジ山が形成される。雌ネジ部材32は、送りネジ軸部材40と螺合し、内筒体30についての伸長方向後側に一体に成形される。第二従動歯車59は、第二駆動歯車57の回転にしたがって送りネジ軸部材40とともに回転する。
【選択図】 図2
特許請求の範囲
【請求項1】
外筒体と前記外筒体の内側において前記外筒体の軸方向に沿って移動可能に支持される内筒体とを回転可能に且つ収容可能に支持する本体を有し、前記外筒体から伸長する前記内筒体の伸長方向先端部に加工工具が取付けることができる自動送り穿孔機であって、
前記外筒体を回転駆動することにより前記外筒体とともに前記内筒体および前記加工工具を回転駆動するために、前記本体に設けられるモータと、
前記モータの回転を減速して減速出力軸を回転駆動する減速部材と、
前記減速出力軸に取付けられ、前記減速出力軸とともに回転駆動される第一駆動歯車および第二駆動歯車と、
前記外筒体に取付けられ、前記第一駆動歯車の回転にしたがって前記外筒体とともに回転可能な第一従動歯車と、
前記外筒体および前記内筒体の内側に設けられ、外周面にネジ山が形成される送りネジ軸部材と、
前記送りネジ軸部材と螺合して、前記内筒体についての伸長方向後側に一体に成形される雌ネジ部材と、
前記送りネジ軸部材に取付けられ、前記第二駆動歯車の回転にしたがって前記送りネジ軸部材とともに回転可能な第二従動歯車と、
を有する、自動送り穿孔機。
続きを表示(約 1,400 文字)
【請求項2】
前記外筒体および前記内筒体と、前記送りネジ軸部材とは、前記モータの回転駆動力により同じ方向に回転され、
前記第一駆動歯車および前記第一従動歯車と、前記第二駆動歯車および前記第二従動歯車とは、
前記外筒体および前記内筒体よりも、前記送りネジ軸部材が遅い回転数で駆動されるように構成されている、
請求項1記載の、自動送り穿孔機。
【請求項3】
前記本体は、
前記外筒体および前記内筒体を収容する円筒部と、
前記円筒部の外側に前記モータを、前記モータの出力軸が前記外筒体の軸方向に沿うように収容するモータハウジング部と、
前記円筒部および前記モータハウジング部についての前記伸長方向後側に設けられ、前記第一駆動歯車、前記第一従動歯車、前記第二駆動歯車、および前記第二従動歯車を収容するギアボックス部と、を有する、
請求項2記載の、自動送り穿孔機。
【請求項4】
前記ギアボックス部において、
前記外筒体に取付けられる前記第一従動歯車の回転軸と、前記送りネジ軸部材に取付けられる前記第二従動歯車の回転軸とは、前記第一駆動歯車および前記第一従動歯車が取付けられる減速出力軸と略平行となるように、同軸とされ、
前記第一駆動歯車と前記第一従動歯車とには、前記第一駆動歯車と前記第一従動歯車との間に設けられる第一中継歯車が噛み合わされ、
前記第二駆動歯車と前記第二従動歯車とには、前記第二駆動歯車と前記第二従動歯車との間に設けられる第二中継歯車が噛み合わされる、
請求項3記載の、自動送り穿孔機。
【請求項5】
前記ギアボックス部において、前記第二駆動歯車、前記第二中継歯車、および前記第二従動歯車は、前記第一駆動歯車、前記第一中継歯車、および前記第一従動歯車に対して、前記伸長方向後側に設けられ、
前記ギアボックス部には、前記第二中継歯車を軸支するクラッチ軸部材と、前記送りネジ軸部材を回転操作するための操作部材と、が設けられ、
前記クラッチ軸部材は、前記クラッチ軸部材の一部を、前記ギアボックス部の外に露出するように設けられ、
前記操作部材は、前記操作部材の一部を、前記ギアボックス部の外に露出するように設けられる、
請求項4記載の、自動送り穿孔機。
【請求項6】
前記ギアボックス部には、
前記操作部材の回転を加速して前記送りネジ軸部材に伝える増速部材と、
を有する、
請求項5記載の、自動送り穿孔機。
【請求項7】
前記内筒体および前記内筒体に一体に成形される雌ネジ部材は、前記外筒体の内側に設けられ、
前記外筒体には、前記軸方向に沿う長尺孔が形成され、
前記内筒体についての伸長方向後側に一体に成形される前記雌ネジ部材には、前記外筒体の前記長尺孔の内側で長尺方向へ移動可能なキー部材が、前記外筒体の外側に設けられる環状部材とともに取付けられ、
前記内筒体は、前記外筒体の前記長尺孔の内側において前記キー部材が係合することにより、前記外筒体の内側において前記外筒体の軸方向に沿って移動可能に支持される、
請求項6記載の、自動送り穿孔機。
発明の詳細な説明
【技術分野】
【0001】
本発明は、自動送り穿孔機に関する。
続きを表示(約 2,100 文字)
【背景技術】
【0002】
管材に対して分岐などのための孔を穿孔するために、穿孔機が用いられている。
穿孔機は、特許文献1、2にあるように、穿孔用の加工工具であるホールソーなどが取付けられる。
そして、特許文献1の穿孔機では、ホールソーをモータで回転駆動しながら、ハンドルを手まわししてホールソーを管材へ向けて送る。これにより、管材には、ホールソーに対応する孔が開設される。
しかしながら、この場合、作業者は、管材に孔を穿孔する際に、ホールソーを管材へ向けて送るためにハンドルを手まわしする必要がある。
【先行技術文献】
【特許文献】
【0003】
特開2023-002948号公報
特許第6501365号公報
【発明の概要】
【発明が解決しようとする課題】
【0004】
そこで、特許文献2のように、穿孔機に、ホールソーを管材へ向けて送るためのモータなどを追加して、自動送りを可能とすることが試みられている。
しかしながら、特許文献2のように、穿孔機に、ホールソーを回転駆動するための第一のモータと、ホールソーを自動送りするための第二のモータと、を設けると、穿孔機が大型化し、穿孔機の重量も増加する。自動送り機能を設けた穿孔機の作業性および運搬性は、自動送り機能を持たない穿孔機と比べて、劣る。
【0005】
このように自動送り穿孔機には、改善することが求められる。
【課題を解決するための手段】
【0006】
本発明に係る自動送り穿孔機は、外筒体と前記外筒体の内側において前記外筒体の軸方向に沿って移動可能に支持される内筒体とを回転可能に且つ収容可能に支持する本体を有し、前記外筒体から伸長する前記内筒体の伸長方向先端部に加工工具が取付けることができる自動送り穿孔機であって、前記外筒体を回転駆動することにより前記外筒体とともに前記内筒体および前記加工工具を回転駆動するために、前記本体に設けられるモータと、前記モータの回転を減速して減速出力軸を回転駆動する減速部材と、前記減速出力軸に取付けられ、前記減速出力軸とともに回転駆動される第一駆動歯車および第二駆動歯車と、前記外筒体に取付けられ、前記第一駆動歯車の回転にしたがって前記外筒体とともに回転可能な第一従動歯車と、前記外筒体および前記内筒体の内側に設けられ、外周面にネジ山が形成される送りネジ軸部材と、前記送りネジ軸部材と螺合して、前記内筒体についての伸長方向後側に一体に成形される雌ネジ部材と、前記送りネジ軸部材に取付けられ、前記第二駆動歯車の回転にしたがって前記送りネジ軸部材とともに回転可能な第二従動歯車と、を有する、ものである。
【0007】
好適には、前記外筒体および前記内筒体と、前記送りネジ軸部材とは、前記モータの回転駆動力により同じ方向に回転され、前記第一駆動歯車および前記第一従動歯車と、前記第二駆動歯車および前記第二従動歯車とは、前記外筒体および前記内筒体よりも、前記送りネジ軸部材が遅い回転数で駆動されるように構成されている、とよい。
【0008】
好適には、前記本体は、前記外筒体および前記内筒体を収容する円筒部と、前記円筒部の外側に前記モータを、前記モータの出力軸が前記外筒体の軸方向に沿うように収容するモータハウジング部と、前記円筒部および前記モータハウジング部についての前記伸長方向後側に設けられ、前記第一駆動歯車、前記第一従動歯車、前記第二駆動歯車、および前記第二従動歯車を収容するギアボックス部と、を有する、とよい。
【0009】
好適には、前記ギアボックス部において、前記外筒体に取付けられる前記第一従動歯車の回転軸と、前記送りネジ軸部材に取付けられる前記第二従動歯車の回転軸とは、前記第一駆動歯車および前記第一従動歯車が取付けられる減速出力軸と略平行となるように、同軸とされ、前記第一駆動歯車と前記第一従動歯車とには、前記第一駆動歯車と前記第一従動歯車との間に設けられる第一中継歯車が噛み合わされ、前記第二駆動歯車と前記第二従動歯車とには、前記第二駆動歯車と前記第二従動歯車との間に設けられる第二中継歯車が噛み合わされる、とよい。
【0010】
好適には、前記ギアボックス部において、前記第二駆動歯車、前記第二中継歯車、および前記第二従動歯車は、前記第一駆動歯車、前記第一中継歯車、および前記第一従動歯車に対して、前記伸長方向後側に設けられ、前記ギアボックス部には、前記第二中継歯車を軸支するクラッチ軸部材と、前記送りネジ軸部材を回転操作するための操作部材と、が設けられ、前記クラッチ軸部材は、前記クラッチ軸部材の一部を、前記ギアボックス部の外に露出するように設けられ、前記操作部材は、前記操作部材の一部を、前記ギアボックス部の外に露出するように設けられる、とよい。
(【0011】以降は省略されています)
この特許をJ-PlatPat(特許庁公式サイト)で参照する
関連特許
大肯精密株式会社
自動送り穿孔機
6か月前
個人
タップ
5か月前
個人
フライス盤
1か月前
個人
加工機
5か月前
麗豊実業股フン有限公司
ラクトバチルス・パラカセイNB23菌株及びそれを筋肉量の増加や抗メタボリック症候群に用いる用途
5か月前
日東精工株式会社
ねじ締め機
2か月前
株式会社不二越
ドリル
6か月前
株式会社不二越
ドリル
5か月前
日東精工株式会社
ねじ締め機
1か月前
日東精工株式会社
ねじ締め機
24日前
株式会社北川鉄工所
回転装置
4か月前
日東精工株式会社
ねじ締め機
6か月前
日東精工株式会社
ねじ締め機
5か月前
株式会社ダイヘン
溶接電源装置
2か月前
日東精工株式会社
ねじ締め装置
4か月前
株式会社ダイヘン
溶接電源装置
3か月前
株式会社ダイヘン
溶接電源装置
3か月前
日東精工株式会社
ねじ締め装置
1か月前
個人
切削油供給装置
2か月前
株式会社FUJI
工作機械
3か月前
株式会社FUJI
工作機械
6か月前
株式会社FUJI
工作機械
4か月前
株式会社FUJI
工作機械
1か月前
日東精工株式会社
多軸ねじ締め機
6か月前
株式会社FUJI
工作機械
23日前
株式会社富田製作所
支持構造
3日前
エフ・ピー・ツール株式会社
リーマ
6か月前
日進工具株式会社
エンドミル
6か月前
個人
型枠製造装置のフレーム
1か月前
株式会社ダイヘン
多層盛り溶接方法
6か月前
中国電力株式会社
養生シート
17日前
株式会社アンド
半田付け方法
5か月前
株式会社アンド
半田付け方法
1か月前
キヤノン電子株式会社
加工システム
2か月前
株式会社アンド
半田付け方法
5か月前
ブラザー工業株式会社
工作機械
6か月前
続きを見る
他の特許を見る