TOP
|
特許
|
意匠
|
商標
特許ウォッチ
Twitter
他の特許を見る
公開番号
2025060384
公報種別
公開特許公報(A)
公開日
2025-04-10
出願番号
2024067796
出願日
2024-04-18
発明の名称
モータ制御装置
出願人
株式会社ミツバ
代理人
個人
,
個人
,
個人
主分類
H02M
7/48 20070101AFI20250403BHJP(電力の発電,変換,配電)
要約
【課題】基板に対するバスバーの絶縁距離を確保しつつ、小型化を図りやすいモータ制御装置を提供する。
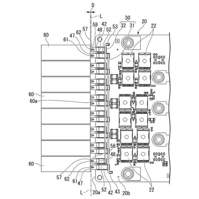
【解決手段】本発明に係るモータ制御装置は、スイッチング素子22が表面実装されたプリント基板20と、プリント基板20に表面実装されてスイッチング素子22に接続されるバスバー31,32と、バスバー31,32を介してスイッチング素子22に電気的に接続される電解コンデンサ60と、を備える。バスバー31,32は、プリント基板20に接続される本体部41,51と、本体部41,51に連結されるとともに電解コンデンサ60に接続されるバスバー端子42,52と、を有する。バスバー端子42,52は、プリント基板20の表面20bから立ち上がる立上部と、立上部の先端から電解コンデンサ60に向かって屈曲延出され、電解コンデンサ60に接続されるコンデンサ接続部47,57と、を有する。
【選択図】図3
特許請求の範囲
【請求項1】
発熱素子が表面実装された基板と、
前記基板に表面実装されて前記発熱素子に接続されるバスバーと、
前記基板の延在方向に沿って前記基板と並んで配置され、前記バスバーを介して前記発熱素子に電気的に接続されるコンデンサと、
を備え、
前記バスバーは、
前記基板に接続される本体部と、
前記本体部に連結されるとともに前記コンデンサに接続されるバスバー端子と、
を有し、
前記バスバー端子は、
前記基板の表面から立ち上がる立上部と、
前記立上部の前記基板とは反対側の端部から前記コンデンサに向かって屈曲延出され、前記コンデンサに接続される接続部と、
を有する、
ことを特徴とするモータ制御装置。
続きを表示(約 750 文字)
【請求項2】
複数の前記コンデンサを有し、
各前記コンデンサは、それぞれ前記接続部に接続されるリード端子を有し、各前記リード端子が一方向に並ぶように配置されており、
前記バスバーは、複数の前記コンデンサに接続される複数の前記バスバー端子を有し、
各前記接続部は、前記リード端子の並び方向と同一方向に並んで配置されている、
ことを特徴とする請求項1に記載のモータ制御装置。
【請求項3】
前記バスバーは、1つの前記コンデンサに対してそれぞれ1つずつ接続される第1バスバー及び第2バスバーを含み、
前記本体部は、前記第1バスバーに設けられた第1本体部と、前記第2バスバーに設けられた第2本体部と、を含み、
前記第1本体部及び前記第2本体部は、前記発熱素子と前記コンデンサとの間で、前記発熱素子と前記コンデンサとの並び方向で対向配置されている、
ことを特徴とする請求項1又は請求項2に記載のモータ制御装置。
【請求項4】
前記本体部は、前記本体部における前記基板とは反対側の端部から延出された舌片部を有する、
ことを特徴とする請求項1に記載のモータ制御装置。
【請求項5】
前記舌片部は、前記基板と平行な方向に延びている、
ことを特徴とする請求項4に記載のモータ制御装置。
【請求項6】
前記本体部は、前記本体部の側面から突出されるとともに前記基板に当接される脚部を有する、
ことを特徴とする請求項1に記載のモータ制御装置。
【請求項7】
前記脚部は、前記基板に接続されている、
ことを特徴とする請求項6に記載のモータ制御装置。
発明の詳細な説明
【技術分野】
【0001】
本発明は、モータ制御装置に関するものである。
続きを表示(約 1,800 文字)
【背景技術】
【0002】
従来から、バッテリから供給される直流電力を交流電力に変換し、変換した交流電力で交流モータ(以下、モータということもある)を駆動させるモータ制御装置が知られている。モータ制御装置は、スイッチング素子が表面実装された基板(スイッチングモジュール)を備える。基板には、スイッチング素子の他にモータへの通電電流の平滑化のための電解コンデンサ(以下、コンデンサということもある)が表面実装(SMT:Surface Mount Technology)されている。ここで、通電経路(通電距離)のインダクタンスが大きい場合、コンデンサに流れるリップル電流が大きくなり、コンデンサに熱損傷が発生するおそれがある。
【0003】
この対策として、例えば、リップル電流を吸収可能なコンデンサの選定や、コンデンサの個数を増やす方法が知られている。しかしながら、モータ制御装置の小型化や低コスト化の観点からインダクタンスを低減させる対策を実施することが好ましい。インダクタンスを低減させるためには、通電経路を短くすることや、入出力間を広い面積で対向して並行させることが効果的である。
【0004】
入出力間を広い面積で対向して並行させるモータ制御装置として、例えば、発熱素子であるスイッチング素子とコンデンサとがバスバーで接続されたものが知られている。バスバーは、スイッチング素子に接続された第1端子と、コンデンサに接続された第2端子と、第1端子と第2端子とを連結する連結部と、が一体成形されている。第1端子はコンデンサに向けて折り曲げられている。
バスバーは、正極用と負極用とがあり、正極用の連結部と負極用の連結部とが対向配置されている。バスバーは、第1端子のコンデンサ側の端部が基板から立ち上がるようにL字に屈曲形成されている。この屈曲されたバスバーの先端に、第2端子が形成されている。これにより、基板とバスバーのコンデンサとの接続箇所(第2端子)との絶縁距離を確保している(例えば、特許文献1参照)。
【先行技術文献】
【特許文献】
【0005】
特開2003-319665号公報
【発明の概要】
【発明が解決しようとする課題】
【0006】
しかしながら上述のモータ制御装置におけるバスバーは、単に基板から立ち上がるようにL字に屈曲形成されているので、コンデンサのレイアウトの自由度が低い。このため、モータ制御装置が大型化しやすいという課題があった。
【0007】
そこで、本発明は、基板に対するバスバーの絶縁距離を確保しつつ、小型化を図りやすいモータ制御装置を提供する。
【課題を解決するための手段】
【0008】
上記の課題を解決するために、本発明の第1態様では、モータ制御装置は、発熱素子が表面実装された基板と、前記基板に表面実装されて前記発熱素子に接続されるバスバーと、前記基板の延在方向に沿って前記基板と並んで配置され、前記バスバーを介して前記発熱素子に電気的に接続されるコンデンサと、を備え、前記バスバーは、前記基板に接続される本体部と、前記本体部に連結されるとともに前記コンデンサに接続されるバスバー端子と、を有し、前記バスバー端子は、前記基板の表面から立ち上がる立上部と、前記立上部の前記基板とは反対側の端部から前記コンデンサに向かって屈曲延出され、前記コンデンサに接続される接続部と、を有する。
【0009】
このように、バスバー端子を立上部と接続部とにより構成することで、基板の法線方向でのコンデンサのレイアウトの自由度を高めることができる。このため、基板とバスバーの接続部との絶縁距離を確保しつつ、モータ制御装置の小型化を図りやすくできる。
【0010】
本発明の第2態様は、第1態様のモータ制御装置において、複数の前記コンデンサを有し、各前記コンデンサは、それぞれ前記接続部に接続されるリード端子を有し、各前記リード端子が一方向に並ぶように配置されており、前記バスバーは、複数の前記コンデンサに接続される複数の前記バスバー端子を有し、各前記接続部は、前記リード端子の並び方向と同一方向に並んで配置されている。
(【0011】以降は省略されています)
この特許をJ-PlatPat(特許庁公式サイト)で参照する
関連特許
株式会社ミツバ
ウォーム
3日前
株式会社ミツバ
回転電機
1か月前
株式会社ミツバ
回転電機
1か月前
株式会社ミツバ
モータ装置
1か月前
株式会社ミツバ
モータ装置
1か月前
株式会社ミツバ
ワイパ装置
1か月前
株式会社ミツバ
ワイパ装置
1か月前
株式会社ミツバ
モータ制御装置
1か月前
株式会社ミツバ
モータ制御装置
1か月前
株式会社ミツバ
ブラシレスモータ
1か月前
株式会社ミツバ
モータ及びファン装置
1か月前
株式会社ミツバ
モータシステム及び電動車両
1か月前
株式会社ミツバ
モータ装置およびロータの製造方法
1か月前
株式会社ミツバ
モータ装置、ワイパー装置、及びモータ制御方法
1か月前
株式会社ミツバ
モータ装置、ワイパー装置、及びモータ制御方法
1か月前
個人
電気を重力で発電装置
17日前
個人
高圧電気機器の開閉器
4日前
キヤノン電子株式会社
モータ
24日前
キヤノン電子株式会社
モータ
16日前
コーセル株式会社
電源装置
25日前
日星電気株式会社
ケーブル組立体
1か月前
株式会社アイドゥス企画
減反モータ
4日前
トヨタ自動車株式会社
モータ
16日前
株式会社デンソー
回転機
1か月前
個人
二次電池繰返パルス放電器用印刷基板
1か月前
株式会社ミツバ
回転電機
1か月前
株式会社デンソー
電力変換装置
1か月前
株式会社デンソー
電力変換装置
1か月前
株式会社ダイヘン
インバータ装置
1か月前
株式会社デンソー
非接触受電装置
1か月前
トヨタ自動車株式会社
固定子の加熱装置
27日前
矢崎総業株式会社
電源回路
3日前
トヨタ自動車株式会社
ステータの製造装置
17日前
個人
非対称鏡像力を有する4層PWB電荷搬送体
11日前
ローム株式会社
モータドライバ回路
11日前
日産自動車株式会社
ロータシャフト
11日前
続きを見る
他の特許を見る