TOP
|
特許
|
意匠
|
商標
特許ウォッチ
Twitter
他の特許を見る
公開番号
2025043385
公報種別
公開特許公報(A)
公開日
2025-03-31
出願番号
2024154464
出願日
2024-09-09
発明の名称
無線アクセス・ネットワーク調整
出願人
富士通株式会社
代理人
弁理士法人ITOH
主分類
H04W
24/02 20090101AFI20250324BHJP(電気通信技術)
要約
【課題】無線アクセス・ネットワーク調整を提供する。
【解決手段】方法は、準リアルタイム無線アクセス・ネットワーク・インテリジェント・コントローラが無線アクセス・ネットワークの分散ユニットから無線アクセス・ネットワークのネットワーク・パラメータの現在の値を受信することを含んでいてもよく、前記無線アクセス・ネットワークは少なくとも1つの無線アクセス・ネットワーク・デバイスを使って確立されたものである。方法は、準リアルタイム無線アクセス・ネットワーク・インテリジェント・コントローラが、ネットワーク・パラメータの現在の値のうちの一つまたは複数に対する調整を取得することを含んでいてもよい。方法はまた、無線アクセス・ネットワークにおける準リアルタイムでの実装のために、前記調整を分散ユニットに差し向けることを含んでいてもよい。
【選択図】図2A
特許請求の範囲
【請求項1】
準リアルタイム無線アクセス・ネットワーク・インテリジェント・コントローラにおいて、無線アクセス・ネットワークの分散ユニットから前記無線アクセス・ネットワークの複数のネットワーク・パラメータの現在の値を受信する段階であって、前記無線アクセス・ネットワークは少なくとも1つの無線アクセス・ネットワーク・デバイスを使って確立されたものである、段階と;
前記準リアルタイム無線アクセス・ネットワーク・インテリジェント・コントローラにおいて、前記複数のネットワーク・パラメータの前記現在の値のうちの一つまたは複数に対する調整を取得する段階と;
前記無線アクセス・ネットワークにおける準リアルタイムでの実装のために、前記調整を前記分散ユニットに差し向ける段階とを含む、
方法。
続きを表示(約 1,800 文字)
【請求項2】
前記複数のネットワーク・パラメータの前記現在の値のうちの前記一つまたは複数に対する前記調整が、データ、時間、周波数、エリア、エネルギー、コンピューティング性能能力、およびコストのうちの一つまたは複数を含むワイヤレス・ネットワーク性能の指標に基づく、請求項1に記載の方法。
【請求項3】
ワイヤレス・ネットワーク性能の前記指標が、bit/s/Hz/m
2
/J/FLOPS/$の単位で表され、
bitは、前記無線アクセス・ネットワークによって送信される前記データの単位の、バイナリ・ディジットでの指標であり、
sは、前記無線アクセス・ネットワークが前記データを送信するのに要する時間の、秒での指標であり、
Hzは、前記無線アクセス・ネットワークによって前記データを送信するために使用される周波数の、ヘルツでの指標であり、
m
2
は、前記無線アクセス・ネットワークによってサービスされるエリアの、平方メートルでの指標であり、
Jは、前記データを送信するために前記無線アクセス・ネットワークによって消費されるエネルギーの、ジュールでの指標であり、
FLOPSは、ベースバンド処理を実行するため前記無線アクセス・ネットワークのコンピューティング性能能力の、1秒当たりの浮動小数点演算数での指標であり、
$は、前記無線アクセス・ネットワークを使用すること、および前記無線アクセス・ネットワークを提供することのうちの一つまたは複数のコストの、ある通貨での指標である、
請求項2に記載の方法。
【請求項4】
前記複数のネットワーク・パラメータは、上りリンク電力制御、上りリンク・スケジューリング、上りリンク資源割り当て、上りリンク干渉緩和、上りリンク体験品質、上りリンク性能スペクトル効率、エネルギー消費、および処理効率のうちの少なくとも一つまたは複数を含む、請求項1に記載の方法。
【請求項5】
前記現在の値を受信した後、前記複数のネットワーク・パラメータの前記現在の値を、前記準リアルタイム無線アクセス・ネットワーク・インテリジェント・コントローラからクラウド・ベースのコンピューティング・システムに送信する段階をさらに含む、
請求項1に記載の方法。
【請求項6】
前記クラウド・ベースのコンピューティング・システムは、量子アニーリングおよびシミュレーテッド・アニーリングのうちの一つまたは複数を使用して前記調整を生成するように構成される、請求項5に記載の方法。
【請求項7】
前記複数のネットワーク・パラメータの前記現在の値は、非リアルタイム無線アクセス・ネットワーク・インテリジェント・コントローラから取得された一つまたは複数の値を含む、請求項1に記載の方法。
【請求項8】
無線アクセス・ネットワークの分散ユニットから前記無線アクセス・ネットワークの複数のネットワーク・パラメータの現在の値を受信する段階であって、前記無線アクセス・ネットワークは少なくとも1つの無線アクセス・ネットワーク・デバイスによって確立されたものである、段階と;
前記複数のネットワーク・パラメータの前記現在の値のうちの一つまたは複数に対する調整を取得する段階と;
前記無線アクセス・ネットワークにおける準リアルタイムでの実装のために、前記調整を前記分散ユニットに差し向ける段階と
を実行するように構成された準リアルタイム無線アクセス・ネットワーク・インテリジェント・コントローラを有する、
システム。
【請求項9】
前記複数のネットワーク・パラメータは、上りリンク電力制御、上りリンク・スケジューリング、上りリンク資源割り当て、上りリンク干渉緩和、上りリンク体験品質、上りリンク性能スペクトル効率、エネルギー消費、および処理効率のうちの少なくとも一つまたは複数を含む、請求項8に記載のシステム。
【請求項10】
前記準リアルタイム無線アクセス・ネットワーク・インテリジェント・コントローラが、前記無線アクセス・ネットワークのアプリケーション層で動作するように構成されている、請求項8に記載のシステム。
(【請求項11】以降は省略されています)
発明の詳細な説明
【技術分野】
【0001】
本開示は、概括的には、無線アクセス・ネットワーク調整に関する。
続きを表示(約 1,200 文字)
【背景技術】
【0002】
無線アクセス・ネットワーク(radio access network、RAN)は、安全で、信頼性があり、より良好な性能のワイヤレス通信を提供するのを助けるために採用されうる。たとえば、RANは、ユーザー機器デバイスとコア・ネットワークとの間のデータの伝送を容易にしうる。代替的または追加的に、RANは、ワイヤレス通信を提供するのを助けるために、複数の異なる状況において展開されうる。たとえば、RANは、電波を通じて携帯電話をモバイル・ネットワークに接続することができる。別の例として、RANは、ウェブ・ベースのアプリケーションにアクセスするための接続を提供しうる。
【0003】
本開示において請求される主題は、何らかの欠点を解決する実施形態、または、上述したような環境においてのみ動作する実施形態に限定されない。むしろ、この背景技術は、本開示に記載されるいくつかの実施形態が実施されうる例示的な技術領域を示すためにのみ提供される。
【発明の概要】
【課題を解決するための手段】
【0004】
ある実施形態のある側面によれば、方法は、準リアルタイム無線アクセス・ネットワーク・インテリジェント・コントローラ(near-real-time radio access network intelligent controller、準RT RIC)が無線アクセスネットワーク(RAN)の分散型(DU)から前記RANのネットワーク・パラメータの現在の値を受信することを含みうる。準RT RICは、RANのネットワーク・パラメータの現在の値のうちの一つまたは複数に対する調整を取得しうる。準RT RICは、RANにおける準リアルタイムでの実装のために、RANのDUに前記調整を指令しうる。
【0005】
実施形態の目的および利点は、少なくとも、特許請求の範囲において具体的に指摘される要素、特徴、および組み合わせによって実現され、達成される。上記の概括的な説明および以下の詳細な説明はいずれも、説明するものであって、特許請求される本発明を制約するものではないことが理解される。
【図面の簡単な説明】
【0006】
例示的実施形態が、添付の図面の使用を通じて、さらなる具体性および詳細さをもって記載され、説明される。
【0007】
無線アクセスネットワーク(RAN)の調整のための例示的な環境を示す図である。
【0008】
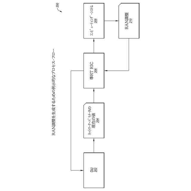
RAN調整を生成するための例示的なプロセス・フローを示す。
【0009】
RAN調整を生成するための所望されるネットワーク性能の例示的な多次元計算を示す。
【0010】
RANを調整する例示的な方法のフローチャートを示す。
(【0011】以降は省略されています)
特許ウォッチbot のツイートを見る
この特許をJ-PlatPat(特許庁公式サイト)で参照する
関連特許
富士通株式会社
半導体装置
1か月前
富士通株式会社
行列演算回路
2か月前
富士通株式会社
半導体デバイス
1か月前
富士通株式会社
画像処理モデル
1か月前
富士通株式会社
メッシュ微細化
1か月前
富士通株式会社
ダウンサンプリング
3日前
富士通株式会社
演算器及び演算方法
1か月前
富士通株式会社
冷却装置及び電子機器
2か月前
富士通株式会社
ポイントクラウド分類
1か月前
富士通株式会社
アレイアンテナモジュール
1か月前
富士通株式会社
OLT及びPONシステム
23日前
富士通株式会社
電子機器筐体及び電子機器
1か月前
富士通株式会社
光受信装置及び光受信方法
3日前
富士通株式会社
光送信器及び光トランシーバ
1か月前
富士通株式会社
基板及びこれを備えた電子装置
1か月前
富士通株式会社
プログラム及びデータ処理装置
17日前
富士通株式会社
情報処理装置及び情報処理方法
9日前
富士通株式会社
演算処理装置及び情報処理装置
1か月前
富士通株式会社
通信制御装置及び移動中継装置
1か月前
富士通株式会社
テキスト案内される画像エディタ
1か月前
富士通株式会社
情報処理装置および情報処理方法
3日前
富士通株式会社
波長変換装置および波長変換方法
1か月前
富士通株式会社
メモリ管理装置及びメモリ管理方法
1か月前
富士通株式会社
ラックマウント装置及びラック装置
1か月前
富士通株式会社
書き込みアシスト回路及びSRAM
1日前
富士通株式会社
不正検知プログラム、方法、及び装置
9日前
富士通株式会社
通知プログラム、通知方法および通知装置
22日前
富士通株式会社
受光デバイス及び受光デバイスの製造方法
22日前
富士通株式会社
コンパイルプログラムおよびコンパイル方法
17日前
富士通株式会社
管理装置、管理方法、および管理プログラム
1か月前
富士通株式会社
生成プログラム、生成方法および情報処理装置
1か月前
富士通株式会社
検出プログラム、検出方法および情報処理装置
1か月前
富士通株式会社
プログラム、情報処理方法および情報処理装置
1か月前
富士通株式会社
出張情報受付方法および出張情報受付プログラム
1か月前
富士通株式会社
探索プログラム、探索方法、および情報処理装置
1か月前
富士通株式会社
キャッシュ装置およびキャッシュ装置の制御方法
1か月前
続きを見る
他の特許を見る