TOP
|
特許
|
意匠
|
商標
特許ウォッチ
Twitter
他の特許を見る
公開番号
2025043165
公報種別
公開特許公報(A)
公開日
2025-03-28
出願番号
2023150512
出願日
2023-09-15
発明の名称
セキュリティゲート
出願人
東芝テック株式会社
代理人
個人
,
個人
主分類
G07B
15/00 20110101AFI20250321BHJP(チェック装置)
要約
【課題】 カートに接触しても転倒しにくいセキュリティゲートを提供する。
【解決手段】
本実施形態のセキュリティゲートは操作パネルと、ポールと、衝撃緩和部材と、を備える。操作パネルは、メッセージを表示する。ポールは、前記操作パネルと端部で接続する。衝撃緩和部材は、前記ポールの前記操作パネルが接続された端部とは異なる方向に位置する端部と接続する天面と、前記ポールに対して水平方向に突出する側面と底面を有する。
【選択図】 図3
特許請求の範囲
【請求項1】
操作パネルと、
前記操作パネルと端部で接続するポールと、
前記ポールの操作パネルが接続された端部とは異なる端部と接続する天面と、前記ポールに対して水平方向に突出する側面と底面を有する衝撃緩和部材と、
を備えるセキュリティゲート。
続きを表示(約 120 文字)
【請求項2】
前記衝撃緩和部材の底面が設置面と接触する位置で前記ポールと接続している請求項1記載のセキュリティゲート。
【請求項3】
前記衝撃緩和部材の側面に弾性体を備える請求項1記載のセキュリティゲート。
発明の詳細な説明
【技術分野】
【0001】
本発明の実施形態は、セキュリティゲートに関する。
続きを表示(約 1,800 文字)
【背景技術】
【0002】
従来、カートPOS(Point of Sale)やスマホPOSを導入している店舗には不正防止のため決済済みの客だけを通すセキュリティゲートが店舗の出口などに設置されている。このようなセキュリティゲートにおいてスキャナや操作パネルなどの機器がセキュリティゲートの上部に取り付けられている。しかしながら、このような機器が取り付けられたセキュリティゲートは重心が上部側に寄ってしまい、カートのかご部分や車輪などに接触すると転倒しやすく転倒時の衝撃で変形や破損又は客への怪我につながる虞がある。
【先行技術文献】
【特許文献】
【0003】
特開2023-1624号公報
【発明の概要】
【発明が解決しようとする課題】
【0004】
本発明が解決しようとする課題はカートに接触しても転倒しにくいセキュリティゲートを提供することにある。
【課題を解決するための手段】
【0005】
上記課題を達成するために本実施形態のセキュリティゲートは操作パネルと、操作パネルと端部で接続するポールと、ポールの操作パネルが接続された端部とは異なる端部と接続する天面と、ポールに対して水平方向に突出する側面と底面を有する衝撃緩和部材とを備える。
【図面の簡単な説明】
【0006】
第1の実施形態に係るセキュリティゲートの一例に係る図
第1の実施形態に係るセキュリティゲートの一例に係る俯瞰図
第1の実施形態に係るセキュリティゲートとカートが接触したときの一例を示す図
第1の実施形態の変形例に係るセキュリティゲートの一例に係る図
【発明を実施するための形態】
【0007】
(第1の実施形態)
以下、本実施形態について、図面を参照にしながら説明する。
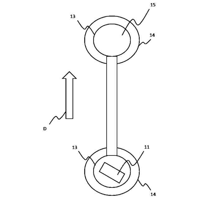
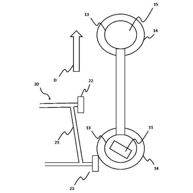
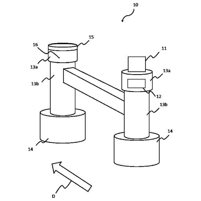
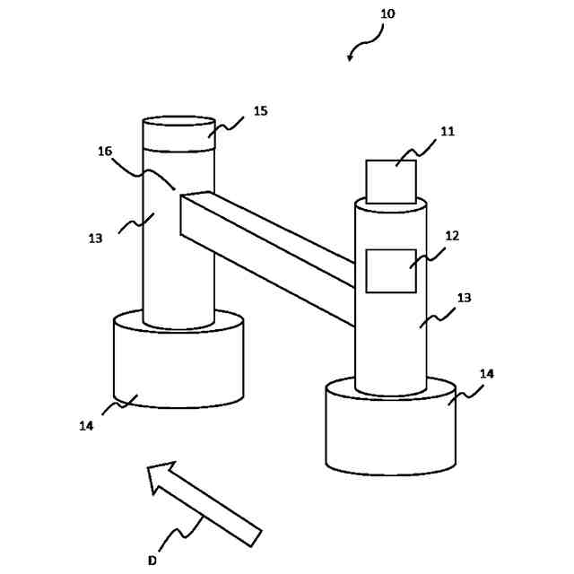
図1は、第1の実施形態に係るセキュリティゲート10の一例に係る図である。セキュリティゲート10は操作パネル11、スキャナ12、ポール13、衝撃緩和部材14、警告ランプ15、人感センサ16で構成され、操作パネル11、スキャナ12、警告ランプ15はバスで接続されている。また、セキュリティゲート10は不図示の取引履歴を管理するサーバと有線または無線LAN(Local area network)で接続されている。客又はカート20は進行方向Dに向けて進行することでセキュリティゲート10を通過する。なお、本実施形態ではセキュリティゲート10は、図1のような2本の棒状の部材が聞知して屹立する形状に限らず、一体成型されていても良い。
【0008】
また、ポール13のセキュリティゲート10の設置面方向に位置する端部とは異なる端部である天面又は天面近傍に操作パネル11、スキャナ12、警告ランプ15や人感センサ16を備えている。そのため、操作パネル11、スキャナ12や警告ランプ15、人感センサ16と接続または内蔵したポール13は天面付近が重くなり、ポール13の天面付近に重心が偏る。そのためポール13にカート20などが接触すると重心がぶれて容易に転倒する。
【0009】
操作パネル11はセキュリティゲート10に関する操作又は指示を表示する。操作パネル11は例えば、ディスプレイと接触センサによって構成され、操作者が接触した座標情報に応じた処理を実行する。操作パネル11はディスプレイに客に対する指示などを表示する。操作パネル11が表示する指示として例えば、客にゲートの通過を許可する「お通りください」や、客が不正にゲートを通過することを防ぐための「お戻りください」などである。また、操作パネル11は警告ランプ15の発光に関する設定の他、ディスプレイに表示する指示の設定に関する操作などを受け付ける。
【0010】
スキャナ12は客が行った取引情報を読み取る。スキャナ12は客がかざした取引情報と関連付けられた一次元コード又は2次元コード等のコード情報を読み取り、客が正常な取引を行ったかをサーバに問い合わせる。なお、本実施形態ではスキャナは操作パネル11に内蔵された機器であっても良い。
(【0011】以降は省略されています)
この特許をJ-PlatPat(特許庁公式サイト)で参照する
関連特許
個人
自動販売機
4日前
株式会社イシダ
商品処理装置
2か月前
株式会社タムラ製作所
自動販売機
19日前
沖電気工業株式会社
紙幣処理装置
3か月前
沖電気工業株式会社
媒体処理装置
2か月前
沖電気工業株式会社
施錠開閉装置
1か月前
沖電気工業株式会社
媒体処理装置
3か月前
アサヒ飲料株式会社
遠隔決済方法
24日前
富士電機株式会社
自動販売機
3か月前
株式会社ライト
情報処理装置
3か月前
株式会社ライト
情報処理装置
3か月前
株式会社デンソー
車載器
1か月前
グローリー株式会社
物品投出装置
2か月前
グローリー株式会社
貨幣処理装置
24日前
日本金銭機械株式会社
硬貨処理装置
2か月前
日本金銭機械株式会社
硬貨処理装置
2か月前
アサヒ飲料株式会社
自動販売機の決済方法
24日前
株式会社トイスピリッツ
景品提供システム
3か月前
株式会社寺岡精工
商品登録システム
1か月前
株式会社知財事業研究所
特殊駐車場システム
13日前
ユニティガードシステム株式会社
入館監視システム
3か月前
株式会社寺岡精工
販売データ処理装置
1か月前
沖電気工業株式会社
現金処理装置
3か月前
沖電気工業株式会社
棒金収納装置
3か月前
沖電気工業株式会社
棒金収納装置
2か月前
旭精工株式会社
紙葉類処理装置および紙葉類処理方法
2か月前
沖電気工業株式会社
現金処理装置及び印字装置
2か月前
沖電気工業株式会社
媒体処理装置
2か月前
独立行政法人 国立印刷局
画像観察装置及び画像観察方法
3か月前
株式会社バンダイ
物品供給装置、及び物品供給装置セット
1か月前
株式会社東芝
ドア構造
3か月前
沖電気工業株式会社
媒体識別装置及び媒体処理装置
3か月前
株式会社タムラ製作所
選択装置及びこれを備えた自動販売機
19日前
グローリー株式会社
取引システム及び取引方法
1か月前
沖電気工業株式会社
紙葉類取扱装置及び現金処理装置
1か月前
三菱電機株式会社
人流情報取得システム
1か月前
続きを見る
他の特許を見る