TOP
|
特許
|
意匠
|
商標
特許ウォッチ
Twitter
他の特許を見る
10個以上の画像は省略されています。
公開番号
2025042628
公報種別
公開特許公報(A)
公開日
2025-03-27
出願番号
2024159637
出願日
2024-09-13
発明の名称
結晶、積層構造体、半導体装置、電子機器及びシステム
出願人
Patentix株式会社
,
学校法人立命館
代理人
主分類
C30B
29/16 20060101AFI20250319BHJP(結晶成長)
要約
【課題】本発明は、半導体装置等に有用な優れた結晶性を有する結晶膜及び積層構造体を提供することを目的とする。
【解決手段】GeO
2
を主成分として含む結晶膜であって、(111)配向しており、前記GeO
2
が正方晶又は斜方晶の結晶構造を1種又は2種有しており、また、前記結晶膜が100μm
2
以上の面積を有しており、表面粗さが10nm以下であり、単結晶膜である結晶膜を用いて、例えば、半導体装置などに適用する。
【選択図】図1
特許請求の範囲
【請求項1】
GeO
2
を主成分として含む結晶膜であって、(111)配向していることを特徴とする結晶膜。
続きを表示(約 470 文字)
【請求項2】
正方晶又は斜方晶の結晶構造を有している請求項1記載の結晶膜。
【請求項3】
正方晶の結晶構造を有している請求項1記載の結晶膜。
【請求項4】
斜方晶の結晶構造を有している請求項1記載の結晶膜。
【請求項5】
100μm
2
以上の面積を有する請求項1記載の結晶膜。
【請求項6】
膜厚が1μm以上である請求項1記載の結晶膜。
【請求項7】
表面粗さが10nm以下である前記1記載の結晶膜。
【請求項8】
単結晶膜である請求項1記載の結晶膜。
【請求項9】
結晶基板上に直接又は他の層を介してGeO
2
を主成分として含む結晶膜が積層されている積層構造体であって、前記結晶基板及び前記結晶膜が(111)配向していることを特徴とする積層構造体。
【請求項10】
前記結晶基板及び/又は結晶膜が半導体である請求項7記載の積層構造体。
(【請求項11】以降は省略されています)
発明の詳細な説明
【技術分野】
【0001】
本発明は、半導体装置に有用な結晶及び積層構造体に関する。
続きを表示(約 3,700 文字)
【背景技術】
【0002】
従来、Ga
2
O
3
は、将来のパワーエレクトロニクス・デバイスに有望な超ワイドバンドギャップ(UWBG)半導体として注目されている。
【0003】
しかしながら、Ga2O3は、P型半導体が作製困難であるという課題があり、また、安価にすることが容易ではなく、普及するにはまだまだ課題が数多くあった。
近年においては、新規なUWBG半導体(バンドギャップが4.44-4.68eV)としてルチル型二酸化ゲルマニウム(r-GeO
2
)が研究されており、ルチル型二酸化ゲルマニウムは、n型及びp型半導体が実現可能であり、安価に作製することも実現可能であるため、Ga2O3に代わるUWBG半導体として期待されており、例えば、r-TiO
2
(001)基板上にr-GeO
2
結晶膜を積層した積層構造体が検討されている(非特許文献1、特許文献1)。しかしながら、非特許文献1は、非特許文献1の査読後に非特許文献2がErratumとして提出されており(非特許文献2)、非特許文献1及び特許文献1に記載の結晶粒(異常粒)が、ルチル型二酸化ゲルマニウム結晶であることが判明し、他の部分はアモルファス相であった。すなわち、アモルファス相が大部分に形成されるだけで、また結晶相ができても、結晶粒が一部に形成されるにすぎなかった。また、r-TiO
2
(001)基板の価格が高いなどといった問題があり、まだまだ満足のいくものではなかった。また、r-TiO
2
(001)基板は放熱性が悪いといった問題があった。そのため、結晶性に優れた結晶を製造でき、また、放熱性に優れた基板で結晶を製造することができるような方策が待ち望まれていた。
【先行技術文献】
【非特許文献】
【0004】
Takane, K. Kaneko, “Establishment of a growth route of crystallized rutile GeO2 thin film (≧ 1 mm/h) and its structural properties” Applied Physics Letters Vol.119, pp.062104(1-6) (2021).
Takane, K. Kaneko, Erratum: “Establishment of a growth route of crystallized rutile GeO2 thin film (≧1 μm/h) and its structural properties” Applied Physics Letters Vol.120, 099903(1-3) (2022).
【特許文献】
【0005】
国際公開第2023/008454号
【発明の概要】
【発明が解決しようとする課題】
【0006】
本発明は、半導体装置等に有用な優れた結晶性を有する結晶膜及び積層構造体を提供することを目的とする。
【課題を解決するための手段】
【0007】
本発明者らは、上記目的を達成すべく鋭意検討した結果、ガイド隔壁を用いたミストCVD装置を新たに開発し、前記ガイド隔壁を用いたミストCVD装置を使用して、GeO
2
を主成分として含む結晶膜であって、(111)配向していることを特徴とする結晶膜の創製に成功し、得られた結晶が、低コストで容易に製造でき、優れた結晶性等を持ち、半導体装置等に有用であることを知見し、このような結晶膜が、上記した従来の問題を一挙に解決できるものであることを見出した。
また、本発明者らは、上記知見を得た後、さらに検討を重ねて、本発明を完成させるに至った。
【0008】
すなわち、本発明は、以下の発明に関する。
[1] GeO
2
を主成分として含む結晶膜であって、(111)配向していることを特徴とする結晶膜。
[2] 正方晶又は斜方晶の結晶構造を有している前記[1]記載の結晶膜。
[3] 正方晶の結晶構造を有している前記[1]記載の結晶膜。
[4] 斜方晶の結晶構造を有している前記[1]記載の結晶膜。
[5] 100μm
2
以上の面積を有する前記[1]記載の結晶膜。
[6] 膜厚が1μm以上である前記[1]記載の結晶膜。
[7] 表面粗さが10nm以下である前記[1]記載の結晶膜。
[8] 単結晶膜である前記[1]記載の結晶膜。
[9] 結晶基板上に直接又は他の層を介してGeO
2
を主成分として含む結晶膜が積層されている積層構造体であって、前記結晶基板及び前記結晶膜が(111)配向していることを特徴とする積層構造体。
[10] 前記結晶基板及び/又は結晶膜が半導体である前記[7]記載の積層構造体。
[11] 前記結晶膜が、100μm
2
以上の面積を有する前記[7]記載の積層構造体。
[12] 前記結晶膜の膜厚が1μm以上である前記[7]記載の積層構造体。
[13] 前記結晶膜の表面粗さが、10nm以下である前記[7]記載の積層構造体。
[14] 前記結晶基板が、ケイ素又はケイ素含有化合物を主成分として含む前記[7]記載の積層構造体。
[15] 前記結晶基板がSi又はSiCである前記[7]記載の積層構造体。
[16] 前記結晶膜が、単結晶膜である前記[7]記載の積層構造体。
[17] 結晶膜又は積層構造体を含む半導体装置であって、前記結晶膜が、前記[1]記載の結晶膜であり、前記積層構造体が前記[7]記載の積層構造体であることを特徴とする半導体装置。
[18] パワーデバイスである前記[17]記載の半導体装置。
[19] ショットキーバリアダイオード(SBD)、ジャンクションバリアショットキーダイオード(JBS)、高電子移動度トランジスタ(HEMT)、金属酸化膜半導体電界効果トランジスタ(MOSFET)、接合電界効果トランジスタ(JFET)、絶縁ゲート型バイポーラトランジスタ(IGBT)または発光ダイオード(LED)である前記[17]記載の半導体装置。
[20] 半導体装置を含む電子機器であって、前記半導体装置が前記[17]記載の半導体装置であることを特徴とする電子機器。
[21] 電子機器を含むシステムであって、前記電子機器が、前記[20]記載の電子機器であることを特徴とするシステム。
【発明の効果】
【0009】
本発明の結晶及び積層構造体は、半導体装置等に有用であり、優れた結晶性を奏する。
【図面の簡単な説明】
【0010】
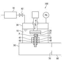
本発明において好適に用いられる製膜装置の概略構成図の一例である。
本発明において好適に用いられる霧化装置を模式的に示す図である。
実施例1におけるXRD回折結果を示す図である。
実施例1におけるAFM像を示す図である。
実施例1におけるSEM像を示す図である。
実施例1におけるEDS像を示す図である。
実施例2におけるXRD回折結果を示す図である。
実施例2におけるSEM像を示す図である。
実施例2におけるSEM像を示す図である。
実施例3におけるXRD回折結果を示す図である。
本発明のショットキーバリアダイオード(SBD)の好適な一例を模式的に示す図である。
本発明の高電子移動度トランジスタ(HEMT)の好適な一例を模式的に示す図である。
本発明の金属酸化膜半導体電界効果トランジスタ(MOSFET)の好適な一例を模式的に示す図である。
本発明の接合電界効果トランジスタ(JFET)の好適な一例を模式的に示す図である。
本発明の絶縁ゲート型バイポーラトランジスタ(IGBT)の好適な一例を模式的に示す図である。
本発明の発光素子(LED)の好適な一例を模式的に示す図である。
本発明のジャンクションバリアショットキーダイオード(JBS)の好適な一例を模式的に示す図である。
本発明において好適に用いられる霧化装置を横から見た断面図を模式的に示す図である。
実施例4におけるXRD回折結果を示す図である。
【発明を実施するための形態】
(【0011】以降は省略されています)
この特許をJ-PlatPat(特許庁公式サイト)で参照する
関連特許
アムジエン・インコーポレーテツド
SLC30A8発現を阻害するためのRNAiコンストラクト及びその使用方法
1か月前
信越半導体株式会社
半導体ウェーハの製造方法
23日前
日本碍子株式会社
AlN単結晶基板及びデバイス
1か月前
住友金属鉱山株式会社
単結晶の育成方法及びその装置
1か月前
サイクリスタル ゲーエムベーハー
バルクSiC結晶の製造方法
1か月前
三菱マテリアル電子化成株式会社
シリコンインゴット
1か月前
信越半導体株式会社
SiGe基板の作製方法及びSiGe基板
15日前
SECカーボン株式会社
単結晶成長用黒鉛坩堝の製造方法
1か月前
三菱マテリアル株式会社
シリコン部材
1か月前
イビデン株式会社
SiC単結晶製造装置及びSiC単結晶の製造方法
1か月前
豊田合成株式会社
種基板およびIII族窒化物半導体の製造方法
23日前
サイクリスタル ゲーエムベーハー
バルクSiC結晶を成長させるシードユニット及び装置
1か月前
株式会社コイケ
ガーネット型固体電解質単結晶の製造方法
28日前
エルピーイー・エッセ・ピ・ア
高品質の立方晶炭化ケイ素を得るための方法およびシステム
28日前
信越半導体株式会社
エピタキシャル基板及びその製造方法並びに縦型デバイス基板の製造方法
22日前
旭化成株式会社
窒化物半導体積層体の製造方法及び窒化物半導体積層体
1か月前
旭化成株式会社
窒化物半導体積層体の製造方法及び窒化物半導体積層体
1か月前
国立大学法人愛媛大学
ダイヤモンド膜形成デバイスおよびダイヤモンド膜の形成方法
12日前
サイクリスタル ゲーエムベーハー
層状基板、層状基板の製造方法および層状基板を備えたエピタキシャル層の成長方法
28日前
サイクリスタル ゲーエムベーハー
層状シード、層状シードの製造方法、および層状シードで体積単結晶を成長させる方法
28日前
モメンティブ・テクノロジーズ・山形株式会社
石英ガラスルツボ及びその製造方法
26日前
株式会社SUMCO
原料供給方法、シリコン単結晶製造方法、原料供給制御装置、および、シリコン単結晶製造システム
22日前
住友電気工業株式会社
炭化珪素基板、炭化珪素エピタキシャル基板、炭化珪素半導体装置の製造方法、および炭化珪素結晶の製造方法
2か月前
住友電気工業株式会社
炭化珪素結晶の製造方法、炭化珪素基板の製造方法、エピタキシャル基板の製造方法および半導体装置の製造方法
20日前
株式会社SUMCO
ドーパント添加方法、シリコン単結晶製造方法、ドーパント添加制御装置、および、シリコン単結晶製造システム
22日前
国立研究開発法人物質・材料研究機構
タンタル酸イットリウム結晶、その製造方法、シンチレータ材料、および、その用途
1か月前
日本新工芯技株式会社
シリコン接合体製造装置、シリコン接合体製造方法、およびシリコン接合体
1か月前
サイクリスタル ゲーエムベーハー
単結晶成長用の多層シード、多層シードの製造方法、単結晶を成長させるPVTプロセスにおける多層シードの使用およびそれを用いたPVTプロセス
28日前
住友電気工業株式会社
炭化珪素基板、炭化珪素基板の製造方法、炭化珪素エピタキシャル基板の製造方法、炭化珪素エピタキシャル基板、炭化珪素半導体装置の製造方法、および炭化珪素半導体装置
1か月前
グローバルウェーハズ カンパニー リミテッド
連続チョクラルスキー法を用いる単結晶シリコンインゴットの成長方法
1か月前
東洋電装株式会社
ハンドルスイッチ装置
1か月前
株式会社SOKEN
試験方法及び試験装置
13日前
ケンビュー・ブランズ・エルエルシー
クレンジングのための流体組成物
1か月前
デュポン スペシャルティ マテリアルズ コリア リミテッド
有機エレクトロルミネセント化合物及びそれを含む有機エレクトロルミネセントデバイス
1か月前
ザ リージェンツ オブ ザ ユニバーシティ オブ カリフォルニア
パターンを発光素子のエピタキシャル層に転写する方法
1か月前
デュポン スペシャルティ マテリアルズ コリア リミテッド
有機エレクトロルミネセント化合物、同化合物を含む有機エレクトロルミネセント材料、及び有機エレクトロルミネセントデバイス
1か月前
続きを見る
他の特許を見る