TOP
|
特許
|
意匠
|
商標
特許ウォッチ
Twitter
他の特許を見る
10個以上の画像は省略されています。
公開番号
2025035098
公報種別
公開特許公報(A)
公開日
2025-03-13
出願番号
2023141904
出願日
2023-09-01
発明の名称
情報処理装置
出願人
株式会社リコー
代理人
弁理士法人酒井国際特許事務所
主分類
G06Q
50/10 20120101AFI20250306BHJP(計算;計数)
要約
【課題】コミュニケーション能力の支援効果が高い情報処理装置、方法及びプログラムを提供する。
【解決手段】情報処理装置1において、情報解析装置2は、ユーザの発言を、相手とのコミュニケーション力に関する項目である承認力、傾聴力、質問力の少なくとも一つにより評価した評価項目を、発言の前後の他のユーザの発言の文字列を含めて、発言の文字列と対応付けて時系列で端末装置の表示部に表示させる表示制御部26を、備える。
【選択図】図3
特許請求の範囲
【請求項1】
ユーザの発言を評価した評価項目を、前記発言の文字列と対応付けて表示部に表示させる表示制御部を、備えた情報処理装置。
続きを表示(約 760 文字)
【請求項2】
前記表示制御部は、前記発言の文字列と前記評価項目を、時系列で表示させることを特徴とした請求項1に記載の情報処理装置。
【請求項3】
前記表示制御部は、前記ユーザの前記発言の前後の他のユーザの発言の文字列を表示させることを特徴とした請求項1に記載の情報処理装置。
【請求項4】
前記ユーザの前記発言を評価する評価部と、
音声情報または動画情報を含む学習モデルを有し、
前記ユーザの前記発言を評価することを特徴とする請求項1に記載の情報処理装置。
【請求項5】
前記評価項目は、表示されない中間評価項目を含むことを
特徴とした請求項1に記載の情報処理装置。
【請求項6】
前記評価項目は、相手とのコミュニケーション力に関する項目である承認力、傾聴力、質問力の少なくとも一つを含むことを特徴とした請求項1に記載の情報処理装置。
【請求項7】
前記評価項目は、前記ユーザの印象に関する項目である表情、音声のトーン、動作の少なくとも一つを含むことを特徴とした請求項1に記載の情報処理装置。
【請求項8】
前記表示制御部は、前記評価項目における評価指標を、前記評価項目と対応付けて表示させることを特徴とした請求項1に記載の情報処理装置。
【請求項9】
前記評価項目と対応付けて前記発言の音声または音声を含む画像を再生する再生部を備えたことを特徴とした請求項1に記載の情報処理装置。
【請求項10】
前記再生部は、前記他のユーザの発言の音声または音声を含む画像を再生することを特徴とした請求項7に記載の情報処理装置。
(【請求項11】以降は省略されています)
発明の詳細な説明
【技術分野】
【0001】
本発明は、コミュニケーションの評価を行う情報処理装置に関する。
続きを表示(約 1,800 文字)
【背景技術】
【0002】
特許文献1では、二者間のコミュニケーションを支援するためのコンピュータシステムにおいて、プロセッサ部は、二者のうちの第1の人物がコミュニケーションにおいて話題としたい少なくとも1つのトピックと、少なくとも1つのトピック下のコミュニケーションにおいて第1の人物が二者のうちの第2の人物に期待する対応とを受信する受信手段と、少なくとも1つのトピックと対応とに基づいて、コミュニケーションにおけるアドバイスを第2の人物に対して提供する提供手段と、を備えるコンピュータシステムが開示されている。
【先行技術文献】
【特許文献】
【0003】
特開2021-163454号公報
【発明の概要】
【発明が解決しようとする課題】
【0004】
コミュニケーション能力の支援効果が高い情報処理装置を提供することを課題とする。
【課題を解決するための手段】
【0005】
本発明にかかる情報処理装置は、ユーザの発言を評価する評価項目を、前記発言の文字列と対応付けて表示部に表示させる表示制御部を、備えることを特徴とする。
【発明の効果】
【0006】
コミュニケーション能力の支援効果が高い情報処理装置を提供することができる。
【図面の簡単な説明】
【0007】
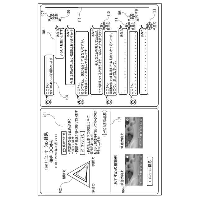
実施形態に係る情報処理装置の全体構成の一例を示す図である。
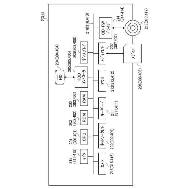
実施形態に係る情報解析装置および端末装置のハードウエア構成の一例を示す図である。
実施形態に係る情報処理装置の機能構成の一例を示す図である。
第1の実施形態の各処理を示すシーケンス図の一例である。
第1の実施形態の各処理を示すシーケンス図の一例である。
実施形態に係る評価結果DBが有するテーブルの一例である。
実施形態に係る評価結果DBが有するテーブルの他の例である。
実施形態に係る表示画面の一例である。
実施形態に係る評価指標とアイコンの一例である。
実施形態に係る表示画面の変形例(文字列のマーキング)である。
第1の実施形態の各処理を示すシーケンス図の一例である。
実施形態に係る模範例DBが有するテーブルの一例である。
実施形態に係る表示画面の変形例(動画再生)である。
実施形態に係る表示画面の変形例(文字列のマーキング)である。
実施形態に係る表示画面の変形例(模範例の再生)である。
実施形態に係る表示画面の変形例(相手の状況把握)である。
第2の実施形態の各処理を示すシーケンス図の一例である。
【発明を実施するための形態】
【0008】
以下、図面を参照しながら、発明を実施するための形態を説明する。なお、図面の説明において同一要素には同一符号を付し、重複する説明は省略する。
【0009】
〔第1の実施形態〕
〔情報解析システムの全体構成〕
図1は、情報処理装置1の全体構成の一例を示す図である。図1に示されているように、情報処理装置1は、情報解析装置2、端末装置3及び端末装置4を含む各装置及び端末を有している。本実施形態では、この構成に限定しない。例えば、情報処理装置1は、情報解析装置2のみで、会話情報を入力して、学習モデルDB2003などを実行してもよい。また、情報解析装置2と端末装置3の2台で実行し、2者間で行われる会話情報の入力を1台で賄うことができる端末装置3を用いてもよい。また、端末装置は2台に限定せずに、複数台の端末装置を通信ネットワークに接続して、実行してもよい。
【0010】
通信ネットワーク100は、不特定多数の通信が行われる通信ネットワークであり、インターネット、イントラネット、LAN(Local Area Network)等によって構築されている。なお、通信ネットワーク100には、有線通信だけでなく、4G(4th Generation)、5G(5th Generation)、WiMAX(Worldwide Interoperability for Microwave Access)、LTE(Long Term Evolution)等の無線通信による通信ネットワークが含まれてもよい。
(【0011】以降は省略されています)
この特許をJ-PlatPat(特許庁公式サイト)で参照する
関連特許
株式会社リコー
液体吐出装置
9日前
株式会社リコー
外観検査装置
17日前
株式会社リコー
定着装置及び画像形成装置
9日前
株式会社リコー
光源装置および画像表示装置
3日前
株式会社リコー
画像形成装置、及び画像形成方法
17日前
株式会社リコー
媒体処理装置及び画像形成システム
2日前
株式会社リコー
媒体処理装置及び画像形成システム
2日前
株式会社リコー
加熱装置、定着装置及び画像形成装置
17日前
株式会社リコー
後処理装置、及び、画像形成システム
10日前
株式会社リコー
外観検査方法、および外観検査システム
9日前
株式会社リコー
画像形成装置、画像形成方法及びプログラム
11日前
株式会社リコー
プリンタシステムのための自動制御システム
2日前
株式会社リコー
画像形成装置、画像形成方法及びプログラム
11日前
株式会社リコー
振動検出装置、バイタルセンサ、配管検査装置
4日前
株式会社リコー
情報処理装置、情報処理方法およびプログラム
18日前
株式会社リコー
穿孔装置、後処理装置、及び、画像形成システム
3日前
株式会社リコー
表示装置、表示方法、プログラム、表示システム
17日前
株式会社リコー
媒体処理装置、画像形成装置、画像形成システム
2日前
株式会社リコー
画像読取装置、画像形成装置、および画像読取方法
9日前
株式会社リコー
先塗液の塗布状態の異常検出方法および液体吐出装置
9日前
株式会社リコー
粒子、試薬、医薬組成物、粉末吸入剤及び粒子の製造方法
10日前
株式会社リコー
情報処理システム、情報処理装置、方法およびプログラム
17日前
株式会社リコー
画像形成装置、交換部品、情報処理方法、及びプログラム
4日前
株式会社リコー
筆記装置、表示装置、および、コミュニケーションシステム
17日前
株式会社リコー
機器システム、制御方法、情報処理装置、プログラム、機器
17日前
株式会社リコー
情報伝達システム、情報処理装置、情報伝達方法及びプログラム
2日前
株式会社リコー
導電膜製造方法、焼結装置、電磁波シールド層及び電極パターン
17日前
株式会社リコー
情報処理システム、情報処理装置、情報処理方法、及びプログラム
9日前
株式会社リコー
画像形成装置、画像形成方法、画像形成システムおよびプログラム
11日前
株式会社リコー
液体吐出システム、液体吐出装置、液体吐出方法およびプログラム
17日前
株式会社リコー
情報共有システム、情報共有方法、サーバー装置、プログラム、機器
17日前
株式会社リコー
情報処理装置、情報処理方法、プログラム、および情報処理システム
9日前
株式会社リコー
画像形成装置、画像形成装置の制御方法及び画像形成装置の制御プログラム
17日前
株式会社リコー
画像形成装置、画像形成装置の制御方法及び画像形成装置の制御プログラム
4日前
株式会社リコー
情報処理装置、プログラム、データ処理方法、データ出力システム、サーバー装置
11日前
株式会社リコー
通信端末、通信システム、通信方法およびプログラム
17日前
続きを見る
他の特許を見る