TOP
|
特許
|
意匠
|
商標
特許ウォッチ
Twitter
他の特許を見る
10個以上の画像は省略されています。
公開番号
2025030649
公報種別
公開特許公報(A)
公開日
2025-03-07
出願番号
2023136137
出願日
2023-08-24
発明の名称
光学系および撮像装置
出願人
キヤノン株式会社
代理人
個人
,
個人
,
個人
主分類
G02B
13/00 20060101AFI20250228BHJP(光学)
要約
【課題】より適切に立体撮影を行うことが可能な小型の光学系を提供する。
【解決手段】第1撮像領域(IC1)に被写体の光学像を形成する第1光学系(OS1)と、第1光学系と並列に配置され、第2撮像領域(IC2)に被写体の光学像を形成する第2光学系(OS2)とを有し、第1光学系および第2光学系はそれぞれ、像面(IP)の位置に対して光軸方向に固定された開口絞り(SP)と、開口絞りよりも像面側に配置され、光軸方向に移動可能なレンズ群(LM)とを有し、第1光学系および第2光学系のそれぞれの軸上光束を決定する開口絞りの径をΦs、第1光学系と第2光学系との間の距離をDLとするとき、
0.25<Φs/DL<0.90
なる条件式を満足する。
【選択図】図9
特許請求の範囲
【請求項1】
第1撮像領域に被写体の光学像を形成する第1光学系と、
前記第1光学系と並列に配置され、第2撮像領域に前記被写体の光学像を形成する第2光学系とを有し、
前記第1光学系および前記第2光学系はそれぞれ、像面の位置に対して光軸方向に固定された開口絞りと、前記開口絞りよりも像面側に配置され、前記光軸方向に移動可能なレンズ群とを有し、
前記第1光学系および前記第2光学系のそれぞれの軸上光束を決定する前記開口絞りの径をΦs、前記第1光学系と前記第2光学系との間の距離をDLとするとき、
0.25<Φs/DL<0.90
なる条件式を満足することを特徴とする光学系。
続きを表示(約 980 文字)
【請求項2】
前記レンズ群は、前記第1光学系により前記第1撮像領域に形成される前記光学像の第1像面位置と前記第2光学系により前記第2撮像領域に形成される前記光学像の第2像面位置との差を調整する中間レンズ群であることを特徴とする請求項1に記載の光学系。
【請求項3】
前記レンズ群は、無限遠から近距離へのフォーカシングに際して移動するフォーカス群であることを特徴とする請求項1に記載の光学系。
【請求項4】
前記開口絞りから前記像面までの光軸上の距離をLs、無限遠合焦時の前記レンズ群の最も物体側の面から前記像面までの光軸上の距離をLmとするとき、
0.40<Lm/Ls<0.90
なる条件式を満足することを特徴とする請求項1乃至3のいずれか一項に記載の光学系。
【請求項5】
前記レンズ群の焦点距離をfm、前記光学系の焦点距離をfとするとき、
1.2<|fm|/f<6.0
なる条件式を満足することを特徴とする請求項1乃至3のいずれか一項に記載の光学系。
【請求項6】
前記レンズ群は、負の屈折力を有することを特徴とする請求項1乃至3のいずれか一項に記載の光学系。
【請求項7】
前記レンズ群は、物体側に凸面を向けた負メニスカスレンズを有することを特徴とする請求項1乃至3のいずれか一項に記載の光学系。
【請求項8】
前記レンズ群は、1枚のレンズから構成されることを特徴とする請求項1乃至3のいずれか一項に記載の光学系。
【請求項9】
前記開口絞りから前記像面までの光軸上の距離をLs、前記光学系のうち最も物体側のレンズ面から前記像面までの光軸上の距離をLTとするとき、
0.50<Ls/LT<0.80
なる条件式を満足することを特徴とする請求項1乃至3のいずれか一項に記載の光学系。
【請求項10】
前記光学系のうち最も物体側のレンズ面から前記像面までの光軸上の距離をLT、前記光学系の焦点距離をfとするとき、
4.0<LT/f<10.0
なる条件式を満足することを特徴とする請求項1乃至3のいずれか一項に記載の光学系。
(【請求項11】以降は省略されています)
発明の詳細な説明
【技術分野】
【0001】
本発明は、光学系および撮像装置に関する。
続きを表示(約 1,200 文字)
【背景技術】
【0002】
特許文献1には、バーチャルリアリティー等の臨場感のある映像を撮影するため、互いに並列に配置された2つの光学系を用いて、1つの撮像素子上に2つの光学像を並べて形成する立体撮像光学系が開示されている。
【先行技術文献】
【特許文献】
【0003】
特開2012-3022号公報
【発明の概要】
【発明が解決しようとする課題】
【0004】
特許文献1に開示されている立体撮像光学系において、互いに並列に配置された2つの光学系は、フォーカシングに際して固定されたパンフォーカスである。このため、絞り値(F値)が大きくボケ像が得られにくく、立体映像撮影用の光学系として適切ではない。
【0005】
そこで本発明は、より適切に立体撮影を行うことが可能な小型の光学系を提供することを目的とする。
【課題を解決するための手段】
【0006】
本発明の一側面としての光学系は、第1撮像領域に被写体の光学像を形成する第1光学系と、前記第1光学系と並列に配置され、第2撮像領域に前記被写体の光学像を形成する第2光学系とを有し、前記第1光学系および前記第2光学系はそれぞれ、像面の位置に対して光軸方向に固定された開口絞りと、前記開口絞りよりも像面側に配置され、前記光軸方向に移動可能なレンズ群とを有し、前記第1光学系および前記第2光学系のそれぞれの軸上光束を決定する前記開口絞りの径をΦs、前記第1光学系と前記第2光学系との間の距離をDLとするとき、
0.25<Φs/DL<0.90
なる条件式を満足する。
【0007】
本発明の他の目的及び特徴は、以下の実施例において説明される。
【発明の効果】
【0008】
本発明によれば、より適切に立体撮影を行うことが可能な小型の光学系を提供することができる。
【図面の簡単な説明】
【0009】
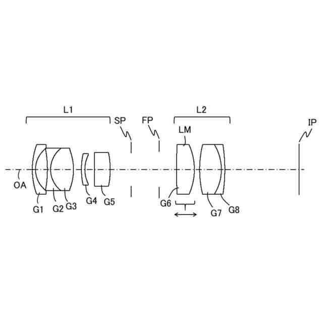
実施例1における光学系の断面図である。
実施例1における光学系の収差図である。
実施例2における光学系の断面図である。
実施例2における光学系の収差図である。
実施例3における光学系の断面図である。
実施例3における光学系の収差図である。
実施例4における光学系の断面図である。
実施例4における光学系の収差図である。
各実施例における2つの光学系を備えたレンズ装置の断面図である。
各実施例における撮像素子上のイメージサークルの模式図である。
各実施例における撮像装置の概略図である。
【発明を実施するための形態】
【0010】
以下、本発明の実施例について、図面を参照しながら詳細に説明する。
(【0011】以降は省略されています)
この特許をJ-PlatPat(特許庁公式サイト)で参照する
関連特許
カンタツ株式会社
光学系
1か月前
住友化学株式会社
偏光板
1か月前
株式会社シグマ
結像光学系
26日前
株式会社シグマ
結像光学系
16日前
住友化学株式会社
垂直偏光板
1か月前
東レ株式会社
貼合体の製造方法
1か月前
東レ株式会社
赤外線遮蔽構成体
1か月前
日本精機株式会社
ミラーユニット
25日前
古河電気工業株式会社
融着機
1か月前
日本電気株式会社
光モジュール
26日前
豊田合成株式会社
調光装置
3日前
株式会社コシナ
投射ズームレンズ
9日前
個人
多方向視差効果のための微細穴加工
27日前
日東電工株式会社
導光部材
16日前
個人
眼鏡装着位置変更具および眼鏡
1か月前
三菱電機株式会社
レンズモジュール
1か月前
日東電工株式会社
光学積層体
18日前
京セラ株式会社
光学系
24日前
AGC株式会社
インフィニティミラー
1か月前
日本精機株式会社
ヘッドアップディスプレイ
16日前
日本精機株式会社
ヘッドアップディスプレイ
19日前
新光電気工業株式会社
光導波路部品
1か月前
新光電気工業株式会社
光導波路部品
1か月前
マクセル株式会社
映像表示装置
9日前
日本精機株式会社
ヘッドアップディスプレイ装置
16日前
日本精機株式会社
ヘッドアップディスプレイ装置
17日前
住友化学株式会社
光学積層体
1か月前
株式会社リコー
光走査装置及び画像形成装置
16日前
株式会社タムロン
ズームレンズ及び撮像装置
24日前
スタンレー電気株式会社
透光性樹脂部材
24日前
レーザーテック株式会社
光学装置及び調整方法
16日前
富士通株式会社
波長変換装置および波長変換方法
1か月前
株式会社小糸製作所
画像表示装置
11日前
株式会社小糸製作所
画像表示装置
24日前
マクセル株式会社
空中浮遊映像表示装置
18日前
株式会社小糸製作所
画像生成装置
11日前
続きを見る
他の特許を見る