TOP
|
特許
|
意匠
|
商標
特許ウォッチ
Twitter
他の特許を見る
公開番号
2025021607
公報種別
公開特許公報(A)
公開日
2025-02-14
出願番号
2023125425
出願日
2023-08-01
発明の名称
情報処理装置
出願人
トヨタ自動車株式会社
,
株式会社野村総合研究所
代理人
個人
,
個人
主分類
G08G
1/16 20060101AFI20250206BHJP(信号)
要約
【課題】正解データを用いずに、道路反射鏡の向きが異常であるか否かを判定すること。
【解決手段】サーバ装置20は、車両10に搭載された撮像部11が当該車両10の周囲を撮像することによって生成された画像である周辺画像に基づいた処理を実行する。サーバ装置20は、車両10が走行する道路に設置された道路反射鏡50が写っている周辺画像を取得することと、取得した周辺画像に写っている道路反射鏡50の鏡面に、当該道路反射鏡50の設置場所に車両10が接近する方向とは異なる方向から、当該設置場所に接近する他車両、及び歩行者の少なくとも一方が写っていると判定した場合、当該道路反射鏡50の向きが異常ではないと判定すること、を実行する。
【選択図】図1
特許請求の範囲
【請求項1】
車両に搭載された撮像部が当該車両の周囲を撮像することによって生成された画像である周辺画像に基づいた処理を実行する情報処理装置であって、
前記車両が走行する道路に設置された道路反射鏡が写っている前記周辺画像を取得することと、
取得した前記周辺画像に写っている前記道路反射鏡の鏡面に、当該道路反射鏡の設置場所に前記車両が接近する方向とは異なる方向から、当該設置場所に接近する他車両、及び歩行者の少なくとも一方が写っていると判定した場合、当該道路反射鏡の向きが異常ではないと判定すること、を実行する、
情報処理装置。
続きを表示(約 640 文字)
【請求項2】
時系列で連続する前記周辺画像で構成される動画を取得することを実行し、
前記動画に写っている前記道路反射鏡の鏡面に前記他車両及び前記歩行者の少なくとも一方が写っている状態の継続時間が、所定時間以上であると判定した場合、前記周辺画像に写っている前記道路反射鏡の鏡面に前記他車両、及び前記歩行者の少なくとも一方が写っていると判定する、
請求項1に記載の情報処理装置。
【請求項3】
前記周辺画像に写っている前記道路反射鏡の鏡面の範囲のうち、道路が写っている部分が占める割合を導出することと、
導出した前記割合が所定割合以上である場合、前記道路反射鏡の向きが異常ではないと判定すること、を実行する、
請求項1に記載の情報処理装置。
【請求項4】
第1方向から前記道路反射鏡の前記設置場所に接近する第1車両の前記撮像部が当該第1車両の周囲を撮像することによって生成された前記周辺画像に基づいて、当該道路反射鏡の向きが異常ではないと判定されたことと、
第1方向とは異なる方向である第2方向から前記設置場所に接近する第2車両の前記撮像部が当該第2車両の周囲を撮像することによって生成された前記周辺画像に基づいて、当該道路反射鏡の向きが異常ではないと判定されたことと、
の何れもが成立する場合に、前記道路反射鏡の向きが正常であると判定すること、を実行する、
請求項1に記載の情報処理装置。
発明の詳細な説明
【技術分野】
【0001】
本発明は、情報処理装置に関する。
続きを表示(約 1,800 文字)
【背景技術】
【0002】
車両には、当該車両の周囲を撮像する撮像部が設けられている。車両が道路を走行している場合に、撮像部の撮像によって生成された画像である周辺画像に、当該道路に設置された道路反射鏡が写っていることがある。特許文献1には、道路反射鏡が写っている周辺画像と、道路反射鏡が正常な位置、高さ、及び角度で取りつけられていることを示す正解データとに基づいて、視認性が悪化した道路反射鏡を特定する技術が開示されている。
【先行技術文献】
【特許文献】
【0003】
特開2020-113070号公報
【発明の概要】
【発明が解決しようとする課題】
【0004】
特許文献1に開示の技術では、道路反射鏡が正常な位置、高さ、及び角度で取りつけられている場合の正解データがない場合、道路反射鏡の向きが異常であるか否かを判定することができなかった。
【課題を解決するための手段】
【0005】
上記目的を達成する情報処理装置は、車両に搭載された撮像部が当該車両の周囲を撮像することによって生成された画像である周辺画像に基づいた処理を実行する情報処理装置であって、前記車両が走行する道路に設置された道路反射鏡が写っている前記周辺画像を取得することと、取得した前記周辺画像に写っている前記道路反射鏡の鏡面に、当該道路反射鏡の設置場所に前記車両が接近する方向とは異なる方向から、当該設置場所に接近する他車両、及び歩行者の少なくとも一方が写っていると判定した場合、当該道路反射鏡の向きが異常ではないと判定すること、を実行する。
【発明の効果】
【0006】
本発明によれば、正解データを用いずに、周辺画像に基づいて道路反射鏡の向きが異常であるか否かを判定できる。
【図面の簡単な説明】
【0007】
図1は、情報処理システムの説明に用いられる図である。
図2は、サーバ装置、及び制御装置の構成の一例を示す図である。
図3は、正常な向きの道路反射鏡が写っている周辺画像の一部を拡大した図である。
図4は、異常な向きの道路反射鏡が写っている周辺画像の一部を拡大した図である。
図5は、制御装置が実行する処理の一例を示すフローチャートである。
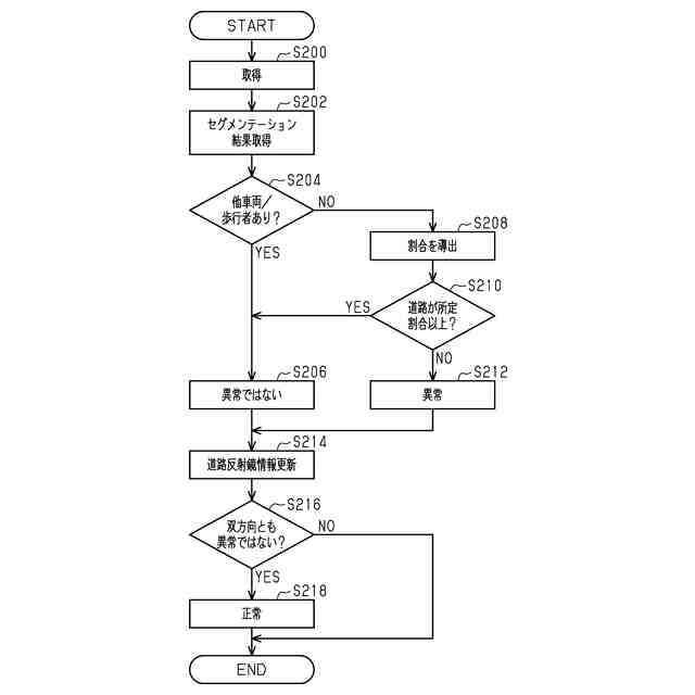
図6は、サーバ装置が実行する処理の一例を示すフローチャートである。
【発明を実施するための形態】
【0008】
<実施形態>
以下、情報処理装置の一実施形態を、図1~図6に従って説明する。
<情報処理システム1の全体構成>
図1に示すように、情報処理システム1は、例えば、一以上の車両10と、一以上のサーバ装置20とを備える。サーバ装置20は情報処理装置の一例である。詳しくは、サーバ装置20は、道路に設置された道路反射鏡50の向きが異常であるか否かを判定するための処理を実行する。
【0009】
<道路反射鏡50>
道路反射鏡50は、道路の見通しの悪い位置に設置される。例えば、道路反射鏡50は、交差点やカーブに設置される。道路において、道路反射鏡50が設置されている箇所を、「設置場所60」ということもある。道路反射鏡50は、第1方向から設置場所60に接近する車両10の運転者が、第1方向とは異なる第2方向から設置場所60に接近する他車両や歩行者が存在するか否かの確認を補助する。また、道路反射鏡50は、第2方向から設置場所60に接近する車両10の運転者が、第1方向から設置場所60に接近する他車両や歩行者が存在するか否かの確認を補助する。
【0010】
第1方向とは、例えば、道路反射鏡50の鏡面に正対した際の鏡面の幅方向における左方向である。第2方向とは、例えば、道路反射鏡50の鏡面に正対した際の鏡面の幅方向における右方向である。そして、第1方向から設置場所60に接近する車両10は、第1車両の一例である。また、第2方向から設置場所60に接近する車両10は、第2車両の一例である。なお、第1方向及び第2方向は一例であって、これに限られず、左右関係が逆であってもよい。
(【0011】以降は省略されています)
この特許をJ-PlatPat(特許庁公式サイト)で参照する
関連特許
個人
安全支援装置
21日前
株式会社SUBARU
車両
1か月前
個人
自動電動車椅子
2か月前
ニッタン株式会社
検知器
2か月前
ニッタン株式会社
検知器
2か月前
ニッタン株式会社
検知器
1か月前
日本無線株式会社
船舶システム
22日前
ニッタン株式会社
検知器
2か月前
個人
磁気路上での車両の路線離脱防御
1か月前
大阪瓦斯株式会社
音声出力システム
1か月前
トヨタ自動車株式会社
サーバ
1か月前
トヨタ自動車株式会社
サーバ
2か月前
株式会社小糸製作所
移動体検出装置
2か月前
株式会社SUBARU
運転支援装置
1か月前
日本信号株式会社
異常走行検出装置
2か月前
ダイハツ工業株式会社
移動支援装置
1か月前
株式会社CCT
通信装置及び表示方法
1か月前
株式会社小糸製作所
車両検出システム
2か月前
日本精機株式会社
報知装置及び報知システム
2か月前
三菱自動車工業株式会社
制御システム
1か月前
株式会社デンソー
運航管理装置
1か月前
株式会社SUBARU
事故情報収集装置
1か月前
株式会社 ミックウェア
車内環境制御システム
1か月前
株式会社SUBARU
車室内異常検知装置
1か月前
ヨシモトポール株式会社
接近報知システム
2か月前
ホーチキ株式会社
火災検出システム
1か月前
能美防災株式会社
火災感知器及び火災報知システム
1か月前
株式会社関電工
車両運行通知システム
1か月前
シャープ株式会社
駐車制御装置
2か月前
株式会社豊田中央研究所
注意喚起装置
2か月前
大阪瓦斯株式会社
音声出力装置
1か月前
株式会社アイシン
運転支援装置
1か月前
株式会社スターオークス
補助信号機及び信号機
19日前
オムロン株式会社
センサシステム
29日前
オムロン株式会社
センサシステム
29日前
オムロン株式会社
センサシステム
29日前
続きを見る
他の特許を見る