TOP
|
特許
|
意匠
|
商標
特許ウォッチ
Twitter
他の特許を見る
10個以上の画像は省略されています。
公開番号
2025018735
公報種別
公開特許公報(A)
公開日
2025-02-06
出願番号
2023122712
出願日
2023-07-27
発明の名称
定着装置
出願人
キヤノン株式会社
代理人
個人
,
個人
,
個人
,
個人
,
個人
主分類
G03G
15/20 20060101AFI20250130BHJP(写真;映画;光波以外の波を使用する類似技術;電子写真;ホログラフイ)
要約
【課題】 フィルム端部からの潤滑剤の漏れを抑えられる定着装置を提供する。
【解決手段】 ニップ部形成部材がトナー画像を定着する時の第1の位置から第1の方向へ移動した第2の位置に移動する時、規制部が案内部材の前記第1の方向への移動を規制することで、フィルムの内面と内面に対向するニップ部形成部材の領域との第1の方向における相対位置が変化することを特徴とする。
【選択図】 図9
特許請求の範囲
【請求項1】
筒状のフィルムと、
前記フィルムの長手方向に亘って前記フィルムの内面に接触するニップ部形成部材と、
前記フィルムの外周面に接触しており、前記フィルムを介して前記ニップ部形成部材と共にニップ部を形成するローラと、
前記長手方向における前記フィルムの端部領域の内面に対向して配置されており、前記フィルムの回転を案内する案内部材と、
を有し、前記ニップ部でトナー画像が形成された記録材を挟持搬送しつつトナー画像を記録材に定着する定着装置において、
前記長手方向に対して垂直な方向であって前記ローラから離れる第1の方向への前記案内部材の移動を規制する規制部を有し、
前記ニップ部形成部材は前記第1の方向へ移動可能に設けられており、
前記ニップ部形成部材がトナー画像を定着する時の第1の位置から前記第1の方向へ移動した第2の位置に移動する時、前記規制部が前記案内部材の前記第1の方向への移動を規制することで、前記フィルムの内面と前記内面に対向する前記ニップ部形成部材の領域との前記第1の方向における相対位置が変化することを特徴とする定着装置。
続きを表示(約 180 文字)
【請求項2】
前記定着装置は、前記ローラと前記案内部材を保持するフレームを有し、
前記規制部が、前記案内部材を前記フレームに固定することによって前記案内部材の移動が規制されていることを特徴とする請求項1に記載の定着装置。
【請求項3】
前記ニップ部形成部材はヒータであることを特徴とする請求項1又は2に記載の定着装置。
発明の詳細な説明
【技術分野】
【0001】
本発明は、電子写真記録方式を用いて記録材にトナー画像を形成するプリンタ等の画像形成装置に搭載される定着装置に関する。
続きを表示(約 1,800 文字)
【背景技術】
【0002】
電子写真装置に搭載されている定着装置として、筒状のフィルムと加圧ローラとの間で記録材を挟持搬送するフィルム加熱方式がある。フィルム加熱方式として、フィルムの内部空間にセラミックヒータを配置し、フィルムを介してセラミックヒータと加圧ローラでフィルムを挟み込む構成がある(特許文献1)。その他に、フィルムに導電層を設けてフィルムを電磁誘導により発熱させる構成、フィルムの導電層に給電端子を接触させてフィルムに給電することによってフィルムを発熱させる構成、などがある。
【0003】
フィルム加熱方式の定着装置は、フィルム内面と、セラミックヒータ等のニップ部形成部材が摺動する。この為、耐熱性グリース等の潤滑剤がフィルム内面に塗布されている。潤滑剤は、フィルムが筒状である為、フィルム端部から漏れ出し、フィルムの外周面まで回り込んでしまう可能性が有る。この潤滑剤が記録材に付着すると画像不良が生じる可能性がある。
【0004】
特許文献1には、フィルムの長手方向に亘ってフィルムの内面に接触するフィルムガイド部材に、潤滑剤をフィルムの長手方向の中央に導く溝を設けた構成が開示されている。
【先行技術文献】
【特許文献】
【0005】
特開2008-146964号公報
【発明の概要】
【発明が解決しようとする課題】
【0006】
フィルムガイドに潤滑剤の漏れを抑える工夫をしてもフィルム端部からの潤滑剤の漏れを抑えるのは難しい。フィルム端部からの潤滑剤の漏れ出しの要因は、フィルムの内面とニップ形成部材の接触領域及びその付近に介在している潤滑剤が毛細管現象により端部まで移動する要因が大きい。
【0007】
本発明は、フィルム端部からの潤滑剤の漏れを抑えられる定着装置を提供することにある。
【課題を解決するための手段】
【0008】
上述の課題を解決するための本発明は、筒状のフィルムと、前記フィルムの長手方向に亘って前記フィルムの内面に接触するニップ部形成部材と、前記フィルムの外周面に接触しており、前記フィルムを介して前記ニップ部形成部材と共にニップ部を形成するローラと、前記長手方向における前記フィルムの端部領域の内面に対向して配置されており、前記フィルムの回転を案内する案内部材と、を有し、前記ニップ部でトナー画像が形成された記録材を挟持搬送しつつトナー画像を記録材に定着する定着装置において、前記長手方向に対して垂直な方向であって前記ローラから離れる第1の方向への前記案内部材の移動を規制する規制部を有し、前記ニップ部形成部材は前記第1の方向へ移動可能に設けられており、前記ニップ部形成部材がトナー画像を定着する時の第1の位置から前記第1の方向へ移動した第2の位置に移動する時、前記規制部が前記案内部材の前記第1の方向への移動を規制することで、前記フィルムの内面と前記内面に対向する前記ニップ部形成部材の領域との前記第1の方向における相対位置が変化することを特徴とする。
【発明の効果】
【0009】
本発明によれば、フィルム端部からの潤滑剤の漏れを抑えられる定着装置を提供できる。
【図面の簡単な説明】
【0010】
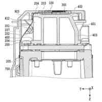
画像形成装置の断面図。
実施例1の定着装置の斜視図。
実施例1の定着装置の斜視図。
実施例1の定着装置の断面図。
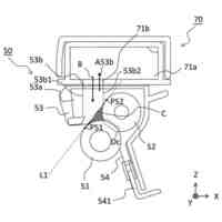
実施例1のヒータホルダユニットの斜視図。
実施例1のヒータホルダユニットの斜視図。
実施例1の定着装置の加圧動作を示す側面図。
実施例1の定着装置の側面図。
実施例1の定着装置の動作を説明する断面図。
実施例2の定着装置の斜視図。
実施例2の定着装置の斜視図。
実施例2の定着装置の側面図。
実施例2の定着装置の動作を説明する断面図。
実施例3の定着装置の動作を説明する斜視図。
実施例3の定着装置の断面図。
実施例3の定着装置の断面図。
【発明を実施するための形態】
(【0011】以降は省略されています)
この特許をJ-PlatPat(特許庁公式サイト)で参照する
関連特許
キヤノン株式会社
定着装置
5日前
キヤノン株式会社
定着装置
5日前
キヤノン株式会社
記録装置
5日前
キヤノン株式会社
定着装置
5日前
キヤノン株式会社
露光ヘッド
5日前
キヤノン株式会社
画像形成装置
5日前
キヤノン株式会社
眼科撮像装置
今日
キヤノン株式会社
画像形成装置
5日前
キヤノン株式会社
画像形成装置
5日前
キヤノン株式会社
画像形成装置
5日前
キヤノン株式会社
画像形成装置
今日
キヤノン株式会社
画像形成装置
今日
キヤノン株式会社
画像形成装置
今日
キヤノン株式会社
画像形成装置
今日
キヤノン株式会社
画像形成装置
5日前
キヤノン株式会社
画像形成装置
5日前
キヤノン株式会社
画像形成装置
5日前
キヤノン株式会社
画像形成装置
今日
キヤノン株式会社
画像形成装置
今日
キヤノン株式会社
画像形成装置
5日前
キヤノン株式会社
画像形成装置
5日前
キヤノン株式会社
画像形成装置
5日前
キヤノン株式会社
画像形成装置
今日
キヤノン株式会社
画像形成装置
今日
キヤノン株式会社
画像形成装置
5日前
キヤノン株式会社
光電変換装置及び機器
7日前
キヤノン株式会社
光学素子および光学装置
今日
キヤノン株式会社
トナー用微粉末及びトナー
7日前
キヤノン株式会社
露光装置および画像形成装置
5日前
キヤノン株式会社
画像形成装置、カートリッジ
今日
キヤノン株式会社
インク及び感熱転写記録用シート
7日前
キヤノン株式会社
インク及び感熱転写記録用シート
7日前
キヤノン株式会社
画像処理装置および画像処理方法
5日前
キヤノン株式会社
画像処理装置および画像処理方法
5日前
キヤノン株式会社
画像読取装置、及び画像形成装置
5日前
キヤノン株式会社
インク及び感熱転写記録用シート
7日前
続きを見る
他の特許を見る