TOP
|
特許
|
意匠
|
商標
特許ウォッチ
Twitter
他の特許を見る
公開番号
2025014706
公報種別
公開特許公報(A)
公開日
2025-01-30
出願番号
2023117476
出願日
2023-07-19
発明の名称
回路装置および電力変換回路
出願人
富士電機株式会社
代理人
弁理士法人RYUKA国際特許事務所
主分類
H02M
1/00 20070101AFI20250123BHJP(電力の発電,変換,配電)
要約
【課題】アラーム信号と状態信号とを容易に識別できるようにする。
【解決手段】電力変換回路と、前記電力変換回路からの信号を伝送する伝送装置とを備える回路装置であって、前記電力変換回路は、前記電力変換回路が予め設定された状態になったか否かを示すアラーム信号を生成するアラーム信号生成部と、前記アラーム信号とは異なる振幅を有し、前記電力変換回路の状態を示す状態信号を生成する状態信号生成部とを有する回路装置を提供する。前記電力変換回路は、前記アラーム信号および前記状態信号を重畳した出力信号を出力する出力端子を更に有してよい。
【選択図】図2
特許請求の範囲
【請求項1】
電力変換回路と、前記電力変換回路からの信号を伝送する伝送装置とを備える回路装置であって、
前記電力変換回路は、
前記電力変換回路が予め設定された状態になったか否かを示すアラーム信号を生成するアラーム信号生成部と、
前記アラーム信号とは異なる振幅を有し、前記電力変換回路の状態を示す状態信号を生成する状態信号生成部と
を有する回路装置。
続きを表示(約 1,200 文字)
【請求項2】
前記電力変換回路は、前記アラーム信号および前記状態信号を重畳した出力信号を出力する出力端子を更に有する
請求項1に記載の回路装置。
【請求項3】
前記アラーム信号生成部は、基準電圧と、前記基準電圧とは異なる第1電源電圧のいずれを前記出力端子に印加するかを切り替え、
前記状態信号生成部は、前記基準電圧よりも前記第1電源電圧に近い中間電圧と、前記第1電源電圧のいずれを前記出力端子に印加するかを切り替える
請求項2に記載の回路装置。
【請求項4】
前記電力変換回路は、
前記基準電圧が印加される基準配線と、
前記第1電源電圧が印加される電源配線と
を更に有し、
前記状態信号生成部は、
前記基準配線と前記電源配線との間に設けられた第1スイッチと、
前記第1スイッチと前記基準配線との間に設けられ、前記中間電圧を生成する中間電圧生成部と
を有する請求項3に記載の回路装置。
【請求項5】
前記アラーム信号生成部は、前記基準電圧および前記第1電源電圧のいずれを前記出力端子に印加するかを切り替える第2スイッチを有する
請求項4に記載の回路装置。
【請求項6】
前記伝送装置は、
前記出力信号のうち、第1基準値よりも大きい振幅の成分を伝送する第1伝送部と、
前記出力信号のうち、第2基準値よりも大きい振幅の成分を伝送する第2伝送部と
を有し、
前記第1基準値は前記第2基準値よりも小さい
請求項2に記載の回路装置。
【請求項7】
前記状態信号の振幅は、前記第1基準値より大きく、且つ、前記第2基準値より小さく、
前記アラーム信号の振幅は、前記第2基準値より大きい
請求項6に記載の回路装置。
【請求項8】
前記状態信号の振幅は、前記第2基準値より大きく、
前記アラーム信号の振幅は、前記第1基準値より大きく、且つ、前記第2基準値より小さい
請求項6に記載の回路装置。
【請求項9】
前記電力変換回路は、前記アラーム信号および前記状態信号のうちの、いずれの信号の振幅を前記第2基準値より大きくし、いずれの信号の振幅を前記第1基準値より大きく且つ前記第2基準値より小さくするかを切り替える振幅切替部を更に有する
請求項6に記載の回路装置。
【請求項10】
前記伝送装置は、
前記基準電圧と前記中間電圧との間の第2電源電圧を生成する第2電源電圧生成部と、
前記第1電源電圧と前記出力端子の電圧との差分に応じた信号を出力する第1伝送部と、
前記第2電源電圧と前記出力端子の電圧との差分に応じた信号を出力する第2伝送部と
を有する請求項3に記載の回路装置。
(【請求項11】以降は省略されています)
発明の詳細な説明
【技術分野】
【0001】
本発明は、回路装置および電力変換回路に関する。
続きを表示(約 1,400 文字)
【背景技術】
【0002】
従来、電力変換回路等の回路において、回路の異常を示すアラーム信号、または、回路の温度を示す温度情報信号を、外部に出力する技術が知られている(例えば特許文献1から3参照)。
特許文献1 特開2014-93903号公報
特許文献2 特開2011-172336号公報
特許文献3 特開2020-96436号公報
【発明の概要】
【発明が解決しようとする課題】
【0003】
アラーム信号と、温度等の状態を示す状態信号とを容易に識別できることが好ましい。
【課題を解決するための手段】
【0004】
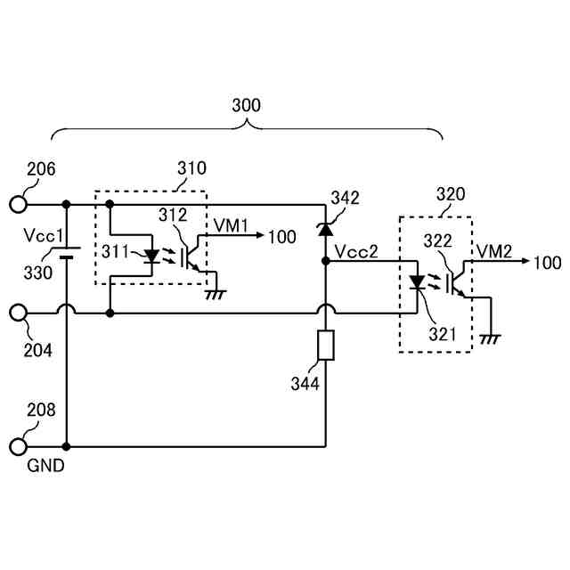
上記課題を解決するために、本発明の一つの態様においては、電力変換回路と、前記電力変換回路からの信号を伝送する伝送装置とを備える回路装置を提供する。上記回路装置において、前記電力変換回路は、前記電力変換回路が予め設定された状態になったか否かを示すアラーム信号を生成するアラーム信号生成部を有してよい。上記何れかの回路装置において、前記電力変換回路は、前記アラーム信号とは異なる振幅を有し、前記電力変換回路の状態を示す状態信号を生成する状態信号生成部を有してよい。
【0005】
上記何れかの回路装置において、前記電力変換回路は、前記アラーム信号および前記状態信号を重畳した出力信号を出力する出力端子を有してよい。
【0006】
上記何れかの回路装置において、前記アラーム信号生成部は、基準電圧と、前記基準電圧とは異なる第1電源電圧のいずれを前記出力端子に印加するかを切り替えてよい。上記何れかの回路装置において、前記状態信号生成部は、前記基準電圧よりも前記第1電源電圧に近い中間電圧と、前記第1電源電圧のいずれを前記出力端子に印加するかを切り替えてよい。
【0007】
上記何れかの回路装置において、前記電力変換回路は、前記基準電圧が印加される基準配線を有してよい。上記何れかの回路装置において、前記電力変換回路は、前記第1電源電圧が印加される電源配線を有してよい。上記何れかの回路装置において、前記状態信号生成部は、前記基準配線と前記電源配線との間に設けられた第1スイッチを有してよい。上記何れかの回路装置において、前記状態信号生成部は、前記第1スイッチと前記基準配線との間に設けられ、前記中間電圧を生成する中間電圧生成部を有してよい。
【0008】
上記何れかの回路装置において、前記アラーム信号生成部は、前記基準電圧および前記第1電源電圧のいずれを前記出力端子に印加するかを切り替える第2スイッチを有してよい。
【0009】
上記何れかの回路装置において、前記伝送装置は、前記出力信号のうち、第1基準値よりも大きい振幅の成分を伝送する第1伝送部を有してよい。上記何れかの回路装置において、前記伝送装置は、前記出力信号のうち、第2基準値よりも大きい振幅の成分を伝送する第2伝送部を有してよい。上記何れかの回路装置において、前記第1基準値は前記第2基準値よりも小さくてよい。
【0010】
上記何れかの回路装置において、前記状態信号の振幅は、前記第1基準値より大きく、且つ、前記第2基準値より小さくてよい。上記何れかの回路装置において、前記アラーム信号の振幅は、前記第2基準値より大きくてよい。
(【0011】以降は省略されています)
この特許をJ-PlatPat(特許庁公式サイト)で参照する
関連特許
個人
単極モータ
2日前
株式会社アイシン
ロータ
6日前
株式会社アイシン
ロータ
2日前
日本精機株式会社
サージ保護回路
9日前
トヨタ自動車株式会社
固定子
7日前
個人
連続ガウス加速器形磁力増幅装置
9日前
株式会社デンソー
回転機
今日
トヨタ自動車株式会社
製造装置
7日前
株式会社ダイヘン
充電装置
6日前
東京瓦斯株式会社
通信装置
8日前
カヤバ株式会社
筒型リニアモータ
8日前
株式会社アイシン
ステータ
6日前
株式会社ダイヘン
充電装置
6日前
株式会社アイシン
ステータ
6日前
株式会社ダイヘン
充電装置
6日前
株式会社ミツバ
ブラシレスモータ
8日前
株式会社アイシン
ステータ
6日前
株式会社アイシン
ステータ
6日前
個人
太陽エネルギー収集システム
7日前
株式会社ダイヘン
充電装置
6日前
トヨタ自動車株式会社
被膜形成装置
7日前
株式会社kaisei
発電システム
2日前
株式会社ミツバ
回転電機
6日前
東京瓦斯株式会社
給電システム
8日前
ASTI株式会社
電力変換装置
7日前
株式会社デンソー
電力変換装置
1日前
大和ハウス工業株式会社
システム
8日前
株式会社ダイヘン
インバータ装置
1日前
株式会社アイシン
保護装置
7日前
シャープ株式会社
表示装置
7日前
キヤノン株式会社
無線電力伝送システム
7日前
株式会社アイシン
駆動装置
7日前
矢崎総業株式会社
ワイヤーハーネス
2日前
大阪瓦斯株式会社
蓄電制御装置
7日前
本田技研工業株式会社
電気機器
8日前
本田技研工業株式会社
電気機器
7日前
続きを見る
他の特許を見る