TOP
|
特許
|
意匠
|
商標
特許ウォッチ
Twitter
他の特許を見る
公開番号
2025179837
公報種別
公開特許公報(A)
公開日
2025-12-10
出願番号
2025089002
出願日
2025-05-28
発明の名称
海陸協調型のマルチエネルギーカップリング低炭素新エネルギーシステム及び海陸資源協調の最適化ディスパッチ方法
出願人
浙江大学
,
ZHEJIANG UNIVERSITY
,
浙江省白馬湖実験室有限公司
,
ZHEJIANG BAIMAHU LABORATORY CO., LTD.
,
浙江大学嘉興研究院
代理人
弁理士法人R&C
主分類
H02J
3/28 20060101AFI20251203BHJP(電力の発電,変換,配電)
要約
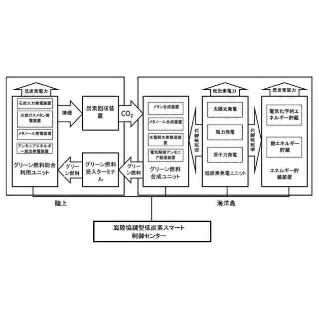
【課題】海陸協調型のマルチエネルギーカップリング低炭素新エネルギーシステムと最適化ディスパッチ方法を提供する。
【解決手段】海洋及び海洋島上に設置された低炭素発電ユニット、グリーン燃料合成ユニット及びエネルギー貯蔵装置と、海洋島及び/又は陸上に設置されたグリーン燃料総合利用ユニット及び炭素回収装置と、マルチエネルギーフローカップリングを有する海陸協調型低炭素スマート制御センターとを備える。
【選択図】図1
特許請求の範囲
【請求項1】
海陸協調型のマルチエネルギーカップリング低炭素新エネルギーシステムであって、
海洋及び海洋島上に設置された低炭素発電ユニット、グリーン燃料合成ユニット及びエネルギー貯蔵装置と、
海洋島及び/又は陸上に設置されたグリーン燃料総合利用ユニット及び炭素回収装置と、
海洋島又は陸上に設置されたマルチエネルギーフローカップリングを有する海陸協調型低炭素スマート制御センターとを備え、
前記低炭素発電ユニットは、海洋及び/又は海洋島上の風力エネルギー、太陽エネルギー、原子力エネルギーを利用してゼロカーボン又は/及び低炭素の電力を生み、
前記グリーン燃料合成ユニットは、低炭素発電ユニットで生まれたゼロカーボン又は/及び低炭素の電力を用いて水素とアンモニアを製造し、水素と炭素回収装置からの二酸化炭素を用いてメタン、メタノールを製造し、アンモニア、メタン及びメタノールはグリーン燃料としてグリーン燃料総合利用ユニットに使用され、
前記エネルギー貯蔵装置は、低炭素発電ユニットが電力負荷を満足した後も余剰電力がある場合、余剰電力で充電し、低炭素発電ユニットが電力負荷を満足できない場合、電力不足を補い、
前記グリーン燃料総合利用ユニットは、エネルギー貯蔵装置が電力不足を補った後も電力負荷を満足できない場合、グリーン燃料を優先的に発電に使用し、グリーン燃料を発電に使用した後も電力負荷を満足できない場合、炭素燃料を燃焼させて発電し、
前記炭素回収装置は、グリーン燃料総合利用ユニットで発生した二酸化炭素を回収し、二酸化炭素をグリーン燃料合成ユニットに輸送するために用いられ、
前記海陸協調型低炭素スマート制御センターは、収集された海洋又は/及び海洋島の風力エネルギー、太陽エネルギー、原子力エネルギー資源パラメータに基づきゼロカーボン又は/及び低炭素の発電量を計算し、エネルギー貯蔵装置の出力可能値及び電力負荷を組み合わせてグリーン燃料合成ユニット及びグリーン燃料総合利用ユニットの運用戦略を調整する
ことを特徴とする、海陸協調型のマルチエネルギーカップリング低炭素新エネルギーシステム。
続きを表示(約 8,000 文字)
【請求項2】
前記グリーン燃料合成ユニットは、
海水を電気分解して水素を製造するための風力と太陽光の変動電源で駆動する海水電解水素製造装置と、
水素と窒素からアンモニアを合成するための電気触媒アンモニア製造装置と、
水素と二酸化炭素からメタンを合成するためのメタン合成装置と、
水素と二酸化炭素からメタノールを合成するためのメタノール合成装置とを備え、
前記海水電解水素製造装置に用いられる電極の表面は、多元素混合改質合金触媒で覆われ、ドープされた貴金属元素は、ニッケル、ルテニウム、カドミウム、モリブデン、白金のうちの1つ又は2つ以上であり、電極触媒ドーピング金属負荷量は<0.5mg/cm
2
、カソード過電圧は≦300mV@1000mA/cm
2
、アノード過電圧は≦600mV@1000mA/cm
2
であり、前記電気触媒アンモニア製造装置における電気触媒材料は、金属有機錯体を用い、陰極材料はAl-N
2
或いはZr-N
2
陰極材料を用い、電解質溶液はイオン液体、イオン液体/有機溶媒、イオン液体/有機溶媒/水のうちの1つ又は2つ以上を用いる
ことを特徴とする、請求項1に記載の海陸協調型のマルチエネルギーカップリング低炭素新エネルギーシステム。
【請求項3】
海洋島と陸上を行き来する輸送船と、陸上に設置されたグリーン燃料受入ターミナルと、着脱及び輸送が可能な浮体式高圧低温貯蔵タンクと、全天候の複雑な海象条件下での高効率能動型断熱システムと、不安定なプラットフォームにおけるグリーン燃料の安全かつ高効率な移送システムとを備えた貯蔵・輸送ユニットをさらに備え、
前記輸送船は、グリーン燃料合成ユニットで生成されたグリーン燃料をグリーン燃料受入ターミナルに輸送し、炭素回収装置で回収された二酸化炭素をグリーン燃料合成ユニットに輸送するために用いられ、
前記グリーン燃料受入ターミナルは、輸送船からグリーン燃料を受け入れるために用いられ、
前記浮体式高圧低温貯蔵タンクは、グリーン燃料受入ターミナルで受け入れたグリーン燃料を貯蔵するために用いられ、
前記移送システムは、海上でのグリーン燃料の無人移送/充填を実現し、グリーン燃料をグリーン燃料総合利用ユニットに輸送する、或いはグリーン燃料を送り出すために用いられ、
前記断熱システムは、輸送船、グリーン燃料受入ターミナル、浮体式高圧低温貯蔵タンク及び移送システムの断熱に用いられる
ことを特徴とする、請求項1に記載の海陸協調型のマルチエネルギーカップリング低炭素新エネルギーシステム。
【請求項4】
前記グリーン燃料受入ターミナルは、アンモニア貯蔵装置と、メタン貯蔵装置と、メタノール貯蔵装置とを備えることを特徴とする、請求項3に記載の海陸協調型のマルチエネルギーカップリング低炭素新エネルギーシステム。
【請求項5】
前記エネルギー貯蔵装置は、電気化学的エネルギー貯蔵、熱エネルギー貯蔵のうちの1つ又はこれらの組み合わせを備え、前記グリーン燃料総合利用ユニットは、石炭火力発電装置、天然ガスメタン発電装置、メタノール発電装置、及びアンモニアエネルギー放出発電装置のうちの1つ又はこれらの組み合わせを備え、天然ガスメタン発電装置はグリーン燃料受入ターミナルのメタン貯蔵装置に接続され、メタノール発電装置はグリーン燃料受入ターミナルのメタノール貯蔵装置に接続され、アンモニアエネルギー放出発電装置はグリーン燃料受入ターミナルのアンモニア貯蔵装置に接続されることを特徴とする、請求項4に記載の海陸協調型のマルチエネルギーカップリング低炭素新エネルギーシステム。
【請求項6】
前記炭素回収装置は、吸収液を用いて、グリーン燃料総合利用ユニットで発生した排煙中の二酸化炭素を化学吸収法で回収することを特徴とする、請求項1に記載の海陸協調型のマルチエネルギーカップリング低炭素新エネルギーシステム。
【請求項7】
請求項1に記載の海陸協調型のマルチエネルギーカップリング低炭素新エネルギーシステムに基づく海陸資源協調の最適化ディスパッチ方法であって、
マルチ時間スケールの風力エネルギー、太陽エネルギーの資源パラメータを収集し、自然資源パラメータ及び低炭素発電ユニットの設置量を組み合わせて低炭素発電ユニットの出力を計算するステップ1、
現地の電力負荷を入力し、低炭素発電ユニットの出力及び電力負荷に基づき電力余剰を計算し、電力余剰>0の場合、グリーン燃料合成ユニットを用いてグリーン燃料を製造して余剰電力を消費する、及び/又はエネルギー貯蔵装置を用いて余剰電力を貯蔵し、エネルギー貯蔵装置の貯蔵容量を更新し、電力余剰≦0の場合、エネルギー貯蔵装置を用いて電力不足を補い、グリーン燃料合成ユニットに供給してグリーン燃料を製造し、エネルギー貯蔵装置の貯蔵容量を更新し、生産されるグリーン燃料にはアンモニア、メタン及びメタノールが含まれ、グリーン燃料合成ユニットの運用戦略、すなわち、アンモニア、メタン及びメタノールの生成率を設定し、炭素消費量を計算するステップ2、
電力不足があるかどうかを再度判断し、それでも電力不足が続く場合、グリーン燃料総合利用ユニットの運用戦略を策定し、グリーン燃料総合利用ユニットの運用戦略はグリーン燃料の出力を最大化し、炭素燃料の出力を最小化するように設定することで、電力不足を補うステップ3、
前記ステップ3で策定された運用戦略に基づきグリーン燃料総合利用ユニットの炭素排出量を計算し、ステップ2の炭素消費量と比較し、炭素排出量が総炭素消費量より小さいか又は等しい場合、前記ステップ3に戻り、グリーン燃料総合利用ユニットの運用戦略を調整し、炭素燃料の出力を増加させ、グリーン燃料の出力を減らし、炭素排出量が総炭素消費量より大きい場合、総炭素排出量を計算し、総炭素排出量が排出及び設計要件に適合していない場合、前記ステップ2に戻り、グリーン燃料合成ユニットの運用戦略を調整し、メタンとメタノールの生成率を高め、アンモニアの生成率を下げ、炭素排出量が総炭素消費量より大きくなり、総炭素排出量が排出及び設計要件に適合するまで調整し、調整されたグリーン燃料合成ユニットの運用戦略とグリーン燃料総合利用ユニットの運用戦略を、海陸協調型のマルチエネルギーカップリング低炭素新エネルギーシステムの運用ディスパッチ計画の一つとするステップ4、及び
前記ステップ1~ステップ4を繰り返し、海陸協調型のマルチエネルギーカップリング低炭素新エネルギーシステムのさまざまな運用ディスパッチ計画を形成し、目的関数と制約を満たす運用ディスパッチ計画を選別し、最適化アルゴリズムを通じて単目的最適の運用ディスパッチ計画又は多目的最適のパレートフロンティアを得、これをもって海陸協調型的マルチエネルギーカップリング低炭素新エネルギーシステムを運用するステップ5
を含むことを特徴とする、海陸資源協調の最適化ディスパッチ方法。
【請求項8】
前記ステップ4で形成された各運用ディスパッチ計画は、次の平衡を満たすことを特徴とする、請求項7に記載の海陸資源協調の最適化ディスパッチ方法。
海洋島における水素は、次の平衡を満たすこと:
TIFF
2025179837000256.tif
20
168
[式中、
TIFF
2025179837000257.tif
9
168
は、水素の生産量、
TIFF
2025179837000258.tif
10
168
はアンモニア生産で消費される水素の量、
TIFF
2025179837000259.tif
9
168
はメタン生産で消費される水素の量、
TIFF
2025179837000260.tif
9
168
はメタノール生産で消費される水素の量、
TIFF
2025179837000261.tif
9
168
は海洋島の水素貯蔵装置に貯蔵される水素の量、
TIFF
2025179837000262.tif
9
168
は海洋島の水素貯蔵装置から放出される水素の量である。]
、
アンモニアは、次の平衡を満たすこと:
TIFF
2025179837000263.tif
20
168
[式中、
TIFF
2025179837000264.tif
9
168
は、アンモニアの生産量、
TIFF
2025179837000265.tif
9
168
は船舶に積載されるアンモニアの量、
TIFF
2025179837000266.tif
9
168
は海洋島上で燃焼消費されるアンモニアの量、
TIFF
2025179837000267.tif
9
168
は海洋島のアンモニア貯蔵装置に貯蔵されるアンモニアの量、
TIFF
2025179837000268.tif
10
168
は海洋島のアンモニア貯蔵装置から放出されるアンモニアの量である。]
、
メタンは、次の平衡を満たすこと:
TIFF
2025179837000269.tif
20
168
[式中、
TIFF
2025179837000270.tif
9
168
は、メタンの生産量、
TIFF
2025179837000271.tif
10
168
は船舶に積載されるメタンの量、
TIFF
2025179837000272.tif
9
168
は海洋島上で燃焼消費されるメタン量、
TIFF
2025179837000273.tif
10
168
は海洋島のメタン貯蔵装置に貯蔵されるメタンの量、
TIFF
2025179837000274.tif
9
168
は海洋島のメタン貯蔵装置から放出されるメタンの量である。]
、
メタノールは、次の平衡を満たすこと:
TIFF
2025179837000275.tif
20
168
[式中、
TIFF
2025179837000276.tif
9
168
は、メタノールの生産量、
TIFF
2025179837000277.tif
9
168
は船舶に積載されるメタノールの量、
TIFF
2025179837000278.tif
9
168
は海洋島上で燃焼消費されるメタノールの量、
TIFF
2025179837000279.tif
9
168
は海洋島のメタノール貯蔵装置に貯蔵されるメタノールの量、
TIFF
2025179837000280.tif
9
168
は海洋島のメタノール貯蔵装置から放出されるメタノールの量である。]
、
二酸化炭素は、次の平衡を満たすこと:
TIFF
2025179837000281.tif
31
168
[式中、
TIFF
2025179837000282.tif
9
168
は、メタンの燃焼により発生する二酸化炭素の量、
【請求項9】
前記ステップ5の制約は、以下を含むことを特徴とする、請求項7に記載の海陸資源協調の最適化ディスパッチ方法。
電気触媒アンモニア製造装置のアンモニア合成プロセスの制約であり、制約式:
TIFF
2025179837000299.tif
10
168
[式中、
TIFF
2025179837000300.tif
9
168
は、アンモニア生産に消費される水素の量、
TIFF
2025179837000301.tif
9
168
はアンモニア生産に消費される窒素の量、
TIFF
2025179837000302.tif
10
168
はアンモニアの生産量である。]
、
メタン合成装置のメタン合成プロセスの制約であり、制約式:
TIFF
2025179837000303.tif
9
168
[式中、
TIFF
2025179837000304.tif
9
168
は、メタン生産に消費される水素の量、
TIFF
2025179837000305.tif
9
168
はメタンの燃焼により発生する二酸化炭素の量、
TIFF
2025179837000306.tif
9
168
はメタンの生産量である。]
、
メタノール合成装置のメタノール合成プロセスの制約であり、制約式:
TIFF
2025179837000307.tif
9
168
[式中、
TIFF
2025179837000308.tif
9
168
は、メタノール生産に消費される水素の量、
TIFF
2025179837000309.tif
10
168
はメタノール生産に消費される二酸化炭素の量、
TIFF
2025179837000310.tif
9
168
はメタノールの生産量である。]
、
グリーン燃料の生産によるエネルギー消費制約であり、制約式:
TIFF
2025179837000311.tif
12
168
、
TIFF
2025179837000312.tif
13
168
、
TIFF
2025179837000313.tif
13
168
、
TIFF
2025179837000314.tif
13
168
、
[式中、
TIFF
2025179837000315.tif
9
168
、
TIFF
2025179837000316.tif
9
168
、
TIFF
2025179837000317.tif
9
168
、
TIFF
2025179837000318.tif
9
168
は、グリーン燃料生産過程におけるエネルギー消費量換算関係を表し、
TIFF
2025179837000319.tif
9
168
、
TIFF
2025179837000320.tif
9
168
、
TIFF
2025179837000321.tif
9
168
、
TIFF
2025179837000322.tif
9
168
はそれぞれ時刻tにおける水素製造、アンモニア製造、メタン製造及びメタノール製造の電力消費量を表し、
TIFF
2025179837000323.tif
9
168
、
TIFF
2025179837000324.tif
9
168
、
TIFF
2025179837000325.tif
9
168
、
TIFF
2025179837000326.tif
9
168
【請求項10】
前記ステップ5の目的関数は、以下を含むことを特徴とする、請求項7に記載の海陸資源協調の最適化ディスパッチ方法。
運用コストの目的関数であり、関数式:
TIFF
2025179837000362.tif
25
168
[式中、
TIFF
2025179837000363.tif
7
168
は、カーボンシンク価格、
TIFF
2025179837000364.tif
6
168
は石炭価格、
TIFF
2025179837000365.tif
9
168
は海洋島から直接排出される二酸化炭素の量、
TIFF
2025179837000366.tif
9
168
は陸上から排出される二酸化炭素の量、
TIFF
2025179837000367.tif
8
168
は陸上の石炭消費量である。]
、
運用収益の目的関数であり、関数式:
TIFF
2025179837000368.tif
11
168
[式中、
TIFF
2025179837000369.tif
5
168
は、運用収益の目的関数、
TIFF
2025179837000370.tif
7
168
及び
TIFF
2025179837000371.tif
7
168
はそれぞれ時刻tにおける海洋島の電力負荷及び海洋島の電力需要、
TIFF
2025179837000372.tif
6
168
は売電価格である。]
(【請求項11】以降は省略されています)
発明の詳細な説明
【技術分野】
【0001】
本発明は、低炭素総合エネルギー発電の技術分野に属し、特に、海陸協調型のマルチエネルギーカップリング低炭素新エネルギーシステム及び最適化ディスパッチ方法に関する。
続きを表示(約 3,200 文字)
【背景技術】
【0002】
「デュアルカーボン」の背景の下、エネルギーシステムは、従来の化石燃料中心の形態から、低炭素化と多様化を目指した新しいエネルギーシステムへとトランスフォーメーションしつつある。このトランスフォーメーション過程において、新エネルギーを含むクリーンで低炭素な複合エネルギーシステムを全力で開発することが、新たなエネルギーシステムの構築における重要な方向性となっている。しかしながら、新エネルギーによる発電の出力には、間欠性、ランダム性及び変動性などの問題があるため、多様なエネルギーを補完し合う総合エネルギー供給システムを全力で推進することは低炭素新エネルギーシステムを構築する上で不可欠となり、中国のエネルギートランスフォーメーションと経済・社会の発展の促進にとって非常に意義深い。低炭素新エネルギーシステムを構築する過程で、中国の沿岸地域では陸域エネルギー資源が乏しく、産業の転換や高度化及び外部からの再生可能エネルギーの割合の増加に大きく依存している。西部地域の経済発展及びエネルギー・電力構造の制約を受け、西部地域から沿岸地域への再生可能エネルギー供給による「デュアルカーボン」戦略の支援にはボトルネックが生じ、沿岸地域の豊富な海洋エネルギー資源を深く開発・活用し、海陸が協調する新型エネルギーシステムを構築する必要があった。
【0003】
しかし、海陸協調型新エネルギーシステム及びその資源の最適化ディスパッチには、時間の粒度が比較的粗く、再生可能エネルギー資源の変動性及びエネルギー供給ユニットの動的柔軟性制約の考慮が十分に深まっていないなどのいくつかの課題が存在し、再生可能エネルギー資源の賦存量を、海洋・陸上・ステーションから地域に至るまでの空間的な階層ごとの不均一性と時間次元における多尺度の変動性や間欠性をカップリングして考慮する必要がある。既存のマルチエネルギー補完カップリングは、主に既存技術の性能と効率パラメータに基づき、水平方向と垂直方向のエネルギーシステムの補完的な協調を十分に考慮できていない。同時に、二酸化炭素排出量の削減、経済性、安全性、柔軟性などの技術評価指標間の相互作用関係はまだ十分に明確ではなく、このほとんどは、グリッド側の調整ニーズに重点が置かれており、二酸化炭素の変換と利用のプロセスが無視され、エネルギー生産と製品生産の協調的制御における柔軟性のポテンシャルを充分発掘できていなかった。
【0004】
上記の課題に着目して、海洋と陸上のエネルギー賦存量とエネルギー使用負荷の傾向を考慮し、海洋島型マルチエネルギーフローカップリングシステムの様々なシナリオにおいて、マルチエネルギー融合、マルチエネルギー貯蔵構成、多種のエネルギー変換方法のスマートな組み合わせ・カップリング特性を備えた総合エネルギー生産ユニット及び最適化ディスパッチ方法の確立を研究し、更にエネルギーシステムの炭素制御可能な移行の概念に基づき、石炭火力発電と再生可能エネルギーの強みを活かし、グリーン燃料への転換を総合的に考慮した上で、海洋島型マルチエネルギーフローカップリングシステムのための柔軟なエネルギー供給を備えた総合エネルギー生産ユニットの統合ソリューションを提案し、冷熱・電力・ガスのマルチエネルギーフローの協調計画、共同管理、相互応答及び相互補完性を備えたマルチエネルギーカップリング低炭素エネルギーシステムを構築し、新たなエネルギー変動を効果的に平滑化し、CO
2
排出量を削減し、システムの安全性及び柔軟性を向上させる。
【発明の概要】
【発明が解決しようとする課題】
【0005】
本発明の目的は、海陸協調型に基づく低炭素総合エネルギー供給システムのギャップを埋め、洋上再生可能エネルギー駆動のグリーン燃料の製造、洋上グリーン燃料の大規模な貯蔵と輸送、効率的で低炭素かつスマートグリーン燃料の多様で総合的な利用及びより経済的で低炭素かつ信頼性の高いエネルギー供給を実現する海陸協調型のマルチエネルギーカップリング低炭素新エネルギーシステム及び最適化ディスパッチ方法を提供することである。
【課題を解決するための手段】
【0006】
本発明は、海洋及び海洋島上に設置された低炭素発電ユニット、グリーン燃料合成ユニット及びエネルギー貯蔵装置と、海洋島及び/又は陸上に設置されたグリーン燃料総合利用ユニット及び炭素回収装置と、海洋島又は陸上に設置されたマルチエネルギーフローカップリングを有する海陸協調型低炭素スマート制御センターとを備えた海陸協調型のマルチエネルギーカップリング低炭素新エネルギーシステムに関し、
前記低炭素発電ユニットは、海洋及び/又は海洋島上の風力エネルギー、太陽エネルギー、原子力エネルギーを利用してゼロカーボン及び/又は低炭素の電力を生み、
前記グリーン燃料合成ユニットは、低炭素発電ユニットで生まれたゼロカーボン及び/又は低炭素の電力を用いて水素とアンモニアを製造し、水素と炭素回収装置からの二酸化炭素を用いてメタン、メタノールを製造し、アンモニア、メタン及びメタノールはグリーン燃料としてグリーン燃料総合利用ユニットに使用され、
前記エネルギー貯蔵装置は、低炭素発電ユニットが電力負荷を満足した後も余剰電力がある場合、余剰電力で充電し、低炭素発電ユニットが電力負荷を満足できない場合、電力不足を補い、
前記グリーン燃料総合利用ユニットは、エネルギー貯蔵装置が電力不足を補った後も電力負荷を満足できない場合、グリーン燃料を優先的に発電に使用し、グリーン燃料を発電に使用した後も電力負荷を満足できない場合、天然ガス及び/又は石炭を燃焼させて発電し、
前記炭素回収装置は、グリーン燃料総合利用ユニットで発生した二酸化炭素を回収し、二酸化炭素をグリーン燃料合成ユニットに輸送するために用いられ、
前記海陸協調型低炭素スマート制御センターは、収集された海洋及び/又は海洋島の風力エネルギー、太陽エネルギー、原子力エネルギー資源パラメータに基づきゼロカーボン及び/又は低炭素の発電量を計算し、エネルギー貯蔵装置の出力可能値及び電力負荷を組み合わせてグリーン燃料合成ユニット及びグリーン燃料総合利用ユニットの運用戦略を調整する。
【0007】
本発明の風力発電とは、風の運動エネルギーを機械的運動エネルギーに変換し、さらに機械的エネルギーを電気的運動エネルギーに変換することを意味し、すなわち、風力の作用により風車が回転し、風の運動エネルギーを風車軸の機械エネルギーに変換し、風車軸の駆動により発電機が回転して発電する。
【0008】
本発明の太陽光発電は、すなわち、半導体界面の光起電力効果を利用して太陽エネルギーを電気エネルギーに直接変換する技術であるソーラー発電であり、主に太陽電池パネルアセンブリとコントローラで構成される。太陽電池を直列に接続し、パッケージ化して保護することで大面積の太陽電池パネルアセンブリを形成でき、これをコントローラなどの構成要素と組み合わせてソーラー発電装置を形成する。
【0009】
本発明の原子力発電とは、原子炉内での核分裂により放出される熱エネルギーを利用して発電する方法である。火力発電ボイラーの代わりに原子炉と蒸気発生器を使用し、蒸気発生器内で熱を水に伝達し、蒸気となって蒸気タービン発電機を駆動する。
【0010】
好ましくは、前記低炭素発電ユニットは、太陽光発電、風力発電及び原子力発電のうちの1つ又は2つ以上の組み合わせを含む。
(【0011】以降は省略されています)
この特許をJ-PlatPat(特許庁公式サイト)で参照する
関連特許
浙江大学
水中ハウジング装置
1か月前
浙江大学
可変粘性流れ抵抗構造
10か月前
浙江大学
超狭線幅レーザ発生装置
10か月前
浙江大学
深層学習に基づく損傷判定方法
1か月前
浙江大学
極端現象の頻度誤差の推定と制御方法
5日前
浙江大学
SNP分子で標識されたHu羊純血種の評価方法
6か月前
浙江大学
斜面土壌体浸透係数モニタリング方法とシステム
4か月前
浙江大学
氷点下の温度に基づく多孔質炭素電極の凍結転写方法
5か月前
浙江大学
超臨界ウェーハ洗浄/乾燥媒体回収方法及びシステム
5か月前
浙江大学
降雨型地滑りモニタリング・早期警報方法とシステム
4か月前
浙江大学
ベース歪み発生装置およびベース歪み感度計測システム
11か月前
浙江大学
ランダム分布式テンソル抵抗率測定方法及び測定システム
今日
浙江大学
地下水水位標高の測定方法、貯水量測定システム及び応用
6か月前
浙江大学
マルチインバータ駆動交流モータの給電における高調波の制御装置
6か月前
浙江大学
レーザ直接描画による耐高温性ナノ銅、その製造方法、および使用
12日前
浙江大学濱江研究院
高強度のシルクフィブロインヒドロゲル人工腱/人工靭帯の製造方法
8か月前
浙江大学
複数の変数を同期的にモニタリングする地滑りモデル試験方法及び装置
10か月前
浙江大学
せん断性能を向上させるための複合サンドイッチ構造のセル嵌合の設計方法
1か月前
浙江大学
4Dプリントに基づく迷路状インターロックスマート構造及びそのロック方法
10か月前
浙江大学
全周回転型非接触電力伝送コネクタ装置及びこれに基づく電気エネルギー伝送方法
5か月前
杭州師範大学
水質を改善するための人文生態浄化システムおよび方法
6か月前
浙江大学
マルチノズルアレイによって勾配孔隙マクロポーラスゼラチンを3D印刷する装置及び方法
7か月前
浙江大学嘉興研究院
メタノール改質と高効率な膜分離との連結に基づくコンパクト型船舶用炭素回収のシステム、方法及び応用
10か月前
浙江大学
海陸協調型のマルチエネルギーカップリング低炭素新エネルギーシステム及び海陸資源協調の最適化ディスパッチ方法
今日
浙江大学
k空間と画像空間とを組み合わせて再構築するイメージング方法及び装置
3か月前
個人
高圧電気機器の開閉器
21日前
個人
電気を重力で発電装置
1か月前
キヤノン電子株式会社
モータ
1か月前
キヤノン電子株式会社
モータ
1か月前
株式会社東光高岳
充電器
1日前
日星電気株式会社
ケーブル組立体
1か月前
東洋アルミニウム株式会社
発電体
今日
コーセル株式会社
電源装置
1か月前
トヨタ自動車株式会社
モータ
1か月前
株式会社アイドゥス企画
減反モータ
21日前
株式会社デンソー
端子台
14日前
続きを見る
他の特許を見る