TOP
|
特許
|
意匠
|
商標
特許ウォッチ
Twitter
他の特許を見る
10個以上の画像は省略されています。
公開番号
2025178853
公報種別
公開特許公報(A)
公開日
2025-12-09
出願番号
2024085701
出願日
2024-05-27
発明の名称
施策実行プログラム、施策実行方法および情報処理装置
出願人
富士通株式会社
代理人
弁理士法人酒井国際特許事務所
主分類
G08G
1/00 20060101AFI20251202BHJP(信号)
要約
【課題】施策検証の精度を向上させることを課題とする。
【解決手段】情報処理装置は、実世界を仮想空間に再現をしたデジタルツインを生成し、実世界の所定のエリアに存在する人物の情報を取得する。情報処理装置は、生成したデジタルツインにおいて、取得した人物の情報を用いて、人物の移動に関するシミュレーションを実施する。情報処理装置は、実施したシミュレーションの結果に基づいて、所定のエリアに適用する施策の検証結果を示す情報を生成し、生成した検証結果を示す情報を表示画面に出力する。
【選択図】図1
特許請求の範囲
【請求項1】
コンピュータに、
実世界を仮想空間に再現をしたデジタルツインを生成し、
前記実世界の所定のエリアに存在する人物の情報を取得し、
生成した前記デジタルツインにおいて、取得した前記人物の情報を用いて、前記人物の移動に関するシミュレーションを実施し、
実施した前記シミュレーションの結果に基づいて、前記所定のエリアに適用する施策の検証結果を示す情報を生成し、
生成した前記検証結果を示す情報を表示画面に出力する、
処理を実行させることを特徴とする施策実行プログラム。
続きを表示(約 2,200 文字)
【請求項2】
前記シミュレーションを実施する処理は、
前記デジタルツインを用いて、前記人物の移動における目的地に関する目的地データを用いた交通シミュレーションを実行し、
前記検証結果を示す情報を生成する処理は、
前記交通シミュレーションの結果に基づいて、前記所定のエリアに適用する前記人物の移動に関する施策の検証結果を示す情報を生成する、
ことを特徴とする請求項1に記載の施策実行プログラム。
【請求項3】
前記人物の属性情報を用いて前記人物の移動における目的地データを生成する、処理を前記コンピュータにさらに実行させ、
前記シミュレーションを実施する処理は、
前記デジタルツインを用いて、前記人物の移動における目的地に関する目的地データを用いた前記人物の移動に関するシミュレーションを実行し、
前記検証結果を示す情報を生成する処理は、
前記シミュレーションの結果に基づいて、前記所定のエリアに適用する前記人物の移動に関する施策の検証結果を示す情報を生成する、
ことを特徴とする請求項1または2に記載の施策実行プログラム。
【請求項4】
前記人物の移動目的を取得し、
取得された前記人物の移動目的を用いて、複数のモデルの中から前記移動目的に対応付けられたモデルを特定する、処理を前記コンピュータにさらに実行させ、
前記目的地データを生成する処理は、
特定された前記モデルを用いて、前記目的地データを生成する、
ことを特徴とする請求項3に記載の施策実行プログラム。
【請求項5】
前記人物の移動目的が通勤または通学の場合は、統計データから算出した選択確率に基づいて、前記目的地データを生成し、
前記人物の移動目的が通勤および通学以外の場合は、前記人物の属性情報から算出した選択確率に基づいて、前記目的地データを生成する
ことを特徴とする請求項3に記載の施策実行プログラム。
【請求項6】
前記統計データから生成された前記目的地データと前記人物の属性情報とを結合させた第1結合データと、前記人物の属性情報から生成された前記目的地データと前記人物の属性情報とを結合させた第2結合データとを生成する、処理を前記コンピュータにさらに実行させ、
前記シミュレーションを実施する処理は、
前記デジタルツインを用いて、前記第1結合データおよび前記第2結合データを用いた前記人物の移動に関するシミュレーションを実行する、
ことを特徴とする請求項5に記載の施策実行プログラム。
【請求項7】
前記人物の情報を取得する処理は、
人物毎に目的地が対応付けられた目的地データを取得し、
前記シミュレーションを実行する処理は、
取得した前記目的地データを用いて、前記デジタルツイン上において、複数の人物のそれぞれに対応するエージェントを移動させるシミュレーションを実施し、
前記検証結果を示す情報を生成する処理は、
前記シミュレーションの結果に基づいて、前記所定のエリアの状況を特定する、
ことを特徴とする請求項1に記載の施策実行プログラム。
【請求項8】
前記所定のエリアに適用される施策は、交通渋滞を解消するための施策であり、
前記検証結果を示す情報を生成する処理は、
前記シミュレーションの結果に基づいて、所定のエリアの混雑の状況を特定し、
特定した前記混雑の状況を用いて、前記所定のエリアに適用する施策の検証結果を示す情報を生成する、
ことを特徴とする請求項7に記載の施策実行プログラム。
【請求項9】
前記シミュレーションを実施する処理は、
人物が前記施策に従って行動するか否かを判定する行動選択モデルを取得し、
取得した前記行動選択モデルと、取得した前記人物の情報とを用いて、前記デジタルツインにおいて、第1の施策に対して、エージェントが従うか否かを判定するシミュレーションを実行し、
前記エージェントが従うか否かを判定するシミュレーションの実行結果を用いて、前記人物の移動に関するシミュレーションを実施する、
ことを特徴とする請求項1に記載の施策実行プログラム。
【請求項10】
前記人物の情報は、人物の属性情報であり、
前記シミュレーションを実施する処理は、
前記デジタルツインに存在するエージェントの前記属性情報と、取得した前記行動選択モデルとに基づいて、第1の施策に対して、複数のエージェントのそれぞれが従うか否かを判定することで、前記複数のエージェントのそれぞれが所定のエリアを移動するか否かのシミュレーションを実行し、
前記所定のエリアを移動するか否かのシミュレーションの結果に基づいて、前記所定のエリアの混雑の状況を特定し、
特定した前記混雑の状況を用いて、前記所定のエリアに適用する、前記第1の施策の検証結果を示す情報を生成する、
ことを特徴とする請求項9に記載の施策実行プログラム。
(【請求項11】以降は省略されています)
発明の詳細な説明
【技術分野】
【0001】
本発明は、施策実行プログラム、施策実行方法および情報処理装置に関する。
続きを表示(約 1,600 文字)
【背景技術】
【0002】
施策検証は、さまざまな場面で必要とされており、シミュレーションを用いて施策検証を行い、施策の効果や影響を推定することが行われている。
【先行技術文献】
【特許文献】
【0003】
特開2023-182560号公報
【発明の概要】
【発明が解決しようとする課題】
【0004】
しかしながら、従来技術は、予め設定した計算式などを用いたシミュレーションを実施するために、特定の条件下でのシミュレーション結果しか得ることができず、実世界に則したシミュレーションを実施できるとは言い難い。また、そのシミュレーション結果により立案された施策が、実世界で導入効果が高いものであるとは言い難い。
【0005】
一つの側面では、施策検証の精度を向上させることができる施策実行プログラム、施策実行方法および情報処理装置を提供することを目的とする。
【課題を解決するための手段】
【0006】
第1の案では、施策実行プログラムは、コンピュータに、実世界を仮想空間に再現をしたデジタルツインを生成し、前記実世界の所定のエリアに存在する人物の情報を取得し、生成した前記デジタルツインにおいて、取得した前記人物の情報を用いて、前記人物の移動に関するシミュレーションを実施し、実施した前記シミュレーションの結果に基づいて、前記所定のエリアに適用する施策の検証結果を示す情報を生成し、生成した前記検証結果を示す情報を表示画面に出力する、処理を実行させることを特徴とする。
【発明の効果】
【0007】
一実施形態によれば、施策検証の精度を向上させることができる。
【図面の簡単な説明】
【0008】
図1は、実施例1にかかる情報処理装置による施策実行を説明する図である。
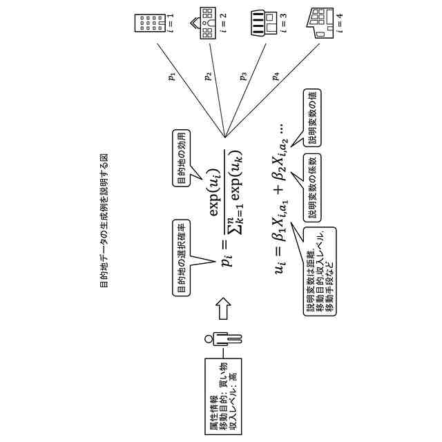
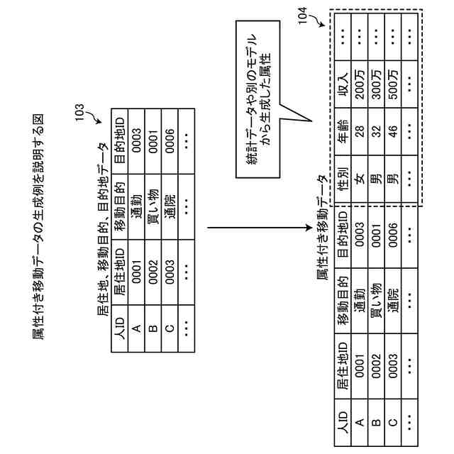
図2は、目的地データの生成例を説明する図である。
図3は、目的地データの精度悪化の例を説明する図である。
図4は、実施例1にかかる情報処理装置の機能構成を示す機能ブロック図である。
図5は、移動目的データの生成例を説明する図である。
図6は、目的地データの生成例を説明する図である。
図7は、目的地データの付加例を説明する図である。
図8は、属性の生成例を説明する図である。
図9は、属性付き移動データの生成例を説明する図である。
図10は、施策の解析例を説明する図である。
図11は、施策効果の表示例を説明する図である。
図12は、処理の流れを示すフローチャートである。
図13は、行動選択モデルを利用したシミュレーション処理を示すフローチャートである。
図14は、ハードウェア構成例を説明する図である。
【発明を実施するための形態】
【0009】
以下に、本願の開示する施策実行プログラム、施策実行方法および情報処理装置の実施例を図面に基づいて詳細に説明する。なお、この実施例によりこの発明が限定されるものではない。各実施例は、矛盾のない範囲内で適宜組み合わせることができる。
【実施例】
【0010】
(施策実行システムの説明)
図1は、実施例1にかかる情報処理装置10による施策実行を説明する図である。図1に示す情報処理装置10は、人の行動をデジタルで再現し社会課題を解決する施策を探索し検証する取組みとして、デジタルツイン上でのシミュレーションを実行する。情報処理装置10は、年齢、収入、目的地、移動方法などの属性情報付きの人の移動データ(移動軌跡データ)をインプットとし、デジタルツインにおいて、施策に対する人の反応によって施策の効果を検証する。
(【0011】以降は省略されています)
この特許をJ-PlatPat(特許庁公式サイト)で参照する
関連特許
富士通株式会社
半導体装置
2か月前
富士通株式会社
半導体デバイス
2か月前
富士通株式会社
画像処理モデル
1か月前
富士通株式会社
メッシュ微細化
2か月前
富士通株式会社
演算器及び演算方法
2か月前
富士通株式会社
ダウンサンプリング
14日前
富士通株式会社
ポイントクラウド分類
1か月前
富士通株式会社
OLT及びPONシステム
1か月前
富士通株式会社
電子機器筐体及び電子機器
2か月前
富士通株式会社
光受信装置及び光受信方法
14日前
富士通株式会社
アレイアンテナモジュール
2か月前
富士通株式会社
光送信器及び光トランシーバ
2か月前
富士通株式会社
プログラム及びデータ処理装置
28日前
富士通株式会社
基板及びこれを備えた電子装置
2か月前
富士通株式会社
演算処理装置及び情報処理装置
1か月前
富士通株式会社
情報処理装置及び情報処理方法
20日前
富士通株式会社
波長変換装置および波長変換方法
1か月前
富士通株式会社
情報処理装置および情報処理方法
14日前
富士通株式会社
テキスト案内される画像エディタ
1か月前
富士通株式会社
ラックマウント装置及びラック装置
1か月前
富士通株式会社
メモリ管理装置及びメモリ管理方法
1か月前
富士通株式会社
書き込みアシスト回路及びSRAM
12日前
富士通株式会社
画像生成プログラム、方法、及び装置
5日前
富士通株式会社
不正検知プログラム、方法、及び装置
20日前
富士通株式会社
推定システム、情報処理装置及び推定方法
7日前
富士通株式会社
制御装置,制御方法及び分散処理システム
1日前
富士通株式会社
データ処理方法及び装置、並びに記憶媒体
7日前
富士通株式会社
通知プログラム、通知方法および通知装置
1か月前
富士通株式会社
受光デバイス及び受光デバイスの製造方法
1か月前
富士通株式会社
測定装置、測定方法、および測定プログラム
5日前
富士通株式会社
コンパイルプログラムおよびコンパイル方法
28日前
富士通株式会社
生成プログラム、生成方法および情報処理装置
1か月前
富士通株式会社
検出プログラム、検出方法および情報処理装置
1か月前
富士通株式会社
プログラム、情報処理方法および情報処理装置
2か月前
富士通株式会社
出張情報受付方法および出張情報受付プログラム
2か月前
富士通株式会社
半導体装置、半導体装置の製造方法及び電子装置
26日前
続きを見る
他の特許を見る