TOP
|
特許
|
意匠
|
商標
特許ウォッチ
Twitter
他の特許を見る
公開番号
2025177901
公報種別
公開特許公報(A)
公開日
2025-12-05
出願番号
2024085051
出願日
2024-05-24
発明の名称
生産管理システム
出願人
パナソニックIPマネジメント株式会社
代理人
弁理士法人前田特許事務所
主分類
G05B
23/02 20060101AFI20251128BHJP(制御;調整)
要約
【課題】簡易な構成にて加工機の停止の原因を特定可能な生産管理システムを提供する。
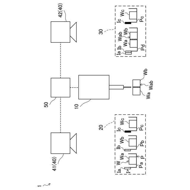
【解決手段】生産管理システム1は、ワークWを加工する加工機10と、加工機10よりも前工程の側にあり且つワークWが配置される前工程側スポット20と、加工機10よりも後工程の側にあり且つワークWが配置される後工程側スポット30と、ワークWに関連した識別子Iを撮像するカメラ40と、カメラ40に接続されたコントローラ50と、を備える。カメラ40は、前工程側スポット20に配置されたワークWに関連した識別子Iを撮像するとともに、後工程側スポット30に配置されたワークWに関連した識別子Iを撮像する。コントローラ50は、カメラ40により撮像される、前工程側スポット20での識別子I又は後工程側スポット30での識別子Iに基づいて、加工機10の停止の原因を判定する。
【選択図】図2
特許請求の範囲
【請求項1】
ワークを加工する加工機と、
前記加工機よりも前工程の側にあり且つ前記ワークが配置される前工程側スポットと、
前記加工機よりも後工程の側にあり且つ前記ワークが配置される後工程側スポットと、
前記ワークに関連した識別子を撮像するカメラと、
前記カメラに接続されたコントローラと、を備え、
前記カメラは、前記前工程側スポットに配置された前記ワークに関連した前記識別子を撮像するとともに、前記後工程側スポットに配置された前記ワークに関連した前記識別子を撮像し、
前記コントローラは、前記カメラにより撮像される、前記前工程側スポットでの前記識別子又は前記後工程側スポットでの前記識別子に基づいて、前記加工機の停止の原因を判定する、生産管理システム。
続きを表示(約 720 文字)
【請求項2】
前記コントローラは、前記加工機による加工に必要な前記ワークに関連する前記識別子が前記前工程側スポットに存在しないとき、前記加工機の停止の原因が前記加工機よりも前工程にあると判定する、請求項1に記載の生産管理システム。
【請求項3】
前記コントローラは、前記加工機よりも後工程で必要な前記ワークに関連する前記識別子が前記後工程側スポットに存在するとき、前記加工機の停止の原因が前記加工機よりも後工程にあると判定する、請求項1又は2に記載の生産管理システム。
【請求項4】
前記コントローラは、前記後工程側スポットでの前記識別子の数が閾値に達したとき、前記加工機の停止の原因が前記加工機よりも後工程にあると判定する、請求項1又は2に記載の生産管理システム。
【請求項5】
前記ワークは、パレットに載せられ、
前記識別子は、前記パレットに取り付けられ、
前記識別子は、前記パレットから取り外し可能である、請求項1又は2に記載の生産管理システム。
【請求項6】
前記コントローラは、
前記前工程側スポットに前記識別子が入った時に前記前工程側スポットに前記識別子が存在することを記憶し、前記前工程側スポットから前記識別子が出たときに前記前工程側スポットに前記識別子が存在しないことを記憶し、
前記後工程側スポットに前記識別子が入った時に前記後工程側スポットに前記識別子が存在することを記憶し、前記後工程側スポットから前記識別子が出たときに前記後工程側スポットに前記識別子が存在しないことを記憶する、請求項1又は2に記載の生産管理システム。
発明の詳細な説明
【技術分野】
【0001】
本開示は、生産管理システムに関する。
続きを表示(約 1,500 文字)
【背景技術】
【0002】
従来の生産管理の手法では、工程実績やトレーサビリティに関する情報を得るために、加工機によるワークの加工などの各工程単位で都度、作業者が工程実績を入力したり、作業者がID登録したり、作業者がバーコードを読み取ったりするなどの必要があった。このような手法では、作業者の負荷が大きく、また生産に関する情報を確実に把握するのも困難であった。
【0003】
特許文献1に開示の物体移動管理方法では、建物内の所定領域で移動する物体の位置情報を物体位置検知機器よって取得し、その位置情報に基づいて物体の位置をリアルタイムでモニタに3次元的に表示し、物体の移動管理を3次元的に実行できるようにする。具体的には、物体位置検知機器として、物体には発信器が取り付けられ、物流倉庫の上部には発信器からの無線信号を受信するための受信機が設置されている。
【先行技術文献】
【特許文献】
【0004】
特開2004-196553号公報
【発明の概要】
【発明が解決しようとする課題】
【0005】
ところで、ワークを加工する加工機が、何らかの原因により停止してしまうことがある。加工機の故障等のエラーに起因する異常停止であれば、加工機から発せられるエラー情報等によって、加工機の停止の原因を容易に特定できる。
【0006】
しかしながら、加工機自体が正常に機能しているにもかかわらず、加工機が停止している場合には、加工機の停止の原因を特定するのが難しい。加工機が正常に機能しているにもかかわらず停止する原因として、例えば、前工程から加工機に対して未だにワークが送られてこない前工程待ち、後工程が遅れているために加工機から後工程に対してワークを送り出せない後工程待ち、などがある。
【0007】
特許文献1のように、ワークひとつひとつに発振器を取り付ければ、加工機の停止の原因を特定できるかもしれない。しかしながら、この手法では、ワークの数に対応するように大量の発振器を用意しなければならいので、コストが増大し、また生産管理システムも複雑となる。
【0008】
本開示の目的は、簡易な構成でもって加工機の停止の原因を特定可能な生産管理システムを提供することにある。
【課題を解決するための手段】
【0009】
本開示に係る生産管理システムは、ワークを加工する加工機と、前記加工機よりも前工程の側にあり且つ前記ワークが配置される前工程側スポットと、前記加工機よりも後工程の側にあり且つ前記ワークが配置される後工程側スポットと、前記ワークに関連した識別子を撮像するカメラと、前記カメラに接続されたコントローラと、を備え、前記カメラは、前記前工程側スポットに配置された前記ワークに関連した前記識別子を撮像するとともに、前記後工程側スポットに配置された前記ワークに関連した前記識別子を撮像し、前記コントローラは、前記カメラにより撮像される、前記前工程側スポットでの前記識別子又は前記後工程側スポットでの前記識別子に基づいて、前記加工機の停止の原因を判定する。
【図面の簡単な説明】
【0010】
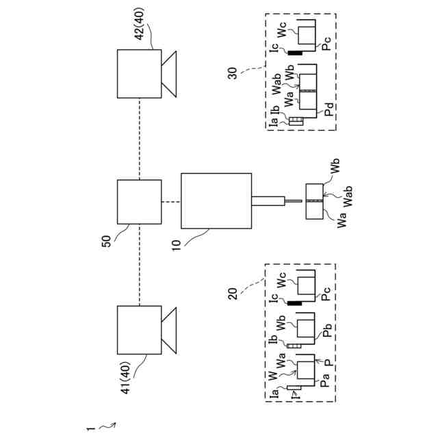
図1は、生産工程を示す。
図2は、生産管理システムを示す。
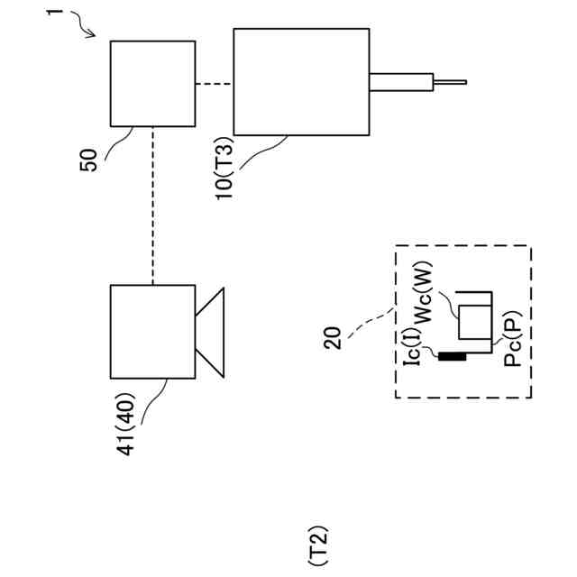
図3は、加工機の停止の原因が前工程待ちの場合を示す。
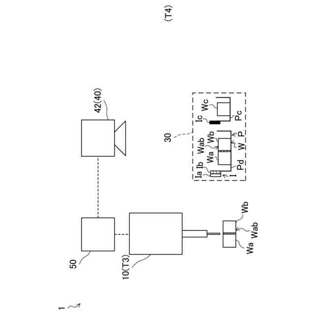
図4は、加工機の停止の原因が後工程待ちの場合を示す。
図5は、加工機の停止の原因を特定するときのフローチャートを示す。
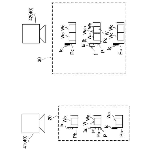
図6は、コントローラによる記憶を示す。
【発明を実施するための形態】
(【0011】以降は省略されています)
この特許をJ-PlatPat(特許庁公式サイト)で参照する
関連特許
オムロン株式会社
スレーブ装置
2か月前
株式会社熊谷組
障害物の検出方法
2か月前
株式会社クボタ
作業車
10日前
新電元工業株式会社
作業用ロボット
1か月前
株式会社クボタ
作業車
1か月前
ローム株式会社
半導体集積回路
11日前
豊田合成株式会社
機器制御装置
2か月前
株式会社アサヒエンタープライズ
調整弁
26日前
株式会社ダイフク
物品搬送設備
18日前
トヨタ自動車株式会社
制御装置
2か月前
株式会社ダイフク
物品搬送設備
1か月前
エイブリック株式会社
電流補償回路及び半導体装置
1か月前
カヤバ株式会社
減圧弁
2か月前
村田機械株式会社
搬送車システム
2か月前
株式会社アマダ
工作機械制御装置
2か月前
RFルーカス株式会社
自動棚卸ロボット
5日前
日野自動車株式会社
自動運転装置
2か月前
株式会社明電舎
負荷制御装置
1か月前
株式会社明電舎
負荷制御装置
1か月前
オムロン株式会社
システム及び方法
1か月前
オムロン株式会社
システム及び方法
1か月前
株式会社カーメイト
アクセルペダルカバー
2か月前
トヨタ自動車株式会社
情報処理装置
2か月前
株式会社計数技研
移動体、及びプログラム
18日前
株式会社明電舎
負荷制御装置
1か月前
浦登有限公司
電源回路
3日前
ローム株式会社
電源回路用の電子負荷装置
2か月前
トヨタ自動車株式会社
管理システム、及び管理方法
1か月前
株式会社マキタ
運搬車
2か月前
日清紡マイクロデバイス株式会社
定電圧回路
1か月前
株式会社東海ヒット
複段圧力差生成システム
2か月前
ローム株式会社
半導体装置
1か月前
ローム株式会社
半導体装置
26日前
トヨタ自動車株式会社
管理システム、及び管理方法
10日前
株式会社マキタ
運搬車
2か月前
ローム株式会社
電源装置
1か月前
続きを見る
他の特許を見る