TOP
|
特許
|
意匠
|
商標
特許ウォッチ
Twitter
他の特許を見る
公開番号
2025177417
公報種別
公開特許公報(A)
公開日
2025-12-05
出願番号
2024084238
出願日
2024-05-23
発明の名称
電子マネー決済装置
出願人
サンデン・リテールシステム株式会社
代理人
個人
,
個人
,
個人
,
個人
主分類
G07F
7/12 20060101AFI20251128BHJP(チェック装置)
要約
【課題】電子マネー決済に認証が必要な電子マネー媒体のユーザと、電子マネー決済に認証が不要な電子マネー媒体のユーザとのそれぞれに対して電子マネー決済時の利便性を提供し得る電子マネー決済装置を提供する。
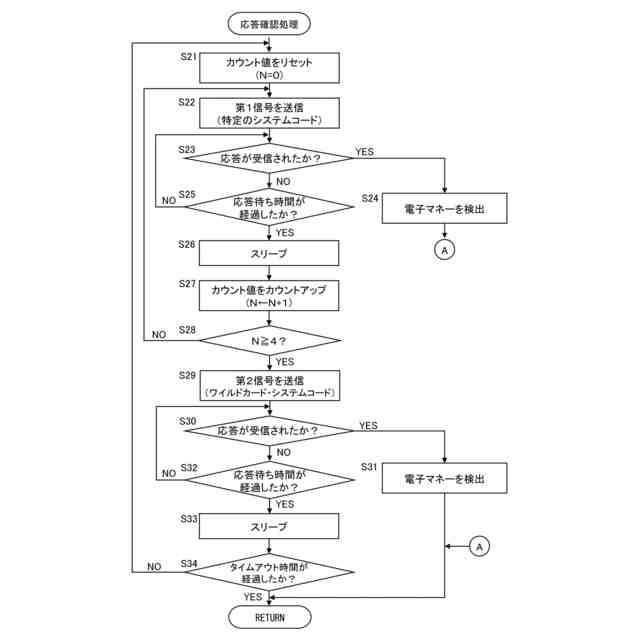
【解決手段】電子マネー決済装置は、電子マネー媒体に対する応答確認処理によって前記電子マネー媒体が有する電子マネーを検出するように構成されており、前記応答確認処理において、前記電子マネー媒体に対して特定の電子マネーに対応する第1信号と複数の電子マネーに対応する第2信号とを送信し、前記第1信号と前記第2信号の送信回数比がA対B(A>B)である。
【選択図】図4
特許請求の範囲
【請求項1】
電子マネー媒体に対する応答確認処理によって前記電子マネー媒体が有する電子マネーを検出するように構成された電子マネー決済装置であって、
前記応答確認処理において、前記電子マネー媒体に対して特定の電子マネーに対応する第1信号と複数の電子マネーに対応する第2信号とを送信し、前記第1信号と前記第2信号の送信回数比がA対B(A>B)である、電子マネー決済装置。
続きを表示(約 690 文字)
【請求項2】
前記電子マネー媒体に対して前記第1信号を送信してその応答を待つことをA回行い、その後に前記電子マネー媒体に対して前記第2信号を送信してその応答を待つことをB回行う、請求項1に記載の電子マネー決済装置。
【請求項3】
前記複数の電子マネーは、前記特定の電子マネー及び前記特定の電子マネー以外の他の電子マネーを含む、請求項1に記載の電子マネー決済装置。
【請求項4】
前記第1信号は、前記特定の電子マネーのシステムコードを含み、
前記第2信号は、前記電子マネー決済装置で利用可能な全ての電子マネーを対象に含むためのワイルドカードを用いたシステムコードを含む、
請求項1に記載の電子マネー決済装置。
【請求項5】
前記第1信号の送信回数が前記第2信号の送信回数の3倍以上且つ5倍以下である、請求項1に記載の電子マネー決済装置。
【請求項6】
前記応答確認処理において、所定期間ごとに前記第1信号と前記第2信号の送信回数比を変化させる、請求項1に記載の電子マネー決済装置。
【請求項7】
前記応答確認処理によって一つの電子マネーが検出された場合には検出された一つの電子マネーを決済用の電子マネーとして決定し、
前記応答確認処理によって複数の電子マネーが検出された場合には検出された複数の電子マネーの中から前記電子マネー媒体のユーザによって選択された一つの電子マネーを決済用の電子マネーとして決定する、
請求項1~6のいずれか一つに記載の電子マネー決済装置。
発明の詳細な説明
【技術分野】
【0001】
本発明は、電子マネー決済装置に関する。
続きを表示(約 2,000 文字)
【背景技術】
【0002】
この種の従来技術の一例として、特許文献1には、電子マネー媒体に対して複数種類の電子マネーの各々に対応する複数の信号を所定時間毎に順次切り替えて発信することによって前記電子マネー媒体が有する電子マネーを検出し、検出された電子マネーをディスプレイに表示して前記電子マネー媒体のユーザに決済用の電子マネーを選択させる技術が記載されている。
【先行技術文献】
【特許文献】
【0003】
特開2019-086852号公報
【発明の概要】
【発明が解決しようとする課題】
【0004】
電子マネー媒体(特にスマートフォンなどの携帯端末)には、現状大別して二つのタイプが存在する。一つは電子マネー決済に認証が必要な電子マネー媒体であり、もう一つは電子マネー決済に認証が不要な電子マネー媒体である。また、電子マネー決済に認証が必要な電子マネー媒体の中には特定の電子マネーによる決済を認証なしで行うことを可能とするモード(以下「簡易電子決済モード」という。)を搭載しているものがあり、このモードは、電子マネー媒体のユーザによって設定され得る。
【0005】
電子マネー決済に認証が必要な電子マネー媒体において前記簡易電子決済モードが設定されている場合、その電子マネー媒体のユーザは、電子マネー決済をできるだけ認証なしで行うことを望んでいると考えられる。ここで、電子マネー決済装置が、電子マネー決済を行う際に電子マネー媒体に対して前記特定の電子マネーに対応する信号のみを送信すれば、前記簡易電子決済モードが有効化され得るので、電子マネー決済に認証が必要であり且つ前記簡易電子決済モードが設定されている電子マネー媒体と、電子マネー決済に認証が不要であり且つ前記特定の電子マネーを有する電子マネー媒体との両方で電子マネー決済を認証なしで行うことが可能となる。
【0006】
しかし、そのような方法では、電子マネー決済に認証が不要な電子マネー媒体が前記特定の電子マネー以外の他の電子マネーを有する場合であっても、前記他の電子マネーが電子マネー決済装置によって検出されない。その結果、電子マネー決済に認証が不要であり且つ複数の電子マネーを有する電子マネー媒体のユーザに対して決済用の電子マネーを選択する機会が与えられなくなってしまう。他方、前記他の電子マネーを検出するため、電子マネー決済装置が電子マネー媒体に対して前記特定の電子マネーに対応する信号以外の信号を送信すると、電子マネー決済に認証が必要であり且つ前記簡易電子決済モードが設定されている電子マネー媒体では認証が必要となる。
【0007】
本発明は、電子マネー決済に認証が必要な電子マネー媒体のユーザと、電子マネー決済に認証が不要な電子マネー媒体のユーザとのそれぞれに対して電子マネー決済時の利便性を提供し得る電子マネー決済装置を提供することを目的とする。
【課題を解決するための手段】
【0008】
発明者は、電子マネー決済装置が電子マネー決済を行う際に電子マネー媒体に対して送信する信号を工夫することにより、電子マネー決済時に認証が必要な電子マネー媒体のユーザと、電子マネー決済時に認証が不要な電子マネー媒体のユーザとのそれぞれに対して電子マネー決済時の利便性を提供し得ることを見出した。本発明は、かかる知見に基づいてなされたものである。
【0009】
本発明の一側面によると、新規な電子マネー決済装置が提供される。提供される電子マネー決済装置は、電子マネー媒体に対する応答確認処理によって前記電子マネー媒体が有する電子マネーを検出するように構成されている。前記電子マネー決済装置は、前記応答確認処理において、前記電子マネー媒体に対して特定の電子マネーに対応する第1信号と複数の電子マネーに対応する第2信号とを送信し、前記第1信号と前記第2信号の送信回数比がA対B(A>B)である。
【発明の効果】
【0010】
本発明によれば、電子マネー決済時に認証が必要な電子マネー媒体のユーザと、電子マネー決済時に認証が不要な電子マネー媒体のユーザとのそれぞれに対して電子マネー決済時の利便性を提供し得る電子マネー決済装置を提供することができる。例えば、電子マネー決済装置は、電子マネー決済に認証が必要であり且つ前記簡易電子決済モードが設定されている電子マネー媒体のユーザが電子マネー決済時の認証を省略すること、及び電子マネー決済に認証が不要であり且つ複数の電子マネーを有する電子マネー媒体のユーザが電子マネー決済時に決済用の電子マネーを選択することを可能とする。
【図面の簡単な説明】
(【0011】以降は省略されています)
この特許をJ-PlatPat(特許庁公式サイト)で参照する
関連特許
個人
自動販売機
11日前
株式会社イシダ
商品処理装置
2か月前
株式会社タムラ製作所
自動販売機
26日前
沖電気工業株式会社
紙幣処理装置
3か月前
沖電気工業株式会社
媒体処理装置
3か月前
沖電気工業株式会社
媒体処理装置
5日前
沖電気工業株式会社
媒体処理装置
5日前
沖電気工業株式会社
媒体処理装置
5日前
沖電気工業株式会社
媒体処理装置
5日前
沖電気工業株式会社
媒体処理装置
3か月前
アサヒ飲料株式会社
遠隔決済方法
1か月前
沖電気工業株式会社
施錠開閉装置
2か月前
沖電気工業株式会社
媒体処理装置
3か月前
富士電機株式会社
自動販売機
3か月前
株式会社ライト
情報処理装置
3か月前
株式会社ライト
情報処理装置
3か月前
富士電機株式会社
金銭処理装置
4か月前
株式会社デンソー
車載器
2か月前
グローリー株式会社
貨幣処理装置
1か月前
グローリー株式会社
物品投出装置
3か月前
アサヒ飲料株式会社
自動販売機の決済方法
1か月前
株式会社トイスピリッツ
景品提供システム
3か月前
日本金銭機械株式会社
硬貨処理装置
2か月前
日本金銭機械株式会社
硬貨処理装置
2か月前
株式会社寺岡精工
商品登録システム
1か月前
株式会社寺岡精工
販売データ処理装置
1か月前
ユニティガードシステム株式会社
入館監視システム
3か月前
株式会社知財事業研究所
特殊駐車場システム
20日前
株式会社アスタリスク
生体認証システム
3日前
沖電気工業株式会社
棒金収納装置
3か月前
沖電気工業株式会社
現金処理装置
3か月前
旭精工株式会社
紙葉類処理装置および紙葉類処理方法
2か月前
沖電気工業株式会社
媒体処理装置
3か月前
沖電気工業株式会社
現金処理装置及び印字装置
2か月前
沖電気工業株式会社
棒金収納装置
2か月前
中井銘鈑株式会社
商品見本取付け構造
3か月前
続きを見る
他の特許を見る