TOP
|
特許
|
意匠
|
商標
特許ウォッチ
Twitter
他の特許を見る
10個以上の画像は省略されています。
公開番号
2025173365
公報種別
公開特許公報(A)
公開日
2025-11-27
出願番号
2024078921
出願日
2024-05-14
発明の名称
対話支援システム、及び対話支援方法
出願人
株式会社日立製作所
代理人
弁理士法人一色国際特許事務所
主分類
G06F
40/279 20200101AFI20251119BHJP(計算;計数)
要約
【課題】円滑な対話を対話モデルにより実現することを支援する。
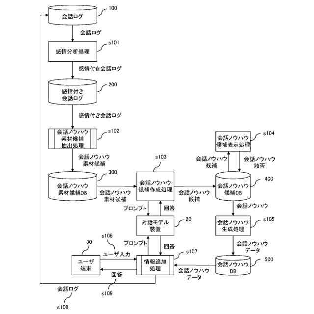
【解決手段】対話モデルの会話ログを記憶し、会話ログにおける各入力テキストが示す感情をそれぞれ推定し、推定した感情に基づき、会話ログから、所定の感情が連続して示されている入力テキストの範囲と前記範囲における各入力テキストに対応する各出力テキストとを含むテキストの範囲である会話ノウハウ素材候補を抽出し、抽出した会話ノウハウ素材候補が示す会話の流れの特徴を表すデータである会話ノウハウを作成し、ユーザからテキストの入力を受け付け、入力されたテキストに会話ノウハウの情報を追加したプロンプトを対話モデルに入力させ、対話モデルがプロンプトに基づき出力したテキストを取得し、取得したテキストを所定の出力装置に出力させる対話支援システム40。
【選択図】図2
特許請求の範囲
【請求項1】
ユーザにより入力されたテキストに対応するテキストを出力する対話モデルに過去に入力された入力テキストと前記対話モデルが前記入力テキストに対応して出力した出力テキストとの繰り返しのデータである会話ログを記憶する記憶装置、及び
前記会話ログにおける各入力テキストが示す感情をそれぞれ推定する感情分析処理と、
前記推定した感情に基づき、前記会話ログから、所定の感情が連続して示されている入力テキストの範囲と前記範囲における各入力テキストに対応する各出力テキストとを含むテキストの範囲である会話ノウハウ素材候補を抽出する会話ノウハウ素材候補抽出処理と、
前記抽出した会話ノウハウ素材候補が示す会話の流れの特徴を表すデータである会話ノウハウを所定のアルゴリズムにより作成する会話ノウハウ作成処理と、
ユーザからテキストの入力を受け付け、入力されたテキストに前記作成した会話ノウハウの情報を追加したプロンプトを前記対話モデルに入力させ、前記対話モデルが前記プロンプトに基づき出力したテキストを取得し、取得したテキストを所定の出力装置に出力させる情報追加処理とを実行する演算装置
を備える、対話支援システム。
続きを表示(約 1,600 文字)
【請求項2】
前記演算装置は、
前記感情分析処理において、前記会話ログにおける各入力テキストが示す感情が、ネガティブな感情であるか否かを推定し、
前記会話ノウハウ素材候補抽出処理において、ネガティブな感情が連続して示されている入力テキストの範囲と前記範囲における各入力テキストに対応する各出力テキストとを含む会話ノウハウ素材候補を抽出する、
請求項1に記載の対話支援システム。
【請求項3】
前記演算装置は、
前記情報追加処理において、前記ユーザから入力を受け付けたテキストと、前記テキストに対応して前記対話モデルが出力したテキストとを、前記会話ログに追加する、
請求項1に記載の対話支援システム。
【請求項4】
前記演算装置は、
前記会話ノウハウ作成処理において、前記抽出した会話ノウハウ素材候補を含むデータを前記対話モデルに入力することにより、前記データに対応する出力テキストを取得し、取得したテキストを含むデータを前記会話ノウハウに設定する、
請求項1に記載の対話支援システム。
【請求項5】
前記演算装置は、
前記会話ノウハウ作成処理において、前記抽出した会話ノウハウ素材候補と、前記会話ノウハウ素材候補のテキストに対応する感情と、前記会話ノウハウ素材候補のテキストが入力テキスト又は出力テキストのいずれであるかを示す情報と、前記所定の感情の情報とを含むプロンプトを前記対話モデルに入力する、
請求項4に記載の対話支援システム。
【請求項6】
前記演算装置は、
前記会話ノウハウ素材候補抽出処理において、前記所定の感情が示されている入力テキストと、前記入力テキストに対応して出力された所定の内容を有する出力テキストとの組み合わせが連続しているテキストの範囲を含む範囲を前記会話ノウハウ素材候補として抽出する、
請求項1に記載の対話支援システム。
【請求項7】
前記記憶装置は、前記会話ログと、前記会話ログが属するカテゴリとを対応づけて記憶し、
前記演算装置は、
前記会話ノウハウ作成処理において、前記会話ノウハウを作成すると共に前記会話ノウハウが属するカテゴリを特定し、
前記情報追加処理において、前記入力されたテキストが属するカテゴリを特定し、特定したカテゴリに対応するカテゴリの会話ノウハウの情報を追加したプロンプトを前記対話モデルに入力させる、
請求項1に記載の対話支援システム。
【請求項8】
ユーザにより入力されたテキストに対応するテキストを出力する対話モデルに過去に入力された入力テキストと前記対話モデルが前記入力テキストに対応して出力した出力テキストとの繰り返しのデータである会話ログを記憶する記憶装置、及び演算装置を備える情報処理装置による対話支援方法であって、
前記演算装置が、
前記会話ログにおける各入力テキストが示す感情をそれぞれ推定する感情分析処理と、
前記推定した感情に基づき、前記会話ログから、所定の感情が連続して示されている入力テキストの範囲と前記範囲における各入力テキストに対応する各出力テキストとを含むテキストの範囲である会話ノウハウ素材候補を抽出する会話ノウハウ素材候補抽出処理と、
前記抽出した会話ノウハウ素材候補が示す会話の流れの特徴を表すデータである会話ノウハウを所定のアルゴリズムにより作成する会話ノウハウ作成処理と、
ユーザからテキストの入力を受け付け、入力されたテキストに前記作成した会話ノウハウの情報を追加したプロンプトを前記対話モデルに入力させ、前記対話モデルが前記プロンプトに基づき出力したテキストを取得し、出力したテキストを所定の出力装置に出力させる情報追加処理とを実行する、
対話支援方法。
発明の詳細な説明
【技術分野】
【0001】
本発明は、対話支援システム、及び対話支援方法に関する。
続きを表示(約 1,900 文字)
【背景技術】
【0002】
大規模言語モデル(LLM: Large Language Models)のような生成AI(Artificial Intelligence)を用いた人間とAIとのコミュニケーションが普及している。しかしながら、人間の個性や感性によって培われるようなコミュニケーションノウハウを特定してこれをAIに学習させることは容易ではなく、このことが人間とAIとの間の円滑なコミュニケーションをしばしば困難にしている原因の一つである。
【0003】
AIにコミュニケーションに資する補足的な情報を提供する技術としては、例えば特許文献1に、入力された質問文から別の質問文を生成し、当該入力された質問文および生成された別の質問文から算出した特徴ベクトルを用いて文章データベースを検索することにより、特徴ベクトルとの類似度について所定の条件を満たす特徴ベクトルに関連付けられた文章を、入力された質問文に対して参考情報として付加する追加文章を生成するために用いる候補文章として取得し、そして、当該取得した候補文章をもとに生成した追加文章を参考情報として質問文に付加することが開示されている。
【先行技術文献】
【特許文献】
【0004】
特許第7325152号
【発明の概要】
【発明が解決しようとする課題】
【0005】
特許文献1は、文章データベースから抽出した参考情報を質問文に追加することでAIに追加的な情報を提供するものである。しかしながら、追加される参考情報はコミュニケーションのノウハウそのものではないので、必ずしも期待される効果、すなわち円滑なコミュニケーションが得られるとは限らない。
【0006】
本発明は、このような事情に鑑みてなされたものであり、その目的は、円滑な対話を対話モデルにより実現することを支援することが可能な対話支援システム、及び対話支援方法を提供することにある。
【課題を解決するための手段】
【0007】
上記課題を解決するための本発明の一つは、ユーザにより入力されたテキストに対応するテキストを出力する対話モデルに過去に入力された入力テキストと前記対話モデルが前記入力テキストに対応して出力した出力テキストとの繰り返しのデータである会話ログを記憶する記憶装置、及び前記会話ログにおける各入力テキストが示す感情をそれぞれ推定する感情分析処理と、前記推定した感情に基づき、前記会話ログから、所定の感情が連続して示されている入力テキストの範囲と前記範囲における各入力テキストに対応する各出力テキストとを含むテキストの範囲である会話ノウハウ素材候補を抽出する会話ノウハウ素材候補抽出処理と、前記抽出した会話ノウハウ素材候補が示す会話の流れの特徴を表すデータである会話ノウハウを所定のアルゴリズムにより作成する会話ノウハウ作成処理と、ユーザからテキストの入力を受け付け、入力されたテキストに前記作成した会話ノウハウの情報を追加したプロンプトを前記対話モデルに入力させ、前記対話モデルが前記プロンプトに基づき出力したテキストを取得し、取得したテキストを所定の出力装置に出力させる情報追加処理とを実行する演算装置を備える、対話支援システムである。
【発明の効果】
【0008】
本発明によれば、円滑な対話を対話モデルにより実現することを支援することができる。
上記した以外の構成及び効果等は、以下の実施形態の説明により明らかにされる。
【図面の簡単な説明】
【0009】
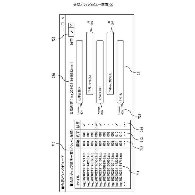
本実施形態に係る対話システムの構成の一例を示す図である。
対話支援システムが備える機能の一例を示す図である。
対話支援システムが備えるハードウェア構成の一例を示す図である。
対話システムで行われる対話処理の概要を説明するブロック図である。
感情付き会話ログDBのデータ構成の一例を示す図である。
会話ノウハウ候補の作成に用いられるプロンプトの一例を示す図である。
会話ノウハウビュー画面の一例を示す図である。
会話ノウハウ素材候補抽出処理の詳細を説明するフロー図である。
会話ノウハウ素材候補抽出処理で特定される会話ノウハウ素材候補の一例を示す図である。
情報追加処理の詳細を説明するフロー図である。
会話ノウハウDBの一例を示す図である。
【発明を実施するための形態】
【0010】
本発明の実施の形態について図面を参照しつつ説明する。
(【0011】以降は省略されています)
この特許をJ-PlatPat(特許庁公式サイト)で参照する
関連特許
株式会社日立製作所
電力変換システム
7日前
株式会社日立製作所
システム検証方法
22日前
株式会社日立製作所
鉄道車両用空調装置
21日前
株式会社日立製作所
施設管理装置および方法
7日前
株式会社日立製作所
店舗管理装置および方法
22日前
株式会社日立製作所
生産ライン設計システム
15日前
株式会社日立製作所
乗降床及び乗客コンベア
20日前
株式会社日立製作所
飲食店提案装置および方法
22日前
株式会社日立製作所
検索システム及び検索方法
22日前
株式会社日立製作所
乗りかご及びエレベーター
23日前
株式会社日立製作所
署名照合システム及び方法
28日前
株式会社日立製作所
乗りかご及びエレベーター
22日前
株式会社日立製作所
ソフトエラー率評価システム
8日前
株式会社日立製作所
ソースコードを生成する方法
15日前
株式会社日立製作所
宇宙機、地上局及びアンテナ
7日前
株式会社日立製作所
生体認証装置、生体認証方法
21日前
株式会社日立製作所
膜分離設備設計支援システム
7日前
株式会社日立製作所
IT運用管理装置および方法
今日
株式会社日立製作所
スカートモール及び乗客コンベア
7日前
株式会社日立製作所
立体構造宇宙機及びその制御方法
20日前
株式会社日立製作所
物体検出装置および物体検出方法
28日前
株式会社日立製作所
ガス分離システムの劣化診断装置
7日前
株式会社日立製作所
水素製造制御システムおよび方法
1日前
株式会社日立製作所
購入関連行動分析装置および方法
21日前
株式会社日立製作所
広告支援装置および広告支援方法
今日
株式会社日立製作所
情報処理方法及び情報処理システム
23日前
株式会社日立製作所
単体テスト装置及び単体テスト方法
23日前
株式会社日立製作所
計算機システム及びデータ送信方法
29日前
株式会社日立製作所
テスト支援装置及びテスト支援方法
7日前
株式会社日立製作所
データ処理装置およびデータ処理方法
20日前
株式会社日立製作所
対話支援システム、及び対話支援方法
今日
株式会社日立製作所
欠陥検査システム、及び欠陥検査方法
7日前
株式会社日立製作所
計算機システム及び構想策定の支援方法
7日前
株式会社日立製作所
分析装置、分析システムおよび分析方法
7日前
株式会社日立製作所
計算機システムおよびアクセス検証方法
20日前
株式会社日立製作所
仮想空間生成システム、仮想空間生成方法
1日前
続きを見る
他の特許を見る