TOP
|
特許
|
意匠
|
商標
特許ウォッチ
Twitter
他の特許を見る
10個以上の画像は省略されています。
公開番号
2025172169
公報種別
公開特許公報(A)
公開日
2025-11-20
出願番号
2025153366
出願日
2025-09-16
発明の名称
熱可塑性樹脂フィルム及びラベル
出願人
株式会社ユポ・コーポレーション
代理人
個人
,
個人
,
個人
,
個人
,
個人
主分類
G09F
3/00 20060101AFI20251113BHJP(教育;暗号方法;表示;広告;シール)
要約
【課題】成形体への接着強度の低下やブリスター発生が抑制されたRFIDインモールドラベルの製造に適した熱可塑性樹脂フィルムを提供する。
【解決手段】基材層、ヒートシール層及びアンテナ層が順次積層されてなり、前記アンテナ層は、前記ヒートシール層表面の少なくとも一部に設けられており、前記アンテナ層に含まれるアンテナ配線表面に、接着性樹脂組成物または熱融着性樹脂組成物からなる層を有する熱可塑性樹脂フィルム。
【選択図】図1C
特許請求の範囲
【請求項1】
基材層、ヒートシール層及びアンテナ層が順次積層されてなり、
前記アンテナ層は、前記ヒートシール層表面の少なくとも一部に設けられており、
前記アンテナ層に含まれるアンテナ配線表面に、接着性樹脂組成物または熱融着性樹脂組成物からなる層を有する熱可塑性樹脂フィルム。
続きを表示(約 910 文字)
【請求項2】
基材層、ヒートシール層及びアンテナ層が順次積層されてなり、
前記アンテナ層は、前記ヒートシール層表面の少なくとも一部に設けられており、
前記アンテナ層が設けられた領域全体を覆う接着性樹脂組成物または熱融着性樹脂組成物からなる層を有する熱可塑性樹脂フィルム。
【請求項3】
基材層、ヒートシール層及びアンテナ層が順次積層されてなり、
前記アンテナ層は、前記ヒートシール層表面の少なくとも一部に設けられており、
前記アンテナ層及び前記ヒートシール層の表面全体を覆う接着性樹脂組成物または熱融着性樹脂組成物からなる層を有する熱可塑性樹脂フィルム。
【請求項4】
基材層、アンテナ層及びヒートシール層が順次積層されてなり、
前記アンテナ層は、前記基材層表面の少なくとも一部に設けられており、
前記ヒートシール層は、前記基材層の前記アンテナ層形成側表面全体を覆う層である、熱可塑性樹脂フィルム。
【請求項5】
前記アンテナ層はICチップを含む、請求項1~4のいずれか一項に記載の熱可塑性樹脂フィルム。
【請求項6】
前記アンテナ層に含まれるアンテナ配線が金属箔からなる、請求項1~4のいずれか一項に記載の熱可塑性樹脂フィルム。
【請求項7】
前記アンテナ層に含まれるアンテナ配線がスパッタリング法または蒸着法にて形成されたものである、請求項1~4のいずれか一項に記載の熱可塑性樹脂フィルム。
【請求項8】
前記アンテナ層に含まれるアンテナ配線が導電インキを用いた印刷法にて形成されたものである、請求項1~4のいずれか一項に記載の熱可塑性樹脂フィルム。
【請求項9】
前記基材層の、ヒートシール層またはアンテナ層を有する側とは反対側表面に、印刷層または印刷受容層を有する、請求項1~4のいずれか一項に記載の熱可塑性樹脂フィルム。
【請求項10】
請求項1~4のいずれか一項に記載された熱可塑性樹脂フィルムを用いて形成されたラベル。
発明の詳細な説明
【技術分野】
【0001】
本発明は熱可塑性樹脂フィルム及びラベルに関する。
続きを表示(約 2,400 文字)
【背景技術】
【0002】
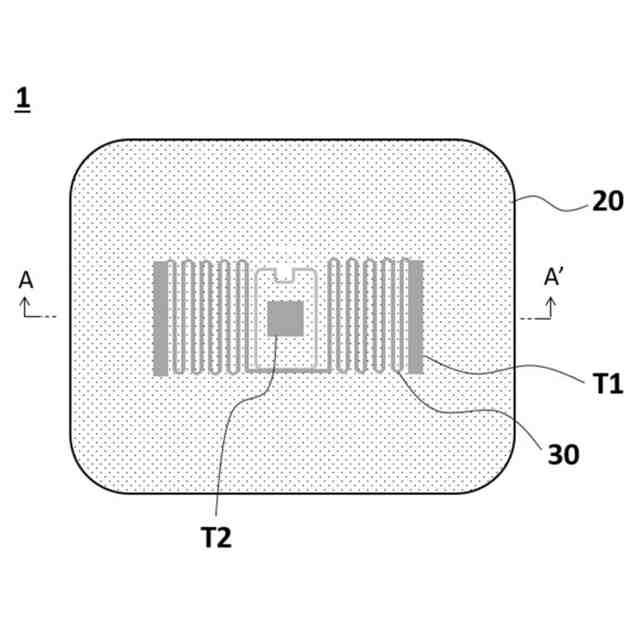
従来から、運送や流通、販売管理、工場工程管理、在庫管理、商品の配送や荷物の取り扱いなど、様々な分野では、RFID(Radio Frequency Identification)タグなどの非接触ICタグが利用されている。同様な用途で粘着層を持ち、被着体に貼付、使用されるICラベルの提案もなされている。
【0003】
また樹脂成形体の成形工程にて、成形体表面に熱融着させるインモールド成形用ラベルについても、ICモジュールを備えたものが提案されている。例えば特許文献2は、表面にアンテナ部が設けられた非接触データキャリアラベルを、アンテナ部側表面が成形体に対向するよう金型内に装填・成形し、非接触データキャリア付きパッケージを成形することを提案している。アンテナ部が成形体の原料樹脂に埋設され、ラベル基材がアンテナ部やICチップの保護の保護被膜として機能している。
【0004】
また特許文献3は、内層にアンテナとICチップを有するインモールドラベルと、これを用いて形成されたラベル付き熱可塑性樹脂コンテナを提案している。特許文献3のインモールドラベルは、ICモジュールを少なくとも2枚の熱可塑性樹脂フィルム間に封止し、固定化することで、製造工程等におけるICモジュールの保護を実現している。
【先行技術文献】
【特許文献】
【0005】
特開2002-74303号公報
特開2002-49905号公報
特開2006-48016号公報
【発明の概要】
【発明が解決しようとする課題】
【0006】
特許文献3に記載のインモールドラベルは、2枚の熱可塑性樹脂フィルム間にアンテナとICチップを挟持させる必要があるため、より簡易な製造工程の提供が期待されている。
【0007】
一方、特許文献2に記載のインモールドラベルタイプの非接触データキャリアラベルは、ラベル表面にアンテナ部を設けるため、より簡易な構成であり製造工程もシンプルである。しかしこのような構成のインモールドラベルは、アンテナ部表面が成形体の原料樹脂に対する接着性を有さないため、成形体の原料樹脂とアンテナ部表面が接触する部分に空気が溜り、ラベル接着強度の低下又はブリスターと呼ばれる外観不良を引き起こすという問題があった。
【課題を解決するための手段】
【0008】
本発明者らが上記課題を解決すべく鋭意検討を行った結果、アンテナ部の表面に接着性樹脂組成物または熱融着性樹脂組成物からなる層を設けることにより、上記問題を解決できることを見出した。
【0009】
すなわち、本発明は以下の通りである。
[1] 基材層、ヒートシール層及びアンテナ層が順次積層されてなり、
前記アンテナ層は、前記ヒートシール層表面の少なくとも一部に設けられており、
前記アンテナ層に含まれるアンテナ配線表面に、接着性樹脂組成物または熱融着性樹脂組成物からなる層を有する熱可塑性樹脂フィルム。
[2]基材層、ヒートシール層及びアンテナ層が順次積層されてなり、
前記アンテナ層は、前記ヒートシール層表面の少なくとも一部に設けられており、
前記アンテナ層が設けられた領域全体を覆う接着性樹脂組成物または熱融着性樹脂組成物からなる層を有する熱可塑性樹脂フィルム。
[3] 基材層、ヒートシール層及びアンテナ層が順次積層されてなり、
前記アンテナ層は、前記ヒートシール層表面の少なくとも一部に設けられており、
前記アンテナ層及び前記ヒートシール層の表面全体を覆う接着性樹脂組成物または熱融着性樹脂組成物からなる層を有する熱可塑性樹脂フィルム。
[4] 基材層、アンテナ層及びヒートシール層が順次積層されてなり、
前記アンテナ層は、前記基材層表面の少なくとも一部に設けられており、
前記ヒートシール層は、前記基材層の前記アンテナ層形成側表面全体を覆う層である、熱可塑性樹脂フィルム。
[5] 前記アンテナ層はICチップを含む、[1]~[4]のいずれかに記載の熱可塑性樹脂フィルム。
[6] 前記アンテナ層に含まれるアンテナ配線が金属箔からなる、[1]~[4]のいずれかに記載の熱可塑性樹脂フィルム。
[7] 前記アンテナ層に含まれるアンテナ配線がスパッタリング法または蒸着法にて形成されたものである、[1]~[4]のいずれかに記載の熱可塑性樹脂フィルム。
[8] 前記アンテナ層に含まれるアンテナ配線が導電インキを用いた印刷法にて形成されたものである、[1]~[4]のいずれかに記載の熱可塑性樹脂フィルム。
[9] 前記基材層の、ヒートシール層またはアンテナ層を有する側とは反対側表面に、印刷層または印刷受容層を有する、[1]~[8]のいずれかに記載の熱可塑性樹脂フィルム。
[10] [1]~[9]のいずれかに記載された熱可塑性樹脂フィルムを用いて形成されたラベル。
【発明の効果】
【0010】
本発明によれば、RFIDインモールドラベル(インモールドラベル型RFIDタグ)の製造に適した熱可塑性樹脂フィルムを提供することができる。本発明の熱可塑性樹脂フィルムを用いて作製されたRFIDインモールドラベルは、成形体への接着強度の低下やブリスター発生が抑制され、優れた外観を有し、非接触ICタグとして、商品の管理や物流管理等に利用可能である。
【図面の簡単な説明】
(【0011】以降は省略されています)
この特許をJ-PlatPat(特許庁公式サイト)で参照する
関連特許
個人
教育のAI化
18日前
個人
英語教材
1か月前
個人
回転式カード学習具
2か月前
日本精機株式会社
表示装置
2か月前
個人
時刻表示機能つき手帳
3か月前
日本精機株式会社
表示装置
21日前
日本精機株式会社
表示装置
3か月前
個人
計算用教具
1か月前
中国電力株式会社
標示旗
2か月前
日本精機株式会社
車両用表示装置
3か月前
日本精機株式会社
車両用表示装置
3か月前
日本精機株式会社
車両用表示装置
27日前
日本精機株式会社
車両用表示装置
3か月前
個人
インフィニティミラー
19日前
日本精機株式会社
車両用センサ装置
1か月前
個人
微細構造を模した理科学習教材
1か月前
個人
モデルで薔薇の花嫁様を描く為
2か月前
トヨタ自動車株式会社
評価方法
4か月前
日榮新化株式会社
対象物質感知シート
18日前
ニチレイマグネット株式会社
サイン器具
1か月前
株式会社一弘社
情報表示板
2か月前
シャープ株式会社
表示装置
2か月前
株式会社ウメラボ
学習支援システム
1か月前
株式会社ウメラボ
学習支援システム
1か月前
個人
音楽教材
3か月前
ニチレイマグネット株式会社
磁着式電飾装置
2か月前
朝日インテック株式会社
ラベルシート
1か月前
日本精機株式会社
表示装置及びその製造方法
21日前
株式会社半導体エネルギー研究所
半導体装置
3か月前
株式会社イリオスNOTO
シート保管具
1か月前
リンテック株式会社
表示体
1か月前
朝日インテック株式会社
生体モデル装置
21日前
シャープ株式会社
表示装置
1か月前
株式会社リコー
画像投射システム
2か月前
学校法人関西医科大学
腹腔鏡手術訓練装置
2か月前
BEST株式会社
吊り下げ表示部材
3か月前
続きを見る
他の特許を見る