TOP
|
特許
|
意匠
|
商標
特許ウォッチ
Twitter
他の特許を見る
10個以上の画像は省略されています。
公開番号
2025171826
公報種別
公開特許公報(A)
公開日
2025-11-20
出願番号
2024077529
出願日
2024-05-10
発明の名称
サンシェード装置
出願人
マザーサンヤチヨ・オートモーティブシステムズ株式会社
代理人
弁理士法人大島特許事務所
主分類
B60J
7/00 20060101AFI20251113BHJP(車両一般)
要約
【課題】シェードシートに巻取りシワが発生することを抑制する。
【解決手段】サンシェード装置1は、シェードシート3と、シェードシート3の両側縁3Aに沿って設けられる左右の案内帯4と、左右の案内帯4をその長手方向にガイドする左右のガイドレール5と、左右のガイドレール5を連結するクロスメンバ6と、クロスメンバ6に支持され、シェードシート3を巻き取る巻取軸7と、左右のガイドレール5と巻取軸7との間でクロスメンバ6に取り付けられ、左右の案内帯4をガイドする左右の第1ガイドブロック8と、を備えている。
【選択図】図5
特許請求の範囲
【請求項1】
シェードシートと、
前記シェードシートの両側縁に沿って設けられる左右の案内帯と、
前記左右の案内帯をその長手方向にガイドする左右のガイドレールと、
前記左右のガイドレールを連結するクロスメンバと、
前記左右のガイドレールから離間した位置で前記クロスメンバに支持され、前記シェードシートを巻き取る巻取軸と、
前記左右のガイドレールと前記巻取軸との間で前記クロスメンバに取り付けられ、前記左右の案内帯をガイドする左右の第1ガイドブロックと、を備えているサンシェード装置。
続きを表示(約 960 文字)
【請求項2】
前記クロスメンバは、矩形の輪郭形状を有する係合孔を備え、
前記各第1ガイドブロックは、矩形の断面形状を有する係合部を備え、
前記各第1ガイドブロックが前記クロスメンバに取り付けられた状態で、前記係合部が前記係合孔に係合する請求項1に記載のサンシェード装置。
【請求項3】
前記係合孔の外縁部には、前記クロスメンバに対する前記各第1ガイドブロックの取り付けの向きを規定するための凸部が設けられ、
前記係合部の外面には、前記凸部と対応する位置に突起部が設けられ、
前記各第1ガイドブロックが前記クロスメンバに取り付けられた状態で、前記突起部が前記凸部に係合する請求項2に記載のサンシェード装置。
【請求項4】
前記係合部は、弾性変形可能なフックを備え、
前記各第1ガイドブロックが前記クロスメンバに取り付けられた状態で、前記フックが前記クロスメンバに係合することで、前記クロスメンバからの前記各第1ガイドブロックの取り外しが規制される請求項2に記載のサンシェード装置。
【請求項5】
前記各第1ガイドブロックは、前記ガイドレールから離間した位置に設けられている請求項1~4のいずれか1項に記載のサンシェード装置。
【請求項6】
平面視において、前記各第1ガイドブロックと前記巻取軸との間の距離は、前記各第1ガイドブロックと前記ガイドレールとの間の距離よりも短い請求項5に記載のサンシェード装置。
【請求項7】
前記左右のガイドレールの前記巻取軸側の端部に接続され、前記案内帯をガイドする左右の第2ガイドブロックを更に備えている請求項1~4のいずれか1項に記載のサンシェード装置。
【請求項8】
前記各第1ガイドブロックには、前記案内帯が係合する第1ガイド溝が設けられ、
前記各第2ガイドブロックには、前記案内帯が係合する第2ガイド溝が設けられ、
前記案内帯のうちの前記第2ガイド溝に係合している部分の水平方向に対する角度は、前記案内帯のうちの前記第1ガイド溝に係合している部分の水平方向に対する角度とは異なっている請求項7に記載のサンシェード装置。
発明の詳細な説明
【技術分野】
【0001】
本発明は、サンシェード装置に関する。
続きを表示(約 1,300 文字)
【背景技術】
【0002】
従来、一対のシェードガイドレールと、一対のシェードガイドレールにガイドされることで室内開口を開閉するシェードと、シェードを巻き取る巻取りシャフトと、一対のシェードガイドレールの端部に取り付けられる一対の多機能ストッパーと、を有するサンシェード装置が知られている(特許文献1参照)。
【先行技術文献】
【特許文献】
【0003】
特開2012-91649号公報
【発明の概要】
【発明が解決しようとする課題】
【0004】
上記の従来技術において、各シェードガイドレールの端部近傍では、多機能ストッパーによってシェードの側縁がガイドされている。一方で、各シェードガイドレールと巻取りシャフトとの間では、シェードの側縁が何らガイドされていない。そのため、シェードが巻取りシャフトに巻き取られる際に、シェードの側縁が左右方向に移動することで、シェードに巻取りシワが発生する虞がある。
【0005】
本発明は、以上の背景に鑑み、シェードシートに巻取りシワが発生することを抑制可能なサンシェード装置を提供することを課題とする。
【課題を解決するための手段】
【0006】
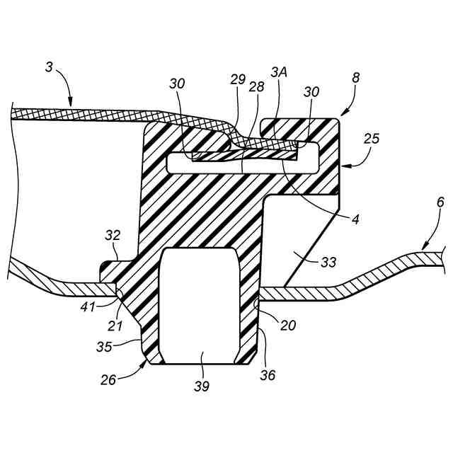
上記課題を解決するために本発明のある態様は、サンシェード装置(1)であって、シェードシート(3)と、前記シェードシートの両側縁(3A)に沿って設けられる左右の案内帯(4)と、前記左右の案内帯をその長手方向にガイドする左右のガイドレール(5)と、前記左右のガイドレールを連結するクロスメンバ(6)と、前記左右のガイドレールから離間した位置で前記クロスメンバに支持され、前記シェードシートを巻き取る巻取軸(7)と、前記左右のガイドレールと前記巻取軸との間で前記クロスメンバに取り付けられ、前記左右の案内帯をガイドする左右の第1ガイドブロック(8)と、を備えている。
【0007】
この態様によれば、各ガイドレールと巻取軸との間において、第1ガイドブロックによって案内帯をガイドすることができる。これにより、案内帯の左右方向の移動を規制し、シェードシートに巻取りシワが発生することを抑制できる。
【0008】
上記の態様において、前記クロスメンバは、矩形の輪郭形状を有する係合孔(20)を備え、前記各第1ガイドブロックは、矩形の断面形状を有する係合部(26)を備え、前記各第1ガイドブロックが前記クロスメンバに取り付けられた状態で、前記係合部が前記係合孔に係合しても良い。
【0009】
この態様によれば、簡易な構成によって、クロスメンバに対する各第1ガイドブロックの回転を抑制することができる。
【0010】
上記の態様において、前記係合孔の外縁部には、前記クロスメンバに対する前記各第1ガイドブロックの取り付けの向きを規定するための凸部(21)が設けられ、前記係合部の外面には、前記凸部と対応する位置に突起部(41)が設けられ、前記各第1ガイドブロックが前記クロスメンバに取り付けられた状態で、前記突起部が前記凸部に係合しても良い。
(【0011】以降は省略されています)
この特許をJ-PlatPat(特許庁公式サイト)で参照する
関連特許
個人
カーテント
5か月前
個人
タイヤレバー
3か月前
個人
前輪キャスター
3か月前
個人
上部一体型自動車
1か月前
個人
ルーフ付きトライク
3か月前
個人
ホイルのボルト締結
4か月前
個人
空間形成装置
25日前
個人
タイヤ脱落防止構造
2か月前
個人
車輪清掃装置
5か月前
個人
キャンピングトライク
5か月前
個人
マスタシリンダ
1か月前
日本精機株式会社
表示装置
3か月前
日本精機株式会社
表示装置
3か月前
日本精機株式会社
表示装置
3か月前
日本精機株式会社
表示装置
3か月前
日本精機株式会社
照明装置
20日前
井関農機株式会社
作業車両
5か月前
井関農機株式会社
作業車両
5か月前
個人
車両通過構造物
3か月前
個人
アクセルのソフトウェア
5か月前
個人
キャンピングトレーラー
5か月前
個人
常設収納型サンバイザー
1か月前
個人
ワイパーゴム性能保持具
6か月前
個人
乗合路線バスの客室装置
4か月前
個人
車両用スリップ防止装置
5か月前
日本精機株式会社
車載表示装置
28日前
個人
車載小物入れ兼雨傘収納具
4か月前
株式会社ニフコ
保持装置
4か月前
日本精機株式会社
車載表示装置
26日前
株式会社豊田自動織機
産業車両
20日前
個人
音声ガイド、音声サービス
4か月前
日本精機株式会社
車室演出装置
2か月前
個人
円湾曲ホイール及び球体輪
4か月前
日本精機株式会社
車載表示装置
2か月前
株式会社豊田自動織機
産業車両
3か月前
日本精機株式会社
車載表示装置
1か月前
続きを見る
他の特許を見る