TOP
|
特許
|
意匠
|
商標
特許ウォッチ
Twitter
他の特許を見る
公開番号
2025171583
公報種別
公開特許公報(A)
公開日
2025-11-20
出願番号
2024077076
出願日
2024-05-10
発明の名称
玩具花火
出願人
株式会社井上
代理人
個人
,
個人
主分類
F42B
4/20 20060101AFI20251113BHJP(弾薬;爆破)
要約
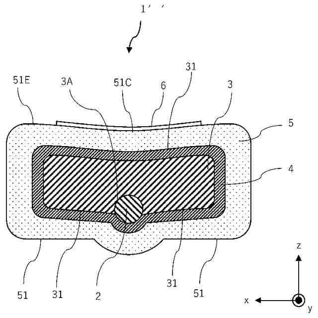
【課題】文字や図柄などのより細やかな装飾を施した玩具花火を提供する。
【解決手段】少なくとも一部が露出している火薬部5と、露出している前記火薬部5の領域における一部に施された装飾部6と、を備え、前記装飾部6は前記火薬部5と異なる材料で形成されている、玩具花火。長尺状の軸部2と、前記軸部2と接続された造形部と、をさらに備え、前記造形部は略平面領域を含み、前記火薬部5は前記造形部の前記略平面領域を覆う略平面の第1面を含み、前記第1面は露出しており、前記装飾部6は前記第1面の一部に施されている、玩具花火。
【選択図】図1
特許請求の範囲
【請求項1】
少なくとも一部が露出している火薬部と、
露出している前記火薬部の領域における一部に施された装飾部と、を備え、
前記装飾部は前記火薬部と異なる材料で形成されている、
玩具花火。
続きを表示(約 570 文字)
【請求項2】
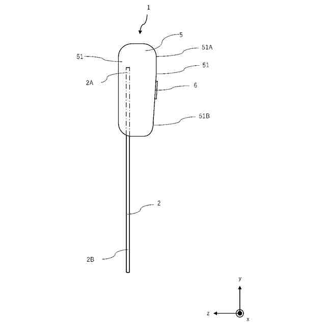
長尺状の軸部と、
前記軸部と接続された造形部と、をさらに備え、
前記造形部は略平面領域を含み、
前記火薬部は前記造形部の前記略平面領域を覆う略平面の第1面を含み、
前記第1面は露出しており、
前記装飾部は前記第1面の一部に施されている、
請求項1に記載の玩具花火。
【請求項3】
前記造形部は前記軸部の一方の端部である第1端部に接続されており、
前記第1面は前記軸部が延びる軸方向と略直交する第1方向を臨む面であり、
前記装飾部が施された前記第1面が、前記第1端部の側が高く、前記軸部の他方の端部である第2端部の側が低く、なるように傾斜している、
請求項2に記載の玩具花火。
【請求項4】
任意の断面における、前記装飾部が施された前記第1面の中央部は両縁部より凹んでおり、
前記装飾部は少なくとも前記中央部に施されている、
請求項2に記載の玩具花火。
【請求項5】
前記装飾部は蓄光剤を含む材料で形成されている、
請求項1に記載の玩具花火。
【請求項6】
前記装飾部は、前記火薬部のうちの着火を促す位置を指し示す形状である、
請求項1に記載の玩具花火。
発明の詳細な説明
【技術分野】
【0001】
本発明は、玩具花火に関する。
続きを表示(約 1,000 文字)
【背景技術】
【0002】
本技術分野の背景技術として特許第7277683号公報(特許文献1)がある。この公報には「所望の形状を有する造形部3の外表面に中間部4及び火薬部5を設けることで、火薬部5の燃焼時(使用時)及び燃焼前(使用前)の見映えが向上する。」ことが記載されている。
【先行技術文献】
【特許文献】
【0003】
特許第7277683号公報
【発明の概要】
【発明が解決しようとする課題】
【0004】
玩具花火の造形部における表面の装飾は火薬部のみによって施されており、文字や図柄などのより細やかな装飾を施せないおそれがある。
【課題を解決するための手段】
【0005】
少なくとも一部が露出している火薬部と、
露出している前記火薬部の領域における一部に施された装飾部と、を備え、
前記装飾部は前記火薬部と異なる材料で形成されている、
玩具花火。
【0006】
長尺状の軸部と、
前記軸部と接続された造形部と、をさらに備え、
前記造形部は略平面領域を含み、
前記火薬部は前記造形部の前記略平面領域を覆う略平面の第1面を含み、
前記第1面は露出しており、
前記装飾部は前記第1面の一部に施されている、
玩具花火。
【0007】
前記造形部は前記軸部の一方の端部である第1端部に接続されており、
前記第1面は前記軸部が延びる軸方向と略直交する第1方向を臨む面であり、
前記装飾部が施された前記第1面が、前記第1端部の側が高く、前記軸部の他方の端部である第2端部の側が低く、なるように傾斜している、
玩具花火。
【0008】
任意の断面における、前記装飾部が施された前記第1面の中央部は両縁部より凹んでおり、
前記装飾部は少なくとも前記中央部に施されている、
玩具花火。
【0009】
前記装飾部は蓄光剤を含む材料で形成されている、
玩具花火。
【0010】
前記装飾部は、前記火薬部のうちの着火を促す位置を指し示す略矢印形状である、
玩具花火。
【発明の効果】
(【0011】以降は省略されています)
この特許をJ-PlatPat(特許庁公式サイト)で参照する
関連特許
株式会社井上
玩具花火
2日前
国立研究開発法人産業技術総合研究所
酸化型補酵素F420の調製方法、還元型補酵素F420の調製方法及び補酵素F420測定用バイオセンサ
11か月前
株式会社井上
玩具花火
2日前
三菱電機株式会社
飛しょう体
6か月前
三菱電機株式会社
飛しょう体
3か月前
旭精機工業株式会社
薬莢
1か月前
戸田建設株式会社
含水爆薬の密度の測定装置及び測定方法
9か月前
UBE三菱セメント株式会社
発破準備方法及び発破方法
5か月前
株式会社熊谷組
無線起爆雷管を備えた爆薬の装填方法、及び、爆薬装填具
10か月前
株式会社東芝
サイドスラスタシステム、および飛しょう体
3か月前
日油株式会社
無線起爆雷管および無線起爆雷管用アンテナ
1か月前
戸田建設株式会社
爆薬の自動装填装置及びこれを備えた自動装填システム並びに自動装填方法
2か月前
株式会社熊谷組
爆薬の装填位置の検出方法、爆薬の装填位置の検出装置、爆薬装填方法、及び、爆薬装填装置
11か月前
ケビン クレメヤー
高速適用例を容易にする指向性エネルギー堆積
5か月前
ダビデ、コーエン
装薬および装薬を備えた砲弾
4か月前
ダビデ、コーエン
装薬および装薬を備えた砲弾
6か月前
ダイノ ノベル インコーポレイテッド
個別要素岩石発破移動方法、装置、及びシステム
10日前
ダイノ ノベル インコーポレイテッド
個別要素岩石発破移動方法、装置、及びシステム
10日前
キュージーン インコーポレイテッド
がんの治療ための新規インターロイキン-2バリアント
7か月前
株式会社デンソー
電子装置
9か月前
シンソークス, インコーポレイテッド
IL-2コンジュゲートおよびその使用方法
7か月前
サイティム セラピューティクス, インコーポレイテッド
改変インターロイキン2(IL-2)ポリペプチド、コンジュゲート及びそれらの使用
9か月前
キュー バイオファーマ, インコーポレイテッド
多量体T細胞調節性ポリペプチド及びその使用方法
3か月前
個人
核変換システム
11か月前
パナソニックオートモーティブシステムズ株式会社
信号制御装置、ソナーシステム、及び車両
11か月前
ジェンマブ エー/エス
PD-L1に対する抗体
5か月前
シンセカイン インコーポレイテッド
IL-2オルソログおよび使用法
4か月前
株式会社東芝
差動伝送回路
2か月前
ギリアード サイエンシーズ, インコーポレイテッド
インターロイキン-2-Fc融合タンパク質及び使用する方法
11か月前
ギリアード サイエンシーズ, インコーポレイテッド
インターロイキン-2-Fc融合タンパク質及び使用する方法
9か月前
ギリアード サイエンシーズ, インコーポレイテッド
インターロイキン-2-Fc融合タンパク質及び使用する方法
5か月前
プロヴィヴァ セラピューティクス (ホン コン) リミテッド
IL-2組成物およびその使用方法
6か月前
セイコーエプソン株式会社
成形管理システム
2か月前
ビーム セラピューティクス インク.
B型肝炎を治療するための組成物及び方法
4か月前
セイコーエプソン株式会社
成形管理システム
2か月前
株式会社Things
プログラム、管理方法、および管理装置
1か月前
続きを見る
他の特許を見る