TOP
|
特許
|
意匠
|
商標
特許ウォッチ
Twitter
他の特許を見る
公開番号
2025169293
公報種別
公開特許公報(A)
公開日
2025-11-12
出願番号
2025129885,2022570406
出願日
2025-08-04,2021-05-20
発明の名称
個別要素岩石発破移動方法、装置、及びシステム
出願人
ダイノ ノベル インコーポレイテッド
,
DYNO NOBEL INC.
代理人
個人
,
個人
,
個人
主分類
F42D
1/02 20060101AFI20251105BHJP(弾薬;爆破)
要約
【課題】発破計画を設計する方法、システム、及び装置を提供する。
【解決手段】発破モデリングシステムは、発破入力データに基づいて現場モデルを生成し得る。発破入力データは、発破孔データ、ベンチ上方、及び知識入力データを含み得る。現場モデルは、岩石質量を表す複数の別個の要素を含み得る。各要素は、1つ又は複数の線の端点が弧を介して間接的に結合されるように、1つ又は複数の線の端点を結ぶことによって形成される幾何学的輪郭を有し得る。発破モデリングシステムは、複数の要素を使用して発破をシミュレートし得る。
【選択図】図1
特許請求の範囲
【請求項1】
爆砕モデリングの方法であって、
発破孔データ及び発破現場データを含む発破計画を受信することと、
前記発破計画に基づいて現場モデルを生成することであって、前記現場モデルは複数の要素を含み、
各要素は、1つ又は複数の線の端点が弧によって間接的に結合されるように、前記弧を用いて前記1つ又は複数の線の前記端点を結ぶことによって形成される形状を有する、生成することと、
前記現場モデル及び前記複数の要素を使用して発破をシミュレートすることと、
を含む、方法。
続きを表示(約 1,000 文字)
【請求項2】
対応する要素の移動、前記対応する要素の回転、及び前記対応する要素の衝突に基づいて、各弧の半径は増大し、前記1つ又は複数の線の各々の長さは減少する、請求項1に記載の方法。
【請求項3】
前記発破をシミュレートすることは、近隣要素間の接触を検出することを含み、接触を検出することは、
前記近隣要素間の弧-弧接触を検出することと、
前記近隣要素間の弧-線接触を検出することと、
を含む、請求項1に記載の方法。
【請求項4】
前記近隣要素間の前記弧-弧接触を検出することは、前記近隣要素の2つの弧の弧中心点間の距離を前記近隣要素の前記2つの弧の半径の和と比較することを含み、前記和が前記距離よりも大きい場合、接触が検出される、請求項3に記載の方法。
【請求項5】
前記近隣要素間の前記弧-線接触を検出することは、第1の要素の線と第2の要素の弧の弧中心との間の距離を前記第2の要素の前記弧の半径と比較することを含み、前記半径が前記距離よりも大きい場合、接触が検出される、請求項3に記載の方法。
【請求項6】
前記発破をシミュレートすることは、近隣要素に接触することによって各要素に付与される力を計算することを含み、前記力は、接触重複に基づいて計算され、弧中心点に適用される、請求項1に記載の方法。
【請求項7】
各要素の前記形状は、角が丸められた多角形である、請求項1に記載の方法。
【請求項8】
前記要素の少なくとも幾つかは異なる形状である、請求項7に記載の方法。
【請求項9】
前記要素の同じ形状の少なくとも幾つかは異なるサイズである、請求項7に記載の方法。
【請求項10】
前記発破をシミュレートすることは、反復的に時間を進む時間ステップシミュレーションを含み、前記シミュレーションの各時間ステップにおいて、前記方法は、
弧-弧接触及び弧-線接触について前記現場モデルをサーチすることと、
前記弧-弧接触及び前記弧-線接触から生じる力を特定することと、
各要素のモーメントを特定することと、
各要素の前記モーメントと前記力とを合算することと、
総力及び総モーメントに基づいて各要素を新しい位置に移動させることであって、前記新しい位置は次の時間ステップ中、使用される、移動させることと、
を更に含む、請求項1に記載の方法。
(【請求項11】以降は省略されています)
発明の詳細な説明
【技術分野】
【0001】
関連出願
本願は、2021年5月19日付で出願された「DISTINCT ELEMENT ROCK BLASTING MOVEMENT METHODS,APPARATUSES,AND SYSTEMS」と題する米国特許出願第17/324,704号明細書、2020年12月11日付けで出願された「DISTINCT ELEMENT ROCK BLASTING MOVEMENT METHODS,APPARATUSES,AND SYSTEMS」と題する米国仮特許出願第63/124,412号明細書、及び2020年5月21日付けで出願された「DISTINCT ELEMENT ROCK BLASTING MOVEMENT METHODS,APPARATUSES,AND SYSTEMS」と題する米国仮特許出願第63/028,345号明細書への優先権を主張するものであり、上記出願の内容は全体的に参照により本明細書に援用される。
続きを表示(約 2,900 文字)
【0002】
本開示は、一般的には爆薬に関する。より具体的には、本開示は、発破計画を設計する方法、システム、及び装置に関する。
【背景技術】
【0003】
任意の特定の要素又は動作の論考を容易に識別するために、参照番号の1つ又は複数の最上位桁は、その要素が最初に導入された図番を指す。
【図面の簡単な説明】
【0004】
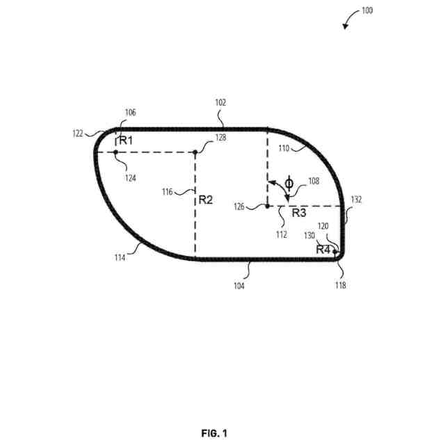
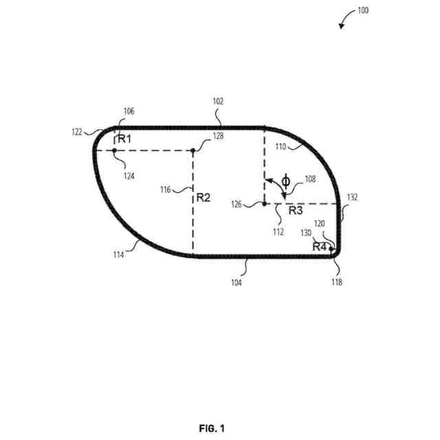
一実施形態による発破シミュレーションの高度個別要素を示す。
一実施形態による、近隣要素の弧間の接触を特定するためにモデリングシステムによって使用し得る弧-弧接触検出技法を示す。
一実施形態による弧-線接触検出技法を示す。
一実施形態による弧-線接触検出技法を使用して線-線接触を検出する方法を示す。
一実施形態による、要素に接触することによって高度個別要素に付与される力を特定するためにモデリングシステムが使用し得る力計算を示す。
一実施形態による、要素に接触することによって高度個別要素に付与されるモーメントを特定するモーメント計算を示す。
一実施形態による爆砕モデリングの方法のフローチャートを示す。
一実施形態による使用して発破をシミュレートする方法のフローチャートを示す。
一実施形態によりモデリングシステムが受信し得る入力ファイルのパラメータを示す。
一実施形態による地質入力データを示す。
一実施形態による複数のゾーンに分割された発破モデルを示す。
一実施形態による部分的に断片化された発破モデルを示す。
一実施形態による部分的に断片化された発破モデルを示す。
一実施形態による発破ピットを示す。
一実施形態によるカスタム発破モデルを示す。
一実施形態による発破パターンの上面図を示す。
一実施形態によるサブ掘削発破孔を有する発破モデルを示す。
一実施形態による発破モデルに地質傾斜を導入する回転手順を示す。
一実施形態による発破モデルにおける個別モデリング要素の負荷解放のタイミング。
一実施形態による緩衝発破又はチョーク発破のシミュレーションモデルを示す。
一実施形態による発破をシミュレートするためのモデルを作成する方法のフローチャートを示す。
一実施形態による項目を示す。
発破シミュレーション中の要素の形状を変更する手順を示す。
本明細書に記載のモデリングシステム及び方法によって使用し得る2つの円形要素を示す。
本明細書に記載のモデリングシステム及び方法によって要素として使用し得る3つの潜在的な三次元形状を示す。
【発明を実施するための形態】
【0005】
爆薬は、岩石及び鉱石を破砕するために鉱業、採石業、及び採掘業で一般に使用されている。一般に、「発破孔」と呼ばれる孔が地面等の表面に穿孔される。次いで爆薬を発破孔内に配置し得る。典型的には、大量の岩石及び鉱石を破砕するために複数の発破孔が使用される。複数の発破孔の使用は、発破計画に複雑性を導入する。例えば、発破は、発破孔間隔、発破孔負荷、発破孔深さ、発破孔パターン、発破孔数、地質的性質、爆薬のタイプ、爆薬の量、及び発破孔開始時間を含め、複数のファクタに基づいて様々であり得る。可能性の数により、熟練した発破エンジニアであっても発破計画が難しくなる。
【0006】
モデリングシステムによって実行される発破シミュレーションを使用して、発破の結果を予測し得る。モデリングシステムは発破をシミュレートして、岩石の移動及び発破誘導ヒーブを予測する。発破モデリングシステムを使用して、発破発生後の最終的なマックパイル中の鉱石の場所を特定し、ズリ鉱石廃棄物の鉱石管理及びズリ鉱石と標的鉱石との混合の最小化を支援することができる。
【0007】
幾つかの発破モデリングシステムは、個別要素を使用して発破をシミュレートする。個別要素モデリングシステムは、発破現場を表す要素の集合を生成し、要素の経時移動を追跡して、発破をシミュレートする。個別要素の移動は、集合に付与される力及び通常、重力によっても生じる。
【0008】
岩石を表すのに円形要素を使用する幾つかのモデリングシステム。爆薬負荷及び重量に起因して経時移動する二次元円形要素の集団を使用して、発破をシミュレートし得る。円は、2つの円の中心間距離を円の半径の和と比較することによって粒子間接触を特定することができるため、非常に計算効率的であることができる。しかしながら、円形要素は岩石質量を簡易化しすぎ、シミュレーションの正確性の低下を生じさせる。例えば、円形要素は、要素間に摩擦を生成せず、又は不均等な岩石質量が相互作用するような方法と同じようには互いと相互作用しない。球形個別要素と関連する別の問題は、アスペクト比を持たず、したがって、球形個別要素の集団におけるバルキング又は孔隙発生の予測が制限されることである。したがって、円形要素は、発破後の最終マックパイルにおいて生じ得るバルキングを正確に表すことができない。
【0009】
幾つかのモデリングシステムは、四辺形要素又は三角形要素等の直線辺個別要素を採用して、岩石質量を表す。直線辺個別要素は、一連の線が互いに接続されて、角度の付いた角のセットを有する形状の輪郭を形成する。直線辺要素を使用するシステムは、円形要素を使用するシステムよりも正確なシミュレーションを提供する。例えば、直線辺個別要素は、円形要素と異なり、アスペクト比を有することができる。しかしながら、直線辺要素間の接触(例えば第1の要素の角と第2の要素の辺との間の接触、第1の要素の角と第2の要素の辺との間の接触、及び第1の要素の辺と第2の要素の辺との間の接触)の検出は
、非常に複雑であり、計算集約的なプロセスである。さらに、これらのタイプの個別要素を使用するシミュレーションは、球形要素を採用するシミュレーションよりも計算に数桁多くの計算時間を必要とする。さらに、直線辺要素は剛性すぎ、巨体すぎて、岩石の流れ挙動をあまりよく表さない。
【0010】
本明細書に記載されるのは、発破された岩石の移動を表す、高度ジオメトリックパラダイムを有する個別要素を使用して発破をシミュレートする実施形態である。高度個別要素は幾何学的に、個々の個別要素の輪郭を定義する弧及び線を含む。各線は、線が交わらないように弧を介して接続される。その代わり、弧及び線は1つ又は複数の直線辺を有し、角が丸められた二次元個別要素を作成するのに使用される。丸められた角は1つ又は複数の弧を用いて形成し得る。これらの高度個別要素は、円形要素と比較した場合、シミュレーションの正確性を改善するとともに、直線辺個別要素よりも高い計算効率を有する。
(【0011】以降は省略されています)
この特許をJ-PlatPat(特許庁公式サイト)で参照する
関連特許
国立研究開発法人産業技術総合研究所
酸化型補酵素F420の調製方法、還元型補酵素F420の調製方法及び補酵素F420測定用バイオセンサ
11か月前
株式会社井上
玩具花火
2日前
三菱電機株式会社
飛しょう体
6か月前
三菱電機株式会社
飛しょう体
3か月前
旭精機工業株式会社
薬莢
1か月前
戸田建設株式会社
含水爆薬の密度の測定装置及び測定方法
9か月前
UBE三菱セメント株式会社
発破準備方法及び発破方法
5か月前
株式会社熊谷組
無線起爆雷管を備えた爆薬の装填方法、及び、爆薬装填具
10か月前
株式会社東芝
サイドスラスタシステム、および飛しょう体
3か月前
日油株式会社
無線起爆雷管および無線起爆雷管用アンテナ
1か月前
戸田建設株式会社
爆薬の自動装填装置及びこれを備えた自動装填システム並びに自動装填方法
2か月前
株式会社熊谷組
爆薬の装填位置の検出方法、爆薬の装填位置の検出装置、爆薬装填方法、及び、爆薬装填装置
11か月前
ケビン クレメヤー
高速適用例を容易にする指向性エネルギー堆積
5か月前
ダビデ、コーエン
装薬および装薬を備えた砲弾
4か月前
ダビデ、コーエン
装薬および装薬を備えた砲弾
6か月前
ダイノ ノベル インコーポレイテッド
個別要素岩石発破移動方法、装置、及びシステム
10日前
ダイノ ノベル インコーポレイテッド
個別要素岩石発破移動方法、装置、及びシステム
10日前
キュージーン インコーポレイテッド
がんの治療ための新規インターロイキン-2バリアント
7か月前
株式会社デンソー
電子装置
9か月前
シンソークス, インコーポレイテッド
IL-2コンジュゲートおよびその使用方法
7か月前
サイティム セラピューティクス, インコーポレイテッド
改変インターロイキン2(IL-2)ポリペプチド、コンジュゲート及びそれらの使用
9か月前
キュー バイオファーマ, インコーポレイテッド
多量体T細胞調節性ポリペプチド及びその使用方法
3か月前
個人
核変換システム
11か月前
パナソニックオートモーティブシステムズ株式会社
信号制御装置、ソナーシステム、及び車両
11か月前
ジェンマブ エー/エス
PD-L1に対する抗体
5か月前
シンセカイン インコーポレイテッド
IL-2オルソログおよび使用法
4か月前
株式会社東芝
差動伝送回路
2か月前
ギリアード サイエンシーズ, インコーポレイテッド
インターロイキン-2-Fc融合タンパク質及び使用する方法
11か月前
ギリアード サイエンシーズ, インコーポレイテッド
インターロイキン-2-Fc融合タンパク質及び使用する方法
9か月前
ギリアード サイエンシーズ, インコーポレイテッド
インターロイキン-2-Fc融合タンパク質及び使用する方法
5か月前
プロヴィヴァ セラピューティクス (ホン コン) リミテッド
IL-2組成物およびその使用方法
6か月前
セイコーエプソン株式会社
成形管理システム
2か月前
ビーム セラピューティクス インク.
B型肝炎を治療するための組成物及び方法
4か月前
セイコーエプソン株式会社
成形管理システム
2か月前
株式会社Things
プログラム、管理方法、および管理装置
1か月前
セイコーエプソン株式会社
成形管理システム
2か月前
続きを見る
他の特許を見る