TOP
|
特許
|
意匠
|
商標
特許ウォッチ
Twitter
他の特許を見る
公開番号
2025169827
公報種別
公開特許公報(A)
公開日
2025-11-14
出願番号
2024074998
出願日
2024-05-02
発明の名称
電動ブラインド装置
出願人
立川ブラインド工業株式会社
代理人
IAT弁理士法人
主分類
E06B
9/322 20060101AFI20251107BHJP(戸,窓,シャッタまたはローラブラインド一般;はしご)
要約
【課題】スラットおよびボトムレールを下降させる操作が簡便である電動ブラインド装置を提供することにある。
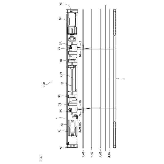
【解決手段】この発明は、ヘッドボックス1と、スラット4およびボトムレール8と、制御装置2および駆動装置3と、を備える。駆動装置3は、駆動軸11と、モーターMと、巻取りユニット3A、5bと、静止チルトユニット3B、5aと、を有する。制御装置2は、検出部20と、上限位置停止制御部21と、を有する。上限位置停止制御部21は、スラット4およびボトムレール8が上限位置に位置すると、モーターMの正回転を停止させて、モーターMを所定角度逆回転させて、スラット4およびボトムレール8の下降作動を準備する。この結果、この発明は、スラット4およびボトムレール8を下降させる操作が簡便である。
【選択図】図2
特許請求の範囲
【請求項1】
ヘッドボックスと、
前記ヘッドボックスから吊下支持されている複数段のスラットおよびボトムレールと、
前記ヘッドボックス内に収納されている制御装置および駆動装置と、
を備え、
前記駆動装置は、
駆動軸と、
前記駆動軸を正回転および逆回転させるモーターと、
前記駆動軸に設けられていて、前記駆動軸の正回転および逆回転により、前記スラットをチルトさせ、かつ、前記ボトムレールを昇降させる巻取りユニットと、
前記駆動軸に設けられていて、前記スラットのチルト時において、前記ボトムレールの昇降を静止させる静止チルトユニットと、
を有し、
前記静止チルトユニットは、
前記駆動軸上に直結される入力軸部材と、
前記入力軸部材の回転を所定の遅延量で連動回転する出力軸部材と、
を有し、
前記制御装置は、
前記スラットおよび前記ボトムレールが上昇して上限位置に位置した状態を検出して検出信号を出力する検出部と、
前記検出部からの前記検出信号により、前記スラットおよび前記ボトムレールを前記上限位置において停止させる上限位置停止制御部と、
を有し、
前記上限位置停止制御部は、
前記検出部からの前記検出信号が入力されると、前記スラットおよび前記ボトムレールを上昇させる前記モーターの正回転を停止させる第1制御と、
前記第1制御後に、前記モーターを、所定角度であって、前記スラットおよび前記ボトムレールが下降せずに前記上限位置に位置している状態を維持する、前記所定の遅延量逆回転させる第2制御と、
を有する、
ことを特徴とする電動ブラインド装置。
続きを表示(約 540 文字)
【請求項2】
前記検出部は、前記ヘッドボックスに配置されていて、最上位の前記スラットが上昇して当接すると、前記検出信号を出力するリミットスイッチである、
ことを特徴とする請求項1に記載の電動ブラインド装置。
【請求項3】
1つの前記駆動軸により前記スラットの昇降およびチルトの操作を可能とするコード支持装置の前記静止チルトユニットであって、
1つの前記駆動軸を回転軸中心としチルトドラムと巻取軸とをそれぞれ回転可能に支持する支持ケースの外方または内方に設置され、前記巻取軸が前記チルトドラムの回転に対し前記所定の遅延量で連動回転するよう構成され、
前記駆動軸上に直結される前記入力軸部材と、
前記入力軸部材の回転を前記所定の遅延量で連動回転するよう回転伝達する軸部を有し前記入力軸部材に対し所定の回転角度の遊びを持って係合する前記出力軸部材と、
前記入力軸部材からの回転伝達による回転以外の前記出力軸部材の回転を抑制する制動部材と、
前記入力軸部材、前記出力軸部材、および前記制動部材を収容するケース部材と、
を備える、
ことを特徴とする請求項1または2に記載の電動ブラインド装置。
発明の詳細な説明
【技術分野】
【0001】
この発明は、電動ブラインド装置に関する。詳しくは、この発明は、STSユニットであって、静止チルトユニットを備えた横型の電動ブラインド装置に関する。
続きを表示(約 1,800 文字)
【背景技術】
【0002】
静止チルトユニットを備えた横型のブラインド装置としては、以下の特許文献1に開示のものがある。
【0003】
特許文献1のブラインド装置は、ヘッドボックスと、ヘッドボックスから吊下支持されている複数段のスラットおよびボトムレールと、ヘッドボックス内に収納されている駆動軸、巻取りユニットおよび静止チルトユニットと、を備える。巻取りユニットは、駆動軸に設けられていて、駆動軸の手動正回転および手動逆回転により、スラットをチルトさせ、かつ、ボトムレールを昇降させる。静止チルトユニットは、駆動軸に設けられていて、スラットのチルト時において、ボトムレールの昇降を静止させる。すなわち、静止チルトユニットは、巻取りユニットのチルトドラムの回転に対し巻取りユニットの巻取軸の回転を遅延させる。
【0004】
この結果、特許文献1のブラインド装置は、静止チルトユニットの作動により、スラットをチルトさせている時であっても、ボトムレールを静止状態に維持することができるので、下限位置に位置するスラットと窓枠との間に隙間が形成されるのを防ぐことができる。
【先行技術文献】
【特許文献】
【0005】
特許第6998130号公報
【発明の概要】
【発明が解決しようとする課題】
【0006】
しかしながら、静止チルトユニットは、チルトドラムの回転に対し巻取軸の回転を遅延させるものである。このため、特許文献1のブラインド装置は、たとえば、手動により駆動軸を正回転させてスラットおよびボトムレールを上昇させて上限位置に位置させた後、手動により駆動軸を逆回転させてスラットおよびボトムレールを下降させる場合において、手動により駆動軸を逆回転させてチルトドラムを巻取軸の回転遅延分逆回転させる操作を行う必要がある。
【0007】
このように、特許文献1のブラインド装置は、上限位置に位置するスラットおよびボトムレールを下降させる場合、手動により駆動軸を逆回転させてチルトドラムを巻取軸の回転遅延分逆回転させる操作が必要であるから、スラットおよびボトムレールを下降させる操作が煩雑である。
【0008】
この発明が解決しようとする課題は、スラットおよびボトムレールを下降させる操作が簡便である電動ブラインド装置を提供することにある。
【課題を解決するための手段】
【0009】
この発明の第1の観点の電動ブラインド装置は、前記の課題を解決するために、ヘッドボックスと、前記ヘッドボックスから吊下支持されている複数段のスラットおよびボトムレールと、前記ヘッドボックス内に収納されている制御装置および駆動装置と、を備え、前記駆動装置は、駆動軸と、前記駆動軸を正回転および逆回転させるモーターと、前記駆動軸に設けられていて、前記駆動軸の正回転および逆回転により、前記スラットをチルトさせ、かつ、前記ボトムレールを昇降させる巻取りユニットと、前記駆動軸に設けられていて、前記スラットのチルト時において、前記ボトムレールの昇降を静止させる静止チルトユニットと、を有し、前記静止チルトユニットは、前記駆動軸上に直結される入力軸部材と、前記入力軸部材の回転を所定の遅延量で連動回転する出力軸部材と、を有し、前記制御装置は、前記スラットおよび前記ボトムレールが上昇して上限位置に位置した状態を検出して検出信号を出力する検出部と、前記検出部からの前記検出信号により、前記スラットおよび前記ボトムレールを前記上限位置において停止させる上限位置停止制御部と、を有し、前記上限位置停止制御部は、前記検出部からの前記検出信号が入力されると、前記スラットおよび前記ボトムレールを上昇させる前記モーターの正回転を停止させる第1制御と、前記第1制御後に、前記モーターを、所定角度であって、前記スラットおよび前記ボトムレールが下降せずに前記上限位置に位置している状態を維持する、前記所定の遅延量逆回転させる第2制御と、を有する、ことを特徴とする。
【0010】
この発明の電動ブラインド装置において、前記検出部は、前記ヘッドボックスに配置されていて、最上位の前記スラットが上昇して当接すると、前記検出信号を出力するリミットスイッチである、ことが好ましい。
(【0011】以降は省略されています)
この特許をJ-PlatPat(特許庁公式サイト)で参照する
関連特許
株式会社ナカオ
作業台
2か月前
中国電力株式会社
脚立
3か月前
株式会社ニチベイ
遮蔽装置
23日前
三協立山株式会社
開口部建材
16日前
三協立山株式会社
開口部装置
2か月前
三協立山株式会社
開口部装置
2か月前
三協立山株式会社
開口部装置
2か月前
三協立山株式会社
開口部装置
2か月前
三協立山株式会社
開口部装置
1か月前
三協立山株式会社
開口部装置
2か月前
三協立山株式会社
開口部建材
16日前
ミサワホーム株式会社
水切り材
2か月前
不二サッシ株式会社
引違いサッシ
2か月前
文化シヤッター株式会社
引戸装置
1か月前
文化シヤッター株式会社
止水装置
1か月前
豊田合成株式会社
調光装置
1か月前
不二サッシ株式会社
引違いサッシ
1か月前
豊田合成株式会社
調光装置
15日前
三協立山株式会社
サッシの製造方法
2か月前
株式会社LIXIL
太陽電池ガラス
1か月前
株式会社LIXIL
建具
1か月前
株式会社LIXIL
建具
1か月前
株式会社LIXIL
建具
1か月前
株式会社LIXIL
建具
1か月前
株式会社LIXIL
建具
1か月前
株式会社LIXIL
建具
1か月前
株式会社LIXIL
建具
1か月前
株式会社LIXIL
建具
1か月前
株式会社LIXIL
建具
3か月前
倉敷紡績株式会社
外構ユニット
1か月前
株式会社LIXIL
建具
3か月前
株式会社LIXIL
建具
2か月前
有限会社高橋土木
梯子固定装置
2日前
株式会社LIXIL
建具
2か月前
株式会社LIXIL
建具
2か月前
株式会社LIXIL
建具
3か月前
続きを見る
他の特許を見る