TOP
|
特許
|
意匠
|
商標
特許ウォッチ
Twitter
他の特許を見る
10個以上の画像は省略されています。
公開番号
2025169611
公報種別
公開特許公報(A)
公開日
2025-11-14
出願番号
2024074470
出願日
2024-05-01
発明の名称
三次元計測システム、三次元計測装置、及び三次元計測方法
出願人
株式会社日立製作所
代理人
青稜弁理士法人
主分類
G01B
11/25 20060101AFI20251107BHJP(測定;試験)
要約
【課題】移動カメラで対象物を撮影して精密な三次元計測を行う三次元計測システム。
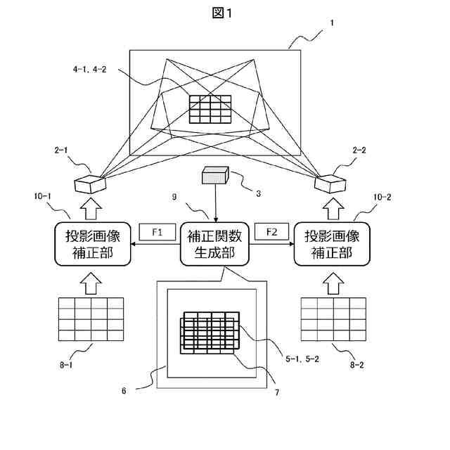
【解決手段】対象物1にパターン4-1、4-2を照射する第1及び第2のプロジェクタ2-1、2-2からなるパターン照射装置と、対象物とパターン照射装置の間に設けられ、対象物を移動しながら撮像する3Dスキャナ3とを用いる三次元計測システムであって、3Dスキャナの画角内に撮像されるパターンを、基準パターンに合わせる様に、第1のパターンにかけ合わせる補正関数F1と、第2のプロジェクタに入力される第2のパターンにかけ合わせる補正関数F2を生成する補正関数生成部と、第1のパターン・第2のパターンを補正する投影画像補正部を備え、補正された第1のパターンを第1のプロジェクタで、補正された第2のパターンを第2のプロジェクタで対象物上に投影し、第1のパターンと第2のパターンによる画像を重ねて対象物上に投影する、三次元計測システム。
【選択図】図1
特許請求の範囲
【請求項1】
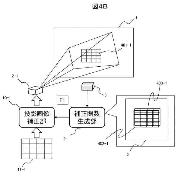
対象物にパターンを照射する互いに光軸の異なる第1及び第2のプロジェクタからなるパターン照射装置と、前記対象物と前記パターン照射装置の間に設けられ、前記対象物を移動しながら撮像する3Dスキャナとを用いる三次元計測システムであって、
前記3Dスキャナの画角内に撮像される前記パターンを、別途用意された基準パターンに合わせる様に、前記第1のプロジェクタに入力される第1のパターンにかけ合わせる補正関数F1と、前記第2のプロジェクタに入力される第2のパターンにかけ合わせる補正関数F2を生成する補正関数生成部と、
前記補正関数F1によって前記第1のパターンを補正し、前記補正関数F2によって前記第2のパターン補正する投影画像補正部を備え、
補正された前記第1のパターンを前記第1のプロジェクタで前記対象物上に投影し、補正された前記第2のパターンを前記第2のプロジェクタで前記対象物上に投影し、前記第1のパターンと前記第2のパターンによる画像を重ねて前記対象物上に投影する、
三次元計測システム。
続きを表示(約 880 文字)
【請求項2】
前記補正関数F1及び前記補正関数F2を生成するために、前記3Dスキャナの画角内に撮像される前記パターンとして専用の補正用パターンを用い、
前記3Dスキャナによる三次元計測の際には、前記補正用パターンとは別のパターンを前記対象物に照射するように切り替える、
請求項1記載の三次元計測システム。
【請求項3】
前記補正関数F1及び前記補正関数F2を生成するために、前記第1のプロジェクタから投影される画像の色と、前記第2のプロジェクタから投影される画像の色として異なる色を用いる、
請求項1記載の三次元計測システム。
【請求項4】
前記補正関数F1及び前記補正関数F2を生成するために、前記第1のプロジェクタから投影される画像の色と、前記第2のプロジェクタから投影される画像の色として補色関係にある色を用いる、
請求項3記載の三次元計測システム。
【請求項5】
前記補正用パターンが、同じ図形の繰り返しパターンを含む、
請求項2記載の三次元計測システム。
【請求項6】
前記繰り返しパターンが、方眼パターンである、
請求項5記載の三次元計測システム。
【請求項7】
前記繰り返しパターンが、同種の図形を等間隔に配置したパターンである、
請求項5記載の三次元計測システム。
【請求項8】
前記繰り返しパターンが、黒丸あるいはドットを等間隔に配置したパターンである、
請求項5記載の三次元計測システム。
【請求項9】
前記補正関数生成部は、前記第1のパターンおよび前記第2のパターンの少なくとも一つを用いて、前記基準パターンを生成する、
請求項1記載の三次元計測システム。
【請求項10】
前記別のパターンとして、ひらがなおよびアルファベットの少なくとも一つを用いる、
請求項2記載の三次元計測システム。
(【請求項11】以降は省略されています)
発明の詳細な説明
【技術分野】
【0001】
本発明は、三次元計測技術に関する。
続きを表示(約 1,400 文字)
【背景技術】
【0002】
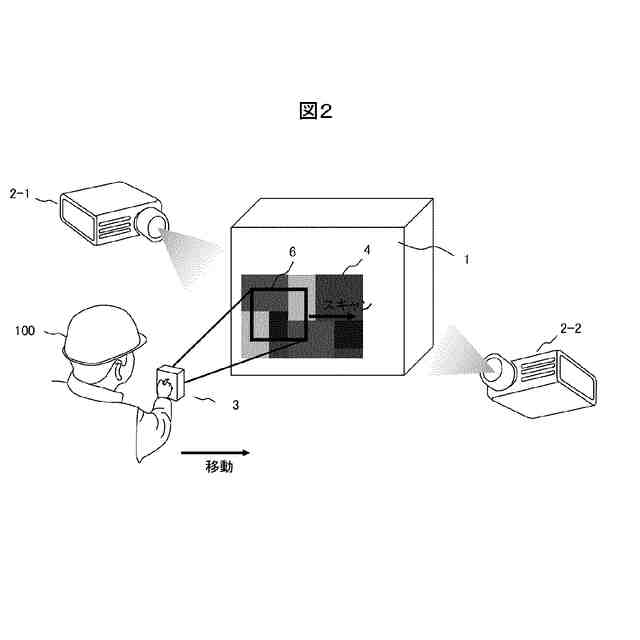
プラント建設、ビル建設、車両製造などにおいては、施工図面を施工現場に反映するために、現場で高精度に位置合わせすることが重要となる。
【0003】
そこで、光学カメラや赤外線カメラやToF(Time Of Flight)センサやLiDAR(Light Detection And Ranging)などの視覚センサ(以下、3Dスキャナと表現することもある)を移動しながら物体をスキャンし、3Dスキャナの移動量を逐次推定し、最終的に三次元物体の三次元モデルを生成する三次元計測が有効である。また、近年、様々なアングルから撮影した写真をパソコンで解析・統合するフォトグラメトリ技術では、対象物をいろいろな方向から撮影することが有効であることが知られている。
【0004】
しかし、スキャン中の撮影視野内に特徴的な模様や形状が無い場合、特徴的な点(以下、特徴点や、ランドマークと表現することもある)を抽出できないため、3Dスキャナ移動量の推定ができず、スキャンが失敗することがある。特に、プラント施工中には配管の様に表面が一様な形状のもの、壁や床面が一様な養生シート等で覆われていることがあり、壁や床面に特徴が無いことが多い。その結果、スキャンに失敗する可能性が高くなる。
【0005】
特許文献1では、被測定対象物表面に複数本のスリット光からなるスリットパタンと1本以上のストライプ状の光からなるストライプパタンとをそれぞれ投影するパターン投影手段でパターンを対象物に投影することで三次元計測している。
【0006】
特許文献2では2方向からプロジェクタによりパターンを対象物に投影して撮影することが紹介されている。
【0007】
特許文献3では、複数プロジェクタを用いて映像を投影する場合において、物体の影を容易に消すために、影の領域を特定して投影光を補正する制御装置が開示される。
【先行技術文献】
【特許文献】
【0008】
特開2005-003409号公報
特開2011-242183号公報
WO 2019/009100 A1
【発明の概要】
【発明が解決しようとする課題】
【0009】
測定対象物に特徴的な模様や形状が無い場合、特徴点を抽出できないが、パターンを対象物に照射することで、取得可能な特徴点を追加することができる。さらに3Dスキャナ(以下、カメラと表現することもある)を対象物に近い距離で移動させて三次元計測することにより、高精度かつ広い範囲でモデリングすることが可能である。3Dスキャナと対象物の距離を近接していくと、投影機(以下、プロジェクタと表現することもある)で投影しているパターンを3Dスキャナ(あるいはさらに3Dスキャナを操作している人や機器)が遮ってしまうことがある。このような場合にはパターンがカメラの影の影響で変わってしまい、特徴点の不一致が発生したり、特徴点の数が減ったりするため三次元計測の精度が低下するという課題がある。
【0010】
特許文献1では、パターンを対象物に投影して三次元計測しているが、カメラが固定されているため、計測できる対象物の範囲が限定されてしまう。例えば、プラント施工中に、プラント内の配管を計測するためには3Dスキャナを移動させて任意の範囲を撮像する必要がある。
(【0011】以降は省略されています)
この特許をJ-PlatPat(特許庁公式サイト)で参照する
関連特許
株式会社日立製作所
放射線モニタ
27日前
株式会社日立製作所
ガス分離システム
1か月前
株式会社日立製作所
電力変換システム
今日
株式会社日立製作所
システム検証方法
15日前
株式会社日立製作所
鉄道車両用空調装置
14日前
株式会社日立製作所
乗降床及び乗客コンベア
13日前
株式会社日立製作所
施設管理装置および方法
今日
株式会社日立製作所
生産ライン設計システム
8日前
株式会社日立製作所
店舗管理装置および方法
15日前
株式会社日立製作所
検索システム及び検索方法
15日前
株式会社日立製作所
飲食店提案装置および方法
15日前
株式会社日立製作所
乗りかご及びエレベーター
15日前
株式会社日立製作所
乗りかご及びエレベーター
16日前
株式会社日立製作所
署名照合システム及び方法
21日前
株式会社日立製作所
データ変換装置および方法
28日前
株式会社日立製作所
膜分離設備設計支援システム
今日
株式会社日立製作所
生体認証装置、生体認証方法
14日前
株式会社日立製作所
ソースコードを生成する方法
8日前
株式会社日立製作所
ソフトエラー率評価システム
1日前
株式会社日立製作所
宇宙機、地上局及びアンテナ
今日
株式会社日立製作所
物体検出装置および物体検出方法
21日前
株式会社日立製作所
スカートモール及び乗客コンベア
今日
株式会社日立製作所
ガス分離システムの劣化診断装置
今日
株式会社日立製作所
立体構造宇宙機及びその制御方法
13日前
株式会社日立製作所
購入関連行動分析装置および方法
14日前
株式会社日立製作所
計算機システム及びデータ送信方法
22日前
株式会社日立製作所
情報処理方法及び情報処理システム
16日前
株式会社日立製作所
テスト支援装置及びテスト支援方法
今日
株式会社日立製作所
単体テスト装置及び単体テスト方法
16日前
株式会社日立製作所
データ処理装置およびデータ処理方法
13日前
株式会社日立製作所
欠陥検査システム、及び欠陥検査方法
今日
株式会社日立製作所
計算機システムおよびアクセス検証方法
13日前
株式会社日立製作所
計算機システム及び構想策定の支援方法
今日
株式会社日立製作所
分析装置、分析システムおよび分析方法
今日
株式会社日立製作所
対話型時系列分析システムおよびその方法
23日前
株式会社日立製作所
農業経営支援装置および農業経営支援方法
13日前
続きを見る
他の特許を見る