TOP
|
特許
|
意匠
|
商標
特許ウォッチ
Twitter
他の特許を見る
10個以上の画像は省略されています。
公開番号
2025169393
公報種別
公開特許公報(A)
公開日
2025-11-12
出願番号
2025136807,2022136927
出願日
2025-08-20,2022-08-30
発明の名称
海洋自然エネルギマルチ発電装置
出願人
株式会社ドクター中松創研
代理人
主分類
F03D
13/25 20160101AFI20251105BHJP(液体用機械または機関;風力原動機,ばね原動機,重力原動機;他類に属さない機械動力または反動推進力を発生するもの)
要約
【課題】海上での風力及び波高及び太陽光やその他再生可能エネルギを発電一体設備として低コストで有効に活用できる海洋自然エネルギマルチ発電装置を提供する。
【解決手段】洋上での発電に於て、風力発電装置に上下可動電磁力を用いた波力発電装置を設け風力と波力のエネルギ発電装置を一体化する。さらに風力発電装置にソーラ発電装置を伸展したフロートの全表面に設け一体化する。洋上での風力及び波力及び太陽光やその他再生可能エネルギを発電一体設備として低コストで有効に活用する。
【選択図】図13
特許請求の範囲
【請求項1】
洋上風力発電に於て、風力による発電及び波動による発電及び太陽光による発電及び温度差発電及び海流発電及び水素製造及び画像表示を一体とし行う事を特徴とする海洋自然エネルギマルチ発電装置。
続きを表示(約 170 文字)
【請求項2】
請求項1において、前記水素製造は、発電した電気を用いて大気の水分又は海水を真水化し還元して生成する事を特徴とする海洋自然エネルギマルチ発電装置。
【請求項3】
請求項1において、前記風力による発電装置のブレード及びタワー表面にソーラフィルムを設ける事を特徴とする海洋自然エネルギマルチ発電装置。
発明の詳細な説明
【技術分野】
【0001】
本発明は、海上での風力及び波高及び太陽光を利用する発電装置に関する。
続きを表示(約 2,200 文字)
【背景技術】
【0002】
CO2の排出を低減する活動が、活発化している現在、自然エネルギ(再生可能エネルギ)を活用して、発電する事が広く行われている。変換効率は、例えば、ソーラ発電20%、バイオマス発電約20%、地熱発電10~20%、風力発電20~40%であり、風力発電は、高効率であり、国内外で精力的に開発が行われている。
【先行技術文献】
【特許文献】
【0003】
特開2016-056705号公報
【発明の概要】
【発明が解決しようとする課題】
【0004】
技術文献1は、本願出願人が発明者である、風力とソーラ発電を複合して行う装置であるが、ソーラ発電は非常に少量であるので、内部機器電源供給程度で自然エネルギ活用した発電と迄はいかず、風力発電を地上に設置する場合、風が強くかつ人里離れた場所に設置し騒音等の問題が起らぬ様に配慮する必要があり場所的な制限が大きい。そこで、海上に風力発電装置を設けようとすると、広大な場所は確保できるが、基礎工事、設置工事、海底ケーブル、洋上変電所等付帯設備、メンテナンスも含めて、膨大な建設費がかかる。
そして、海上で発電するにあたり、その他の自然エネルギを得る事は容易であるにもかかわらず、風のみを用いる事は、自然の利用効率は極めて悪い。海上にて活用していない自然エネルギが多いのである。
海上での風力及び波高及び太陽光やその他再生可能エネルギを発電一体設備として低コストで有効に活用することが本発明解決しようとする課題である。
【課題を解決するための手段】
【0005】
本課題を解決す手段は、
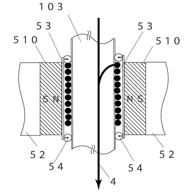
洋上での発電に於て、風力発電装置に上下可動電磁力を用いた波力発電装置を設け風と波のエネルギを一体、及び/又は風力発電装置に光発電装置(ソーラ)を伸展したフロートの全表面に設け一体、として発電する装置である。
また、さらに、潮流、太陽光、水温差を利用した発電装置も一体とするものである。
【発明の効果】
【0006】
1.洋上の自然エネルギを非常に効率よく電気エネルギとする一石二鳥の効果があり、従来の風力発電より電気単価を下げる事が出来る。
2.従来供給している火力発電等のCO2排出設備を削減でき環境改善となる。
3.風が無いときでも、波動にて発電を継続して可能である。
4.波高が高くなく穏やかな海面の時でも、太陽光にて発電を継続して可能である。
5.潮の干満や潮流による海水の流れで発電を追加する事で、季節による風、太陽光、等の変動によらずに安定して電気を製造できる。
【図面の簡単な説明】
【0007】
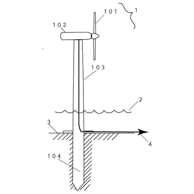
公知の方法で有って、着床式の風力発電装置である。
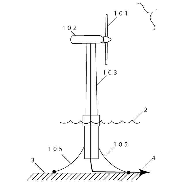
公知の方法で有って、浮体式の風力発電装置である。
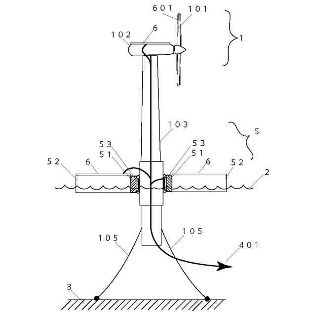
本発明第1実施例の全体を示す図である。
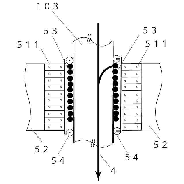
本発明第1実施例の波力による発電部分を示す断面図である。
本発明第2実施例の波力による発電部分を示す断面図である。
本発明第3実施例を示す図である。
本発明第4実施例を示す図である。
本発明第5実施例を示す、ナセル102及びブレード101の側面及び正面図である。
本発明第6実施例を示す図である。
本発明第7実施例を示す図である。
本発明第7実施例でブレードの残像広告の例を示す図である。
本発明第8実施例を示す図である。
本発明第9実施例を示す図である。
【発明を実施するための形態】
【0008】
以下、本発明の実施形態について、図面を参照しながら説明する。
【0009】
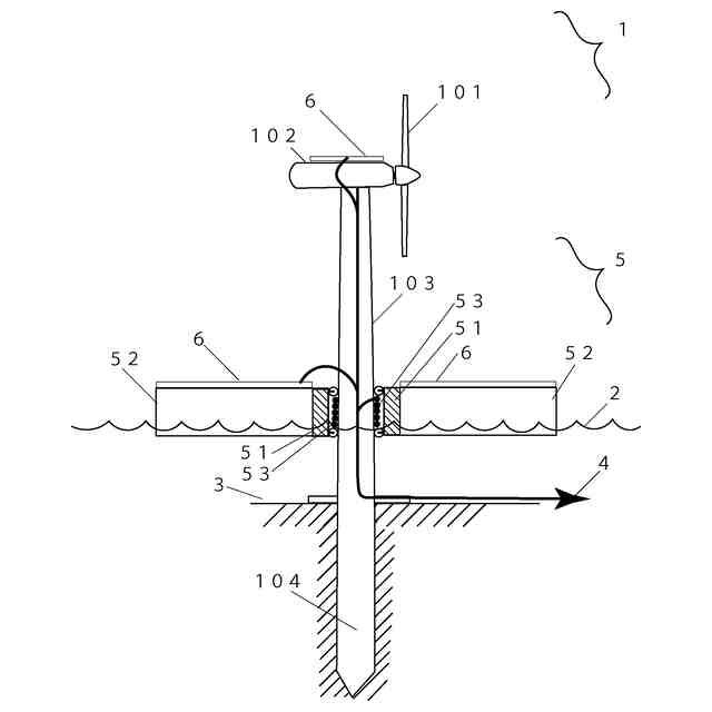
図1、図2は、公知の海洋での風力発電装置を示す。
図1は、着床式の風力発電装置1で有って、海底3に基礎部分104を設け、海上2より発電用のタワー103を突出させ、上端に風車101を取り付けた発電設備を有するナセル102を設ける。発電した電気はタワー103内をとおって、海底地下ケーブル4にて陸上受電可能な場所まで送電される。
着床式の風力発電装置1は、海が深いところでは用いられず、遠浅の海岸線に近い部分に設置(例えば水深0~60m)されることとなる。風力発電装置としては、海岸に近いので、外洋の様な強い風でもないのでせっかく建設された基礎土台やインフラ設備は風力活用のみに利用されるのは、非常に効率が悪く、波や太陽光やそのほかの自然に得る事が出来るエネルギ源を効率的にどう用いるかが課題となる。
【0010】
図2は、浮体式の風力発電装置1で有って、タワー103はワイヤー等タワー固定具105にて海底3固定又は漂流させる。本方式は、ある程度深度がある海(例えば水深60m以上)でも用いられる。
海上の深度がある外洋の海岸より遠い場所の程、風力は強く風力発電が有効であるが、逆に海底送電線が数十キロにも及ぶこととなりメンテナンスの難しさやコスト的も課題がある。そして、波や太陽光やそのほかの自然に得る事が出来るエネルギ源を同時に用いる場合は、コストを抑え、シンプルでメンテナンスが容易な構造とする事が課題となる。
(【0011】以降は省略されています)
この特許をJ-PlatPat(特許庁公式サイト)で参照する
関連特許
個人
風力発電機
3か月前
個人
小水力発電器
1か月前
個人
磁力スロープ
3か月前
個人
波力発電装置
3か月前
個人
風車用回転翼
3か月前
個人
サボニウス風車
1か月前
個人
折り畳み式風車
3か月前
個人
閉空間推進移動装置
2か月前
個人
風力発電装置
2か月前
東レ株式会社
風車ブレード
2か月前
個人
水力発電用水の循環活動
1か月前
Orbray株式会社
発電装置
10日前
個人
波受け板を用いた波浪発電装置
1か月前
株式会社 林物産発明研究所
発電装置
1か月前
個人
岸壁などに設置する波力発電装置
27日前
個人
水車発電と水の循環供給装置
2か月前
株式会社ゲットクリーンエナジー
発電機
2か月前
株式会社ライトエンジ
推力発生方法
1か月前
株式会社リコー
水力発電装置
3か月前
三菱電機株式会社
風力発電システム
1か月前
個人
上下運動を回転運動に変換する装置。
21日前
株式会社アイシン
発電装置
3か月前
株式会社アイシン
発電装置
2か月前
株式会社大林組
リフトアップ装置
2か月前
株式会社大林組
リフトアップ装置
2か月前
株式会社酉島製作所
多段式流体機械
18日前
個人
波力発電ユニット及び波力発電システム
2か月前
三菱重工業株式会社
風力発電装置
1か月前
日本精工株式会社
風力発電装置
4か月前
パナテックス株式会社
発電装置
2か月前
株式会社大林組
リフトアップ装置の制御装置
18日前
ダイキン工業株式会社
流体機械
1か月前
日本精工株式会社
風力発電装置
3か月前
株式会社日本海洋発電
海流発電システム
3か月前
株式会社リアムウィンド
流体発電装置及び流体発電方法
2か月前
合同会社DARRIEUS
可変ピッチ機構及び発電装置
26日前
続きを見る
他の特許を見る